LEMON Manuals: Even more car manuals for everyone: 1960-2025
Home >> Lexus >> 2022 >> LX 600 Base >> Repair and Diagnosis >> Engine Performance >> Engine Control Systems >> Engine Control System - Service Information >> Mass Air Flow Meter >> Inspection [12/2021 - ] >> Procedure
April 5, 2026: LEMON Manuals is launched! Read the announcement.

Inspection [12/2021 - ]: Procedure

  1. INSPECT INTAKE MASS AIR FLOW METER SUB-ASSEMBLY 
    1. Perform a visual check for any foreign matter on the intake air temperature sensor (thermistor) of the intake mass air flow meter sub-assembly shown in the illustration.

      OK

      There is no foreign matter.

      If the result is not as specified, clean the intake air temperature sensor (thermistor).

      GTY828329Courtesy of © TOYOTA, LICENSE AGREEMENT TMS1002
      *a Intake Air Temperature Sensor (Thermistor)
    2. Clean the intake air temperature sensor (thermistor).
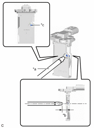
      GTY1042381Courtesy of © TOYOTA, LICENSE AGREEMENT TMS1002
      *a Air Blow Gun
      *b 10 mm (0.394 in.)
      *c Intake Air Temperature Sensor (Thermistor)
      NOTE:
      • Do not contact the intake mass air flow meter sub-assembly with the nozzle of the air blow gun.
      • Do not insert the nozzle of the air blow gun into the intake air temperature sensor (thermistor) area.
      1. Using an air blow gun, clean the intake air temperature sensor (thermistor) area of the intake mass air flow meter sub-assembly by applying approximately 10 intermittent bursts of air to the intake air temperature sensor (thermistor) area at a pressure of approximately 392 to 981 kPa (4.0 to 10.0 kgf/cm2 , 57 to 142 psi).

        HINT: 

        After performing cleaning, read the value of Data List item "MAF Sensor Bank1" and "MAF Sensor Bank2" using the GTS and if the value is not as specified, replace the intake mass air flow meter sub-assembly.

        GTY943463Courtesy of © TOYOTA, LICENSE AGREEMENT TMS1002
        *a Air Blow Duration
        *b 3 to 6 Seconds
        *c 1 Second
        *d Air Blowing
        *e Air Stopped