LEMON Manuals: Even more car manuals for everyone: 1960-2025
Home >> Lexus >> 2022 >> LX 600 Base >> Repair and Diagnosis >> Engine Performance >> Engine Control Systems >> Stop And Start System - Diagnostic Codes (2 Of 2) & Circuit Tests >> Stop And Start System >> Starter Signal Circuit [12/2021 - ] >> Procedure
April 5, 2026: LEMON Manuals is launched! Read the announcement.

Starter Signal Circuit [12/2021 - ]: Procedure

  1. CHECK CRANKING 
    1. Turn the ignition switch START and check that the engine cranks.

      Result

      Result Proceed to
      Engine cranks A
      Engine does not crank B

    Result: 

    See step  15

    Result: 

    See step  2

  2. PERFORM ACTIVE TEST USING GTS (STARTER (HOOD CLOSE)) 
    1. Enter the following menus: Powertrain / Stop and Start / Active Test / Starter (Hood Close).

      Powertrain > Stop and Start > Active Test 

      Tester Display
      Starter (Hood Close)
    2. Check whether the engine cranks while the Active Test "Starter" is being performed.

      HINT: 

      The Active Test "Starter" is stopped automatically 3 seconds after the starter assembly begins operating.

      Standard

      Engine cranks

      Result

      Proceed to
      OK
      NG

    Result: 

    NG 

    See step  14

    Result: 

    OK 

    See step  3

  3. CHECK VEHICLE CONTROL HISTORY (SFI SYSTEM) 
    1. Enter the following menus: Powertrain / Engine / Utility / Vehicle Control History (RoB).

      Powertrain > Engine > Utility 

      Tester Display
      Vehicle Control History (RoB)
    2. Check the vehicle control history (RoB).

      Result

      Result Proceed to
      SFI system Vehicle Control History (RoB) is not output A
      Engine Difficult to Start is output B
      Result other than Engine Difficult to Start is output C

      HINT: 

      • If the value of "Cranking Time" is approximately 1.5 seconds, the stop and start control system or starter system may be malfunctioning.
      • If the value of "Cranking Time" is small (approximately 0.5 seconds or less: the minimum value varies depending on the model), the SFI system may be malfunctioning.
      • The Data List item "Cranking Time" indicates the length of time starter operation is requested by the engine stop and start ECU. If the engine speed exceeds the specified value, the engine stop and start ECU cancels its start request.

    Result: 

    See step  5

    Result: 

    GO TO SFI SYSTEM. Refer to  VEHICLE CONTROL HISTORY (RoB) [12/2021 - ] 

    Result: 

    See step  4

  4. CHECK VEHICLE CONTROL HISTORY (SFI SYSTEM) 
    1. Enter the following menus: Powertrain / Engine / Utility / Vehicle Control History (RoB).

      Powertrain > Engine > Utility 

      Tester Display
      Vehicle Control History (RoB)
    2. Select Engine Difficult to Start from the Vehicle Control History to display the data from the time of control.
    3. Check the output data.

      HINT: 

      • Checking the freeze frame data allows the vehicle conditions at the time of detection to be confirmed.
      • As Vehicle Control History may be overwritten whenever the trigger conditions are met, make sure to save the Vehicle Control History data before performing any inspections.

      Result

      Result Proceed to
      Engine speed does not rise to approximately 300 rpm (Starter does not rotate) A
      Engine speed rises to approximately 300 rpm (Starter rotates) B

    Result: 

    GO TO SFI SYSTEM. Refer to  DIAGNOSTIC TROUBLE CODE CHART [12/2021 - 10/2023]  , or refer to  DIAGNOSTIC TROUBLE CODE CHART [10/2023 - ] 

    Result: 

    See step  5

  5. CHECK VEHICLE CONTROL HISTORY 
    1. Enter the following menus: Powertrain / Stop and Start / Utility / Vehicle Control History (RoB).

      Powertrain > Stop and Start > Utility 

      Tester Display
      Vehicle Control History (RoB)
    2. Select a vehicle control history item to display the data from the time of control.
    3. Check the output data.

      Result

      Tester Display Result Proceed to
      Engine Stall History during Stop&Start (Collision or Battery Voltage Low) Yes A
      Engine Stall History during Engine Starting (Collision) Yes
      Engine Start Fail Yes B
      Vehicle control history item is not output or No is displayed for the results of all of the freeze frame data above

    Result: 

    See step  7

    Result: 

    See step  6

  6. CHECK VEHICLE CONDITION (COLLISION HISTORY) 
    1. Check if the vehicle was in a collision when the engine stalled.

      Result

      Result Proceed to
      Vehicle was in collision when engine stalled A
      Vehicle was not in collision when engine stalled B

      HINT: 

      When "Engine Stall History during Stop&Start (Collision or Battery Voltage Low)" or "Engine Stall History during Engine Starting (Collision)" is stored:

      This may have been stored because the vehicle was in a collision or a collision detection signal was input while stop and start control was operating.

    Result: 

    END (ENGINE STALLED BECAUSE COLLISION DETECTION SIGNAL WAS RECEIVED) 

    Result: 

    GO TO AIRBAG SYSTEM. Refer to  HOW TO PROCEED WITH TROUBLESHOOTING [12/2021 - ] 

  7. CHECK HARNESS AND CONNECTOR (ENGINE STOP AND START ECU - ST NO. 1, ST NO. 2 RELAY) 
    1. Disconnect the engine stop and start ECU connector.
    2. Remove the ST NO. 1 and ST NO. 2 relays from the NO. 2 engine room relay block and junction block assembly.
    3. Disconnect the certification ECU (smart key ECU assembly) connector.
    4. Disconnect the park/neutral position switch assembly connector.
    5. Disconnect the ECM connector.
    6. Measure the resistance according to the value(s) in the table below.

      Standard Resistance

      Tester Connection Condition Specified Condition
      B38-21 (STA) - ST NO. 1 relay terminal 2 Always Below 1 Ω
      B38-23 (STA2) - ST NO. 2 relay terminal 2 Always Below 1 Ω
      B38-21 (STA) - Body ground Always 10 kΩ or higher
      ST NO. 1 relay terminal 2 - Body ground Always 10 kΩ or higher
      B38-23 (STA2) - Body ground Always 10 kΩ or higher
      ST NO. 2 relay terminal 2 - Body ground Always 10 kΩ or higher

      Result

      Proceed to
      OK
      NG

    Result: 

    NG 

    REPAIR OR REPLACE HARNESS OR CONNECTOR 

    Result: 

    OK 

    See step  8

  8. CHECK HARNESS AND CONNECTOR (ST NO. 1, ST NO. 2 RELAY - BODY GROUND) 
    1. Remove the ST NO. 1 and ST NO. 2 relays from the NO. 2 engine room relay block and junction block assembly
    2. Measure the resistance according to the value(s) in the table below.

      Standard Resistance

      Tester Connection Condition Specified Condition
      ST NO. 1 relay terminal 1 - Body ground Always Below 1 Ω
      ST NO. 2 relay terminal 1 - Body ground Always Below 1 Ω

      Result

      Proceed to
      OK
      NG

    Result: 

    NG 

    REPAIR OR REPLACE HARNESS OR CONNECTOR 

    Result: 

    OK 

    See step  9

  9. CHECK HARNESS AND CONNECTOR (ST NO. 1, ST NO. 2 RELAY - BATTERY) 
    1. Remove the ST NO. 1 and ST NO. 2 relays from the NO. 2 engine room relay block and junction block assembly
    2. Measure the voltage according to the value(s) in the table below.
      GTY1074119Courtesy of © TOYOTA, LICENSE AGREEMENT TMS1002
      *1 NO. 2 Engine Room Relay Block and Junction Block Assembly
      *a ST NO. 1 Relay Terminal
      *b ST NO. 2 Relay Terminal

      Standard Voltage

      Tester Connection Condition Specified Condition
      ST NO. 1 relay terminal 5 - Body ground Always 9.5 to 14 V
      ST NO. 2 relay terminal 5 - Body ground Always 9.5 to 14 V

      Result

      Proceed to
      OK
      NG

    Result: 

    NG 

    REPAIR OR REPLACE HARNESS OR CONNECTOR 

    Result: 

    OK 

    See step  10

  10. CHECK HARNESS AND CONNECTOR (STARTER ASSEMBLY - BATTERY) 
    1. Measure the voltage according to the value(s) in the table below.
      GTY1041026Courtesy of © TOYOTA, LICENSE AGREEMENT TMS1002
      *1 Starter Assembly
      *a C188-1 (B)

      Standard Voltage

      Tester Connection Condition Specified Condition
      C188-1 (B) - Body ground Always 9.5 to 14 V
      NOTE:

      Before performing this step, check that the starter assembly connector C188 is not disconnected or loose.

      Result

      Proceed to
      OK
      NG

    Result: 

    NG 

    REPAIR OR REPLACE HARNESS OR CONNECTOR 

    Result: 

    OK 

    See step  11

  11. CHECK HARNESS AND CONNECTOR (ST NO. 1, ST NO. 2 RELAY - STARTER ASSEMBLY) 
    1. Remove the ST NO. 1 and ST NO. 2 relays from the NO. 2 engine room relay block and junction block assembly.
    2. Disconnect the starter assembly connector.
    3. Measure the resistance according to the value(s) in the table below.

      Standard Resistance

      Tester Connection Condition Specified Condition
      ST NO. 1 relay terminal 3 - C52-2 (ST) Always Below 1 Ω
      ST NO. 2 relay terminal 3 - C52-1 (SL2) Always Below 1 Ω

      Result

      Proceed to
      OK
      NG

    Result: 

    NG 

    REPAIR OR REPLACE HARNESS OR CONNECTOR 

    Result: 

    OK 

    See step  12

  12. INSPECT RELAY (ST NO. 1, ST NO. 2 RELAY) 
    1. Inspect the ST NO. 1 relay.

      Refer to PROCEDURE - Step 1

    2. Inspect the ST NO. 2 relay.

      Refer to PROCEDURE - Step 2

      Result

      Proceed to
      OK
      NG

    Result: 

    NG 

    REPLACE RELAY (ST NO. 1, ST NO. 2 RELAY) 

    Result: 

    OK 

    See step  13

  13. INSPECT STARTER ASSEMBLY 
    1. Inspect the starter assembly.

      Refer to INSPECTION [12/2021 - ]

      Result

      Proceed to
      OK
      NG

    Result: 

    OK 

    REPLACE ENGINE STOP AND START ECU 

    Refer to REMOVAL [12/2021 - ]

    HINT: 

    If arriving at this item from the item "Drive command is being sent from the engine stop and start ECU but the starter itself is not moving" of "After Engine Stops due to Stop and Start System, Engine does not Restart" in Stop and Start / Stop and Start System / Problem Symptoms Table, go to SIMULATION METHOD.

    Result: 

    NG 

    REPLACE STARTER ASSEMBLY. Refer to  REMOVAL [12/2021 - ] 

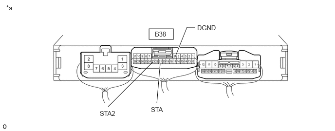
  14. CHECK HARNESS AND CONNECTOR (STA SIGNAL) 
    1. Disconnect the engine stop and start ECU connectors.
      GTY1065973Courtesy of © TOYOTA, LICENSE AGREEMENT TMS1002
      *a Front view of wire harness connector
      (to Engine Stop and Start ECU)
      - -
    2. Measure the voltage according to the value(s) in the table below.

      Refer to TERMINALS OF ECU [12/2021 - ]

      Standard Voltage

      Tester Connection Condition Specified Condition
      B38-21 (STA) - B38-6 (DGND) Cranking commanded via Active Test item Starter (Hood Close) 6 to 14 V

      HINT: 

      The Active Test "Starter" is stopped automatically 3 seconds after the starter assembly begins operating.

      Result

      Proceed to
      OK
      NG

    Result: 

    OK 

    REPAIR OR REPLACE HARNESS OR CONNECTOR (ENGINE STOP AND START ECU - ST NO. 1 RELAY) 

    Result: 

    NG 

    REPLACE ENGINE STOP AND START ECU 

    Refer to REMOVAL [12/2021 - ]

    HINT: 

    If arriving at this item from the item "Drive command is being sent from the engine stop and start ECU but the starter itself is not moving" of "After Engine Stops due to Stop and Start System, Engine does not Restart" in Stop and Start / Stop and Start System / Problem Symptoms Table, go to SIMULATION METHOD.

  15. PERFORM ACTIVE TEST USING GTS (STARTER (HOOD CLOSE)) 
    1. Connect the GTS to the DLC3.
    2. Turn the ignition switch to ON.
    3. Turn the GTS on.
    4. Enter the following menus: Powertrain / Stop and Start / Active Test / Starter (Hood Close).

      Powertrain > Stop and Start > Active Test 

      Tester Display
      Starter (Hood Close)
    5. Check whether the engine cranks while the Active Test "Starter" is being performed.
      NOTE:

      The Active Test "Starter" is stopped automatically 3 seconds after the starter assembly begins operating.

      Standard

      Engine cranks

      Result

      Result Proceed to
      Engine cranks A
      Engine does not crank B

    Result: 

    See step  21

    Result: 

    See step  16

  16. READ VALUE USING GTS (NEUTRAL SWITCH) 
    1. Enter the following menus: Powertrain / Stop and Start / Data List / Neutral Switch.

      Powertrain > Stop and Start > Data List 

      Tester Display
      Neutral Switch
    2. In accordance with the display on the GTS, read the Data List.

      OK

      Tester Display Condition Normal Condition
      Neutral Switch Shift lever in P or N ON
      Shift lever not in P or N OFF

      Result

      Proceed to
      OK
      NG

    Result: 

    NG 

    See step  19

    Result: 

    OK 

    See step  17

  17. CHECK HARNESS AND CONNECTOR (CERTIFICATION ECU (SMART KEY ECU ASSEMBLY) - ENGINE STOP AND START ECU, PARK/NEUTRAL POSITION SWITCH ASSEMBLY) 
    1. Disconnect the park/neutral position switch assembly connector.
    2. Disconnect the certification ECU (smart key ECU assembly) connector.
    3. Disconnect the engine stop and start ECU connector.
    4. Measure the resistance according to the value(s) in the table below.

      Standard Resistance

      Tester Connection Condition Specified Condition
      I40-10 (STAR) - B38-17 (CLL) Always Below 1 Ω
      I40-10 (STAR) - C34-4 (B) Always Below 1 Ω
      I40-10 (STAR) - Body ground Always 10 kΩ or higher
      B38-17 (CLL) - Body ground Always 10 kΩ or higher
      C34-4 (B) - Body ground Always 10 kΩ or higher

      Result

      Proceed to
      OK
      NG

    Result: 

    NG 

    REPAIR OR REPLACE HARNESS OR CONNECTOR 

    Result: 

    OK 

    See step  18

  18. CHECK CERTIFICATION ECU (SMART KEY ECU ASSEMBLY) (STAR SIGNAL) 
    1. Disconnect the engine stop and start ECU connector.
    2. Measure the voltage according to the value(s) in the table below.

      Standard Voltage

      Tester Connection Condition Specified Condition
      B38-17 (CLL) - Body ground Engine started using ignition switch (ignition switch turned to START) 9.5 to 14 V

      Result

      Proceed to
      OK
      NG

    Result: 

    OK 

    SIMULATION METHOD TO CHECK. Refer to  HOW TO PROCEED WITH TROUBLESHOOTING [12/2021 - ] 

    Result: 

    NG 

    GO TO SMART ENTRY AND START SYSTEM. Refer to  HOW TO PROCEED WITH TROUBLESHOOTING [12/2021 - ] 

  19. INSPECT PARK/NEUTRAL POSITION SWITCH ASSEMBLY 
    1. Inspect the park/neutral position switch assembly.

      Refer to INSPECTION [12/2021 - ]

      Result

      Proceed to
      OK
      NG

    Result: 

    NG 

    REPLACE PARK/NEUTRAL POSITION SWITCH ASSEMBLY. Refer to  REMOVAL [12/2021 - ] 

    Result: 

    OK 

    See step  20

  20. CHECK HARNESS AND CONNECTOR (CERTIFICATION ECU (SMART KEY ECU ASSEMBLY) - ST NO. 1 RELAY) 
    1. Disconnect the certification ECU (smart key ECU assembly) connector.
    2. Remove the ST NO. 1 relay from the NO. 2 engine room relay block and junction block assembly.
    3. Measure the resistance according to the value(s) in the table below.

      Standard Resistance

      Tester Connection Condition Specified Condition
      I40-10 (STAR) - ST NO. 1 relay terminal 2 Shift lever in P or N Below 1 Ω
      Shift lever not in P or N 10 kΩ or higher

      Result

      Proceed to
      OK
      NG

    Result: 

    OK 

    REPLACE ENGINE STOP AND START ECU 

    Refer to REMOVAL [12/2021 - ]

    HINT: 

    If arriving at this item from the item "Drive command is being sent from the engine stop and start ECU but the starter itself is not moving" of "After Engine Stops due to Stop and Start System, Engine does not Restart" in Stop and Start / Stop and Start System / Problem Symptoms Table, go to SIMULATION METHOD.

    Result: 

    NG 

    REPAIR OR REPLACE HARNESS OR CONNECTOR 

  21. CHECK ENGINE STOP AND START ECU (STA, STA2 SIGNAL) 
    1. Connect an oscilloscope to the STA, STA2 and DGND terminals of the engine stop and start ECU connector.
      GTY1074633Courtesy of © TOYOTA, LICENSE AGREEMENT TMS1002
      *a Component with harness connected
      (Engine Stop and Start ECU)
      - -
    2. Check the waveform immediately after turning the ignition switch to START.
      GTY1052381Courtesy of © TOYOTA, LICENSE AGREEMENT TMS1002
      Item Condition
      Tester Connection B38-21 (STA) - B38-6 (DGND)
      B38-23 (STA2) - B38-6 (DGND)
      Condition Engine started by ignition switch operation

      Result

      Result Proceed to
      Delay between ST NO. 1 relay turning on and ST NO. 2 relay turning on: between 0.03 and 0.06 seconds A
      Delay between ST NO. 1 relay turning on and ST NO. 2 relay turning on: not between 0.03 and 0.06 seconds B
      ST NO. 1 relay turns on and ST NO. 2 relay does not turn on C
      ST NO. 1 relay and ST NO. 2 relay do not turn on D
      NOTE:

      After replacing the engine stop and start ECU, make sure that the drive plate and ring gear sub-assembly and starter pinion gear are not excessively worn. A malfunction in the delay circuit may cause the drive plate and ring gear sub-assembly or starter pinion gear to be worn or damaged.

    Result: 

    REPLACE ENGINE STOP AND START ECU 

    Refer to REMOVAL [12/2021 - ]

    HINT: 

    If arriving at this item from the item "Drive command is being sent from the engine stop and start ECU but the starter itself is not moving" of "After Engine Stops due to Stop and Start System, Engine does not Restart" in Stop and Start / Stop and Start System / Problem Symptoms Table, go to SIMULATION METHOD.

    Result: 

    See step  30

    Result: 

    See step  32

    Result: 

    See step  22

  22. INSPECT RELAY (ST NO. 1, ST NO. 2 RELAY) 
    1. Inspect the ST NO. 1 relay.

      Refer to PROCEDURE - Step 1

    2. Inspect the ST NO. 2 relay.

      Refer to PROCEDURE - Step 2

      Result

      Proceed to
      OK
      NG

    Result: 

    NG 

    REPLACE RELAY (ST NO. 1, ST NO. 2 RELAY) 

    Result: 

    OK 

    See step  23

  23. CHECK HARNESS AND CONNECTOR (ST NO. 1, ST NO. 2 RELAY - BATTERY) 
    1. Remove the ST NO. 1 and ST NO. 2 relays from the NO. 2 engine room relay block and junction block assembly.
      GTY1074119Courtesy of © TOYOTA, LICENSE AGREEMENT TMS1002
      *1 NO. 2 Engine Room Relay Block and Junction Block Assembly
      *a ST NO. 1 Relay Terminal
      *b ST NO. 2 Relay Terminal
    2. Measure the voltage according to the value(s) in the table below.

      Standard Voltage

      Tester Connection Condition Specified Condition
      ST NO. 1 relay terminal 5 - Body ground Always 9.5 to 14 V
      ST NO. 2 relay terminal 5 - Body ground Always 9.5 to 14 V

      Result

      Proceed to
      OK
      NG

    Result: 

    NG 

    REPAIR OR REPLACE HARNESS OR CONNECTOR 

    Result: 

    OK 

    See step  24

  24. CHECK HARNESS AND CONNECTOR (ST NO. 1, ST NO. 2 RELAY - STARTER ASSEMBLY) 
    1. Remove the ST NO. 1 and ST NO. 2 relays from the NO. 2 engine room relay block and junction block assembly.
    2. Disconnect the starter assembly connector.
    3. Measure the resistance according to the value(s) in the table below.

      Standard Resistance

      Tester Connection Condition Specified Condition
      ST NO. 1 relay terminal 3 - C52-2 (ST) Always Below 1 Ω
      ST NO. 2 relay terminal 3 - C52-1 (SL2) Always Below 1 Ω

      Result

      Proceed to
      OK
      NG

    Result: 

    NG 

    REPAIR OR REPLACE HARNESS OR CONNECTOR 

    Result: 

    OK 

    See step  25

  25. CHECK HARNESS AND CONNECTOR (ST NO. 1 RELAY - BODY GROUND) 
    1. Remove the ST NO. 1 relays from the NO. 2 engine room relay block and junction block assembly.
    2. Measure the resistance according to the value(s) in the table below.

      Standard Resistance

      Tester Connection Condition Specified Condition
      ST NO. 1 relay terminal 1 - Body ground Always Below 1 Ω

      Result

      Proceed to
      OK
      NG

    Result: 

    NG 

    REPAIR OR REPLACE HARNESS OR CONNECTOR 

    Result: 

    OK 

    See step  26

  26. CHECK HARNESS AND CONNECTOR (ST NO. 2 RELAY - BODY GROUND) 
    1. Remove the ST NO. 2 relay from the NO. 2 engine room relay block and junction block assembly.
    2. Measure the resistance according to the value(s) in the table below.

      Standard Resistance

      Tester Connection Condition Specified Condition
      ST NO. 2 relay terminal 1 - Body ground Always Below 1 Ω

      Result

      Proceed to
      OK
      NG

    Result: 

    NG 

    REPAIR OR REPLACE HARNESS OR CONNECTOR 

    Result: 

    OK 

    See step  27

  27. CHECK HARNESS AND CONNECTOR (ENGINE STOP AND START ECU - ST NO. 1 RELAY) 
    1. Disconnect the certification ECU (smart key ECU assembly) connector.
    2. Disconnect the park/neutral position switch assembly connector.
    3. Disconnect the engine stop and start ECU connector.
    4. Remove the ST NO. 1 relay from the NO. 2 engine room relay block and junction block assembly.
    5. Measure the resistance according to the value(s) in the table below.

      Standard Resistance

      Tester Connection Condition Specified Condition
      B38-21 (STA) - ST NO. 1 relay terminal 2 Always Below 1 Ω
      B38-21 (STA) - Body ground Always 10 kΩ or higher
      ST NO. 1 relay terminal 2 - Body ground Always 10 kΩ or higher

      Result

      Proceed to
      OK
      NG

    Result: 

    NG 

    REPAIR OR REPLACE HARNESS OR CONNECTOR 

    Result: 

    OK 

    See step  28

  28. CHECK HARNESS AND CONNECTOR (ENGINE STOP AND START ECU - ST NO. 2 RELAY) 
    1. Disconnect the ECM connector.
    2. Disconnect the engine stop and start ECU connector.
    3. Remove the ST NO. 2 relay from the NO. 2 engine room relay block and junction block assembly.
    4. Measure the resistance according to the value(s) in the table below.

      Standard Resistance

      Tester Connection Condition Specified Condition
      B38-23 (STA2) - ST NO. 2 relay terminal 2 Always Below 1 Ω
      B38-23 (STA2) - Body ground Always 10 kΩ or higher
      ST NO. 2 relay terminal 2 - Body ground Always 10 kΩ or higher

      Result

      Proceed to
      OK
      NG

    Result: 

    NG 

    REPAIR OR REPLACE HARNESS OR CONNECTOR 

    Result: 

    OK 

    See step  29

  29. INSPECT STARTER ASSEMBLY 
    1. Inspect the starter assembly.

      Refer to INSPECTION [12/2021 - ]

      Result

      Proceed to
      OK
      NG

    Result: 

    OK 

    SIMULATION METHOD TO CHECK. Refer to  HOW TO PROCEED WITH TROUBLESHOOTING [12/2021 - ] 

    Result: 

    NG 

    REPLACE STARTER ASSEMBLY. Refer to  REMOVAL [12/2021 - ] 

  30. CHECK HARNESS AND CONNECTOR (ENGINE STOP AND START ECU POWER SOURCE CIRCUIT) 
    1. Disconnect the engine stop and start ECU connectors.
    2. Measure the voltage according to the value(s) in the table below.

      Standard Voltage

      Tester Connection Condition Specified Condition
      B37-1 (BIN2) - Body ground Always 9.5 to 14 V
      B37-3 (BIN1) - Body ground Always 9.5 to 14 V
    3. Turn the ignition switch to ON.
    4. Measure the voltage according to the value(s) in the table below.

      Standard Voltage

      Tester Connection Condition Specified Condition
      B38-1 (+B) - Body ground Ignition switch ON 9.5 to 14 V
      I57-21 (IGR) - Body ground Ignition switch ON 9.5 to 14 V
      I57-18 (IGP) - Body ground Ignition switch ON 9.5 to 14 V

      Result

      Proceed to
      OK
      NG

    Result: 

    NG 

    REPAIR OR REPLACE HARNESS OR CONNECTOR 

    Result: 

    OK 

    See step  31

  31. CHECK HARNESS AND CONNECTOR (ENGINE STOP AND START ECU - BODY GROUND) 
    1. Disconnect the engine stop and start ECU connectors.
    2. Measure the resistance according to the value(s) in the table below.

      Standard Resistance

      Tester Connection Condition Specified Condition
      B37-2 (GND2) - Body ground Always Below 1 Ω
      B37-8 (GND1) - Body ground Always Below 1 Ω
      B38-6 (DGND) - Body ground Always Below 1 Ω

      Result

      Proceed to
      OK
      NG

    Result: 

    OK 

    REPLACE ENGINE STOP AND START ECU 

    Refer to REMOVAL [12/2021 - ]

    HINT: 

    If arriving at this item from the item "Drive command is being sent from the engine stop and start ECU but the starter itself is not moving" of "After Engine Stops due to Stop and Start System, Engine does not Restart" in Stop and Start / Stop and Start System / Problem Symptoms Table, go to SIMULATION METHOD.

    Result: 

    NG 

    REPAIR OR REPLACE HARNESS OR CONNECTOR 

  32. CHECK HARNESS AND CONNECTOR (ST NO. 1, ST NO. 2 RELAY - ENGINE STOP AND START ECU) 
    1. Remove the ST NO. 1 and ST NO. 2 relays from the NO. 2 engine room relay block and junction block assembly.
    2. Disconnect the certification ECU (smart key ECU assembly) connector.
    3. Disconnect the engine stop and start ECU connector.
    4. Disconnect the park/neutral position switch assembly connector.
    5. Disconnect the ECM connector.
    6. Measure the resistance according to the value(s) in the table below.

      Standard Resistance

      Tester Connection Condition Specified Condition
      B38-21 (STA) - ST NO. 1 relay terminal 2 Always Below 1 Ω
      B38-23 (STA2) - ST NO. 2 relay terminal 2 Always Below 1 Ω
      B38-21 (STA) - Body ground Always 10 kΩ or higher
      B38-23 (STA2) - Body ground Always 10 kΩ or higher
      ST NO. 1 relay terminal 2 - Body ground Always 10 kΩ or higher
      ST NO. 2 relay terminal 2 - Body ground Always 10 kΩ or higher

      Result

      Proceed to
      OK
      NG

    Result: 

    OK 

    REPLACE ENGINE STOP AND START ECU 

    Refer to REMOVAL [12/2021 - ]

    HINT: 

    If arriving at this item from the item "Drive command is being sent from the engine stop and start ECU but the starter itself is not moving" of "After Engine Stops due to Stop and Start System, Engine does not Restart" in Stop and Start / Stop and Start System / Problem Symptoms Table, go to SIMULATION METHOD.

    Result: 

    NG 

    REPAIR OR REPLACE HARNESS OR CONNECTOR