LEMON Manuals: Even more car manuals for everyone: 1960-2025
Home >> Lexus >> 2022 >> NX 350h >> Repair and Diagnosis >> External Pages >> Different car >> Section 12 (Smart Access System (For Start) - Diagnostics - Introduction) >> SMART ACCESS SYSTEM WITH PUSH-BUTTON START (for Start Function, Gasoline Model) >> Operation Check [03/2023 - ] >> Operation Check [03/2023 - ]
April 5, 2026: LEMON Manuals is launched! Read the announcement.

Operation Check [03/2023 - ]

WARNING: This page does not describe the selected car, but rather 8 other vehicles, including the 2025 Lexus NX 350, 2025 Lexus NX 250, 2024 Lexus NX 350, 2024 Lexus NX 250, and 2023 Lexus NX 350. However, it is still accessible from the selected car via links, so may be relevant.
  1. CHECK CUSTOMIZE PARAMETERS 
    1. The operation check below is based on the non-customized initial condition of the vehicle. (However, make sure that "ACC Customize" is set to "ON" using the multi-display.)

      Refer to CUSTOMIZE PARAMETERS [11/2021 - ] 

  2. CHECK PUSH-BUTTON START FUNCTION 
    1. Check the push-button start function:
      1. Get into the vehicle while carrying the electrical key transmitter sub-assembly with the ignition switch off. With the shift position in P, check that the key indicator display is displayed when the brake pedal is depressed. Check that the engine starts when the engine switch is pressed after the key indicator display is displayed on the multi-information display.
      2. While carrying the electrical key transmitter sub-assembly, check that the power source mode changes in the following order when the engine switch is pressed with the brake pedal released: off → ACC* → ON → off.
        1. *: When "ACC Customize" is set to "ON" using the multi-display

        HINT: 

        If the engine switch is pressed with the ignition switch ON and the shift position not in P, the power source mode will change to off, and shift position will change to P.

      3. Check the push-button start function operation range for the front side. Place the electrical key transmitter sub-assembly at either inspection point so that it is facing the direction shown in the illustration, and then check that the engine can be started.
        NOTE:

        Even if the electrical key transmitter sub-assembly is in a vehicle interior detection area, it may not be properly detected if it is on the instrument panel, in the glove box or on the floor.

        HINT: 

        • Communication may not be possible if the electrical key transmitter sub-assembly is within 0.2 m (0.656 ft.) of the No. 1 indoor electrical key antenna assembly (front floor).

          Refer to PARTS LOCATION [03/2023 - ] 

        • Perform this inspection for both inspection points.
        GTY1082068Courtesy of © TOYOTA, LICENSE AGREEMENT TMS1002
        *a Electrical Key Transmitter Sub-assembly Inspection Point

        The illustrations shown are examples only.

      4. Check the push-button start function operation range for the rear side. Place the electrical key transmitter sub-assembly at either inspection point so that it is facing the direction shown in the illustration, and then check that the engine can be started.
        NOTE:

        Even if the electrical key transmitter sub-assembly is in a vehicle interior detection area, it may not be properly detected if it is on the instrument panel, in the glove box or on the floor.

        HINT: 

        • Communication may not be possible if the electrical key transmitter sub-assembly is within 0.2 m (0.656 ft.) of the center of the No. 2 indoor electrical key antenna assembly (rear floor).

          Refer to PARTS LOCATION [03/2023 - ] 

        • Perform this inspection for both inspection points.
        GTY1082382Courtesy of © TOYOTA, LICENSE AGREEMENT TMS1002
        *a Electrical Key Transmitter Sub-assembly Inspection Point

        The illustrations shown are examples only.

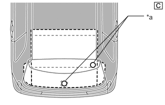
      5. Check the push-button start function operation range for the luggage compartment. Place the electrical key transmitter sub-assembly at either inspection point so that it is facing the direction shown in the illustration, and then check that the engine can be started.
        NOTE:

        Even if the electrical key transmitter sub-assembly is in a vehicle interior detection area, it may not be properly detected if it is on the instrument panel, in the glove box or on the floor.

        HINT: 

        • Communication may not be possible if the electrical key transmitter sub-assembly is within 0.2 m (0.656 ft.) of the center of the No. 3 indoor electrical key antenna assembly (inside luggage compartment).

          Refer to PARTS LOCATION [03/2023 - ] 

        • Perform this inspection for both inspection points.
        GTY1082472Courtesy of © TOYOTA, LICENSE AGREEMENT TMS1002
        *a Electrical Key Transmitter Sub-assembly Inspection Point

        The illustrations shown are examples only.

  3. CHECK POWER SOURCE MODE CHANGING FUNCTION 
    NOTE:
    • When "ACC customize" is set to "OFF" using the multi-display, ACC supply power can be disabled.

      Refer to CUSTOMIZE PARAMETERS [11/2021 - ] 

    • When "ACC Customize" is set to "OFF" using the multi-display, make sure to return the setting to its original state after completing the inspection.
    1. Check the engine switch. (ACC customize "ON")
      1. Check that the power source mode changes according to the chart below.
        Shift Position Brake Pedal Power Source Mode when Engine Switch Pressed
        P Released Off → ACC → ON → off
        P Released Engine running → off
        P Depressed Off → engine starts
        P Depressed ACC → engine starts
        P Depressed ON → engine starts
        P Depressed Engine running → off
        Not P Released ON → off
        Not P Released Engine running → off
        Not P Depressed ON → off
        Not P Depressed Engine running → off
    2. Check the engine switch. (ACC customize "OFF")
      1. Check that the power source mode changes according to the chart below.
        Shift Position Brake Pedal Power Source Mode when Engine Switch Pressed
        P Released Off → ON → off
        P Released Engine running → off
        P Depressed Off → engine starts
        P Depressed ON → engine starts
        P Depressed Engine running → off
        Not P Released ON → off
        Not P Released Engine running → off
        Not P Depressed ON → off
        Not P Depressed Engine running → off
  4. CHECK +BA POWER SOURCE MODE CHANGING FUNCTION 
    1. Check the +BA power source:
      1. With all of the doors closed, lock the doors using the entry lock function or wireless function.
      2. After 3 minutes or more have elapsed, unlock the doors using the entry lock function or wireless function.
      3. Open the driver door, enter the vehicle and close the driver door.
      4. Check that the multi-information display in the combination meter assembly starts up.
      5. Operate the multimedia switch and check that the multi display starts.
  5. CHECK TRANSMITTER BATTERY SAVING MODE FUNCTION 
    1. Check the transmitter battery saving mode function:
      1. Press the unlock switch of the electrical key transmitter sub-assembly twice while pressing the lock switch and check that the electrical key transmitter sub-assembly LED blinks 4 times and enters transmitter battery saving mode.
      2. Check that the smart access system with push-button start does not operate while in transmitter battery saving mode.

        HINT: 

        To cancel transmitter battery saving mode, press a switch of the electrical key transmitter sub-assembly.

  6. CHECK ENTRY CANCEL FUNCTION 
    1. Disable the smart access system with push-button start and check that all functions of the smart access system with push-button start no longer operate.

      Refer to CUSTOMIZE PARAMETERS [11/2021 - ]

      HINT: 

      When the smart access system with push-button start is disabled, it is possible to lock and unlock the doors with the wireless function, and the engine can be started by holding the electrical key transmitter sub-assembly near the engine switch.

  7. CHECK KEY DIAGNOSTIC MODE 

    Refer to OPERATION CHECK [11/2021 - ]