LEMON Manuals: Even more car manuals for everyone: 1960-2025
Home >> Lexus >> 2022 >> RC F Base >> Repair and Diagnosis >> Accessories & Equipment >> Drivers Assistance Systems - ADAS >> Intuitive Parking Assist System - Diagnostics - Introduction >> Intuitive Parking Assist System >> Operation Check [03/2019 - ] >> Operation Check [03/2019 - ]
April 5, 2026: LEMON Manuals is launched! Read the announcement.

Operation Check [03/2019 - ]

  1. Self-diagnosis System 
    1. If the clearance warning ECU assembly detects that an ultrasonic sensor is malfunctioning, a malfunction indication is displayed on the combination meter assembly.
      Warning Item Multi-information Display Indicator/Meter Buzzer Condition
      Static objects function malfunction Parking Assist Malfunction Visit Your Dealer
      • Clearance sonar OFF indicator: Blinks
      • Master warning indicator: Illuminates
      • Meter buzzer: Sounds
      Ultrasonic sensor dirty, frozen or open circuit Parking Assist Unavailable Clean Parking Assist Sensor
      • Clearance sonar OFF indicator: Blinks
      • Master warning indicator: Illuminates
      • Meter buzzer: Sounds
      Communication malfunction indication Parking Assist Unavailable
      • Clearance sonar OFF indicator: Blinks
      • Master warning indicator: Illuminates
      • Meter buzzer: Sounds
  2. DETECTION RANGE MEASUREMENT AND DISPLAY INSPECTION 
    NOTE:

    Perform the following measurement and inspection with the shift lever in a position other than P. Be sure to apply the parking lever and depress the brake pedal firmly to prevent the vehicle from moving.

    1. Turn the engine switch on (IG).
    2. Turn the back sonar or clearance sonar switch assembly on.
    3. Detection range measurement:
      1. Move the shift lever according to the table below.
        Measurement Area Shift Lever Position
        Front Corner In any position other than P
        Rear Corner R
        Rear Center
      2. Move a 60 mm (2.4 in.) diameter pole near each sensor to measure its detection range. When measuring the longest-range detection of the rear center sonar, use a wall or equivalent.
        NOTE:

        These detection ranges are applicable when positioning the 60 mm (2.4 in.) diameter pole parallel or perpendicular to the ground. The detection range varies depending on the measuring method and type of obstacle (such as walls).

        HINT: 

        Have an assistant move the pole.

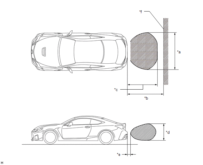
        Corner Sonar Detection Range 

        GTY961703Courtesy of © TOYOTA, LICENSE AGREEMENT TMS1002
        *a Approx. 1000 mm (39.4 in.) *b Approx. 950 mm (37.4 in.)
        *c Approx. 700 mm (27.6 in.) *d Approx. 600 mm (23.6 in.)
        *e Approx. 600 mm (23.6 in.) *f Approx. 200 mm (7.9 in.)
        NOTE:

        The No. 1 ultrasonic sensor side view detection range (hatched area labeled (B)) represents the cross section of the top view detection range (A). The hatched area (B) does not represent the entire side view detection range.

        Rear Center Sonar Detection Range 

        GTY961039Courtesy of © TOYOTA, LICENSE AGREEMENT TMS1002
        *a Approx. 1800 mm (70.9 in.) *b Approx. 1500 mm (59.1 in.)
        *c Approx. 1350 mm (53.1 in.) *d Approx. 600 mm (23.6 in.)
        *e Approx. 200 mm (7.9 in.) *f Wall
    4. Front corner sonar display and buzzer operation check
      1. When the No. 1 ultrasonic sensors (front corner sonar) have detected an obstacle, check the displays and check that the buzzer sounds.
        OPERATION CONDITION

        Engine Switch Back Sonar or Clearance Sonar Switch Assembly Shift Lever Position Vehicle Speed
        On (IG) On In any position other than P
        • Less than approximately 15 km/h (9 mph) if speed is increasing
        • Less than approximately 10 km/h (6 mph) if speed is decreasing
        On (IG) On R -
        GTY961448Courtesy of © TOYOTA, LICENSE AGREEMENT TMS1002
        *a Multi-information Display *b Multi-display
        *c Example (Front Corner Sonar) *d Close-range Detection
        *e Medium-range Detection *f Long-range Detection
        GTY958996Courtesy of © TOYOTA, LICENSE AGREEMENT TMS1002
        *a Approx. 0.1 sec. *b Approx. 0.2 sec.

        Standard

        MULTI-INFORMATION DISPLAY AND BUZZER

        Detection Range During Judgment Obstacle
        Close-range detection
        Within approx. 300 +/- 30 mm (11.8 +/- 1.18 in.)
        Buzzer: Sounds continuously
        Number of bars displayed: 1 (blinking)
        60 mm (2.4 in.) diameter pole
        Medium-range detection
        From approx. 300 +/- 30 to 500 +/- 50 mm (11.8 +/- 1.18 to 19.7 +/- 1.97 in.)
        Buzzer: Sounds intermittently (ON: 0.075 sec. / OFF: 0.075 sec.)
        Number of bars displayed: 2 (illuminated)
        60 mm (2.4 in.) diameter pole
        Long-range detection
        From approx. 500 +/- 50 to 700 +/- 70 mm (19.7 +/- 1.97 to 27.6 +/- 2.76 in.)
        Buzzer: Sounds intermittently (ON: 0.15 sec. / OFF: 0.15 sec.)
        Number of bars displayed: 3 (illuminated)
        60 mm (2.4 in.) diameter pole
        MULTI-DISPLAY AND BUZZER

        Detection Range During Judgment Obstacle
        Close-range detection
        Within approx. 300 +/- 30 mm (11.8 +/- 1.18 in.)
        Buzzer: Sounds continuously
        Color of bars displayed: Red (illuminated)
        60 mm (2.4 in.) diameter pole
        Medium-range detection
        From approx. 300 +/- 30 to 500 +/- 50 mm (11.8 +/- 1.18 to 19.7 +/- 1.97 in.)
        Buzzer: Sounds intermittently (ON: 0.075 sec. / OFF: 0.075 sec.)
        Color of bars displayed: Yellow (blinking)
        60 mm (2.4 in.) diameter pole
        Long-range detection
        From approx. 500 +/- 50 to 700 +/- 70 mm (19.7 +/- 1.97 to 27.6 +/- 2.76 in.)
        Buzzer: Sounds intermittently (ON: 0.15 sec. / OFF: 0.15 sec.)
        Color of bars displayed: Yellow (blinking)
        60 mm (2.4 in.) diameter pole

        HINT: 

        Ultrasonic waves are used to measure the detection range; however, the detection range may vary depending on the ambient temperature.

    5. Rear corner sonar display and buzzer operation check
      1. When the No. 1 ultrasonic sensors (rear corner sonar) have detected an obstacle, check the display and check that the buzzer sounds.
        OPERATION CONDITION

        Engine Switch Back Sonar or Clearance Sonar Switch Assembly Shift Lever Position Vehicle Speed
        On (IG) On R -
        GTY960983Courtesy of © TOYOTA, LICENSE AGREEMENT TMS1002
        *a Multi-information Display *b Multi-display
        *c Example (Rear Corner Sonar) *d Close-range Detection
        *e Medium-range Detection *f Long-range Detection
        GTY959023Courtesy of © TOYOTA, LICENSE AGREEMENT TMS1002
        *a Approx. 0.1 sec. *b Approx. 0.2 sec.

        Standard

        MULTI-INFORMATION DISPLAY AND BUZZER

        Detection Range During Judgment Obstacle
        Close-range detection
        Within approx. 300 +/- 30 mm (11.8 +/- 1.18 in.)
        Buzzer: Sounds continuously
        Number of bars displayed: 1 (blinking)
        60 mm (2.4 in.) diameter pole
        Medium-range detection
        From approx. 300 +/- 30 to 450 +/- 50 mm (11.8 +/- 1.18 to 17.7 +/- 1.97 in.)
        Buzzer: Sounds intermittently (ON: 0.075 sec. / OFF: 0.075 sec.)
        Number of bars displayed: 2 (illuminated)
        60 mm (2.4 in.) diameter pole
        Long-range detection
        From approx. 450 +/- 50 to 600 +/- 60 mm (17.7 +/- 1.97 to 23.6 +/- 2.36 in.)
        Buzzer: Sounds intermittently (ON: 0.15 sec. / OFF: 0.15 sec.)
        Number of bars displayed: 3 (illuminated)
        60 mm (2.4 in.) diameter pole
        MULTI-DISPLAY AND BUZZER

        Detection Range During Detection Obstacle
        Close-range detection
        Within approx. 300 +/- 30 mm (11.8 +/- 1.18 in.)
        Buzzer: Sounds continuously
        Color of bars displayed: Red (illuminated)
        60 mm (2.4 in.) diameter pole
        Medium-range detection
        From approx. 300 +/- 30 to 450 +/- 50 mm (11.8 +/- 1.18 to 17.7 +/- 1.97 in.)
        Buzzer: Sounds intermittently (ON: 0.075 sec. / OFF: 0.075 sec.)
        Color of bars displayed: Yellow (blinking)
        60 mm (2.4 in.) diameter pole
        Long-range detection
        From approx. 450 +/- 50 to 600 +/- 60 mm (17.7 +/- 1.97 to 23.6 +/- 2.36 in.)
        Buzzer: Sounds intermittently (ON: 0.15 sec. / OFF: 0.15 sec.)
        Color of bars displayed: Yellow (blinking)
        60 mm (2.4 in.) diameter pole

        HINT: 

        Ultrasonic waves are used to measure the detection range; however, the detection range may vary depending on the ambient temperature.

    6. Rear center sonar display and buzzer operation check
      1. When the No. 1 ultrasonic sensors (rear center sonar) have detected an obstacle, check the display and check that the buzzer sounds.
        OPERATION CONDITION

        Engine Switch Back Sonar or Clearance Sonar Switch Assembly Shift Lever Position Vehicle Speed
        On (IG) On R -
        GTY961686Courtesy of © TOYOTA, LICENSE AGREEMENT TMS1002
        *a Multi-information Display *b Multi-display
        *c Example (Rear Center Sonar) *d Close-range Detection
        *e Medium-range Detection *f Long-range Detection
        *g Longest-range Detection - -
        GTY958997Courtesy of © TOYOTA, LICENSE AGREEMENT TMS1002
        *a Approx. 0.1 sec. *b Approx. 0.2 sec.
        *c Approx. 0.5 sec. - -

        Standard

        MULTI-INFORMATION DISPLAY AND BUZZER

        Detection Range During Detection Obstacle
        Close-range detection
        Within approx. 350 +/- 40 mm (13.8 +/- 1.57 in.)
        Buzzer: Sounds continuously
        Number of bars displayed: 1 (blinking)
        60 mm (2.4 in.) diameter pole
        Medium-range detection
        From approx. 350 +/- 40 to 450 +/- 50 mm (13.8 +/- 1.57 to 17.7 +/- 1.97 in.)
        Buzzer: Sounds intermittently (ON: 0.075 sec. / OFF: 0.075 sec.)
        Number of bars displayed: 2 (illuminated)
        60 mm (2.4 in.) diameter pole
        Long-range detection
        From approx. 450 +/- 50 to 600 +/- 60 mm (17.7 +/- 1.97 to 23.6 +/- 2.36 in.)
        Buzzer: Sounds intermittently (ON: 0.15 sec. / OFF: 0.15 sec.)
        Number of bars displayed: 3 (illuminated)
        60 mm (2.4 in.) diameter pole
        Longest-range detection
        From approx. 600 +/- 60 to 1500 +/- 150 mm (23.6 +/- 2.36 to 59.1 +/- 5.91 in.)
        Buzzer: Sounds intermittently (ON: 0.15 sec. / OFF: 0.65 sec.)
        Number of bars displayed: 4 (illuminated)
        Wall
        MULTI-DISPLAY AND BUZZER

        Detection Range During Detection Obstacle
        Close-range detection
        Within approx. 350 +/- 40 mm (13.8 +/- 1.57 in.)
        Buzzer: Sounds continuously
        Color of bars displayed: Red (illuminated)
        60 mm (2.4 in.) diameter pole
        Medium-range detection
        From approx. 350 +/- 40 to 450 +/- 50 mm (13.8 +/- 1.57 to 17.7 +/- 1.97 in.)
        Buzzer: Sounds intermittently (ON: 0.075 sec. / OFF: 0.075 sec.)
        Color of bars displayed: Yellow (blinking)
        60 mm (2.4 in.) diameter pole
        Long-range detection
        From approx. 450 +/- 50 to 600 +/- 60 mm (17.7 +/- 1.97 to 23.6 +/- 2.36 in.)
        Buzzer: Sounds intermittently (ON: 0.15 sec./ OFF: 0.15 sec.)
        Color of bars displayed: Yellow (blinking)
        60 mm (2.4 in.) diameter pole
        Longest-range detection
        From approx. 600 +/- 60 to 1500 +/- 150 mm (23.6 +/- 2.36 to 59.1 +/- 5.91 in.)
        Buzzer: Sounds intermittently (ON: 0.15 sec. / OFF: 0.65 sec.)
        Color of bars displayed: Yellow (blinking)
        Wall

        HINT: 

        Ultrasonic waves are used to measure the detection range; however, the detection range may vary depending on the ambient temperature.