LEMON Manuals: Even more car manuals for everyone: 1960-2025
Home >> Lexus >> 2023 >> LX 600 Premium >> Repair and Diagnosis >> Engine Performance >> System >> Engine Control System (W/ Canister Pump Module) - Diagnostic Codes (2 Of 9) >> SFI SYSTEM (w/ Canister Pump Module) >> DTC P0120-11: Throttle / Pedal Position Sensor / Switch "A" Circuit Short to Ground [12/2021 - ] >> Description
April 5, 2026: LEMON Manuals is launched! Read the announcement.

DTC P0120-11: Throttle / Pedal Position Sensor / Switch "A" Circuit Short to Ground [12/2021 - ]: Description

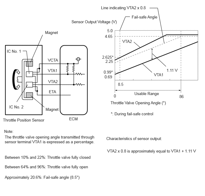
The throttle position sensor is built into the throttle body with motor assembly and detects the opening angle of the throttle valve. This sensor is a non-contact type sensor. It uses Hall-effect elements in order to yield accurate signals even in extreme driving conditions, such as at high speeds as well as very low speeds.

The throttle position sensor has 2 sensor circuits, VTA1 and VTA2, each of which transmits a signal. VTA1 is used to detect the throttle valve angle and VTA2 is used to detect malfunctions in VTA1. The sensor signal voltages vary between 0 V and 5 V in proportion to the throttle valve opening angle, and are transmitted to the VTA1 and VTA2 terminals of the ECM.

As the valve closes, the sensor output voltage decreases and as the valve opens, the sensor output voltage increases. The ECM calculates the throttle valve opening angle according to these signals and controls the throttle actuator in response to driver inputs. These signals are also used in calculations such as air fuel ratio correction, power increase correction and fuel-cut control.

GTY1035970Courtesy of © TOYOTA, LICENSE AGREEMENT TMS1002

HINT: 

DTC No. Detection Item DTC Detection Condition Trouble Area MIL DTC Output from Priority Note
P0120-11 Throttle / Pedal Position Sensor / Switch "A" Circuit Short to Ground The output voltage of VTA1 is less than 0.56 V for 2 seconds or more (1 trip detection logic).
  • Throttle position sensor (throttle body with motor assembly)
  • Short in VTA1 circuit
  • Open in VCTA circuit
  • ECM
Comes on Engine A SAE: P0122