LEMON Manuals: Even more car manuals for everyone: 1960-2025
Home >> Lexus >> 2024 >> ES 250 Ultra Luxury >> Repair and Diagnosis (Single Page) >> Accessories & Equipment >> Anti-Theft Systems >> Smart Access System (For Start) (Except Hybrid) - Diagnostic Codes (2 Of 2) & Symptom Tests >> SMART ACCESS SYSTEM WITH PUSH-BUTTON START (for Start Function, Gasoline Model) >> DTC B2799-86: Engine Immobiliser System Signal (Some Circuit Quantity, Reported via Serial Data) Invalid [08/2020 - ] >> Procedure
April 5, 2026: LEMON Manuals is launched! Read the announcement.

DTC B2799-86: Engine Immobiliser System Signal (Some Circuit Quantity, Reported via Serial Data) Invalid [08/2020 - ]: Procedure

  1. REGISTER ECU COMMUNICATION ID 
    1. Register the ECU communication ID code.

      Refer to REGISTRATION [08/2020 - 09/2022] , or refer to REGISTRATION [09/2022 - ]

      Result

      Proceed to
      NEXT

    Result: 

    NEXT 

    See step  2

  2. CHECK ECM (TERMINAL EFII) 
    1. Using an oscilloscope, check the waveform.
      GTY816937Courtesy of © TOYOTA, LICENSE AGREEMENT TMS1002
      *a Component with harness connected
      (ID Code Box (Immobiliser Code ECU))
      *b Waveform
      *c Approximately 160 ms. *d Approximately 270 ms.

      OK

      Tester Connection Condition Tool Setting Specified Condition
      G52-3 (EFII) - Body ground Engine switch on (IG) 2 V/DIV., 500 ms./DIV. Pulse generation
      (See waveform)

      Result

      Result Proceed to
      Normal waveform A
      Terminal IMO stuck low (2.4 V or less) B
      Waveform not output, or has abnormal wavelength or shape C

    Result: 

    See step  6

    Result: 

    REPLACE ECM 

    for 2GR-FKS: Refer to REMOVAL [10/2019 - 08/2021] , or refer to REMOVAL [08/2021 - 09/2022] , or refer to REMOVAL [09/2022 - ]

    for A25A-FKS: Refer to REMOVAL [08/2020 - 08/2021] , or refer to REMOVAL [08/2021 - 09/2022] , or refer to REMOVAL [09/2022 - ]

    Result: 

    See step  3

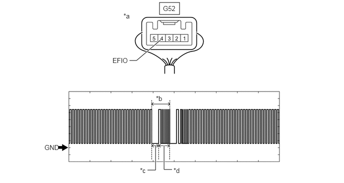
  3. CHECK ID CODE BOX (IMMOBILISER CODE ECU) (TERMINAL EFIO) 
    1. Using an oscilloscope, check the waveform.
      GTY782829Courtesy of © TOYOTA, LICENSE AGREEMENT TMS1002
      *a Component with harness connected
      (ID Code Box (Immobiliser Code ECU))
      *b Waveform
      *c Approximately 160 ms. *d Approximately 270 ms.

      Measurement Condition

      Tester Connection Condition Tool Setting Specified Condition
      G52-4 (EFIO) - Body ground Engine switch turned on (IG) using registered electrical key transmitter sub-assembly 2 V/DIV., 500 ms./DIV. Pulse generation
      (See waveform)

      Result

      Proceed to
      OK
      NG

    Result: 

    NG 

    REPLACE ID CODE BOX (IMMOBILISER CODE ECU). Refer to  REMOVAL [06/2018 - 08/2021]  , or refer to  REMOVAL [08/2021 - 09/2022]  , or refer to  REMOVAL [09/2022 - ] 

    Result: 

    OK 

    See step  4

  4. REGISTER ECU COMMUNICATION ID (ID CODE BOX (IMMOBILISER CODE ECU) - ECM) 
    1. Register the ECU communication ID code.

      Refer to REGISTRATION [08/2020 - 09/2022] , or refer to REGISTRATION [09/2022 - ]

      Result

      Proceed to
      NEXT

    Result: 

    NEXT 

    See step  5

  5. CHECK WHETHER ENGINE STARTS 
    1. Using an electrical key transmitter sub-assembly which is registered to the vehicle, turn the engine switch on (IG).
    2. Check that the engine starts 5 seconds after the engine switch turned on (IG).

      OK

      Engine starts normally.

      Result

      Proceed to
      OK
      NG

    Result: 

    OK 

    END (ECU COMMUNICATION ID HAS NOT BEEN REGISTERED) 

    Result: 

    NG 

    REPLACE ECM 

    for 2GR-FKS: Refer to REMOVAL [10/2019 - 08/2021] , or refer to REMOVAL [08/2021 - 09/2022] , or refer to REMOVAL [09/2022 - ]

    for A25A-FKS: Refer to REMOVAL [08/2020 - 08/2021] , or refer to REMOVAL [08/2021 - 09/2022] , or refer to REMOVAL [09/2022 - ]

  6. CHECK ECM 
    1. Disconnect the A25*1 or A28*2 ECM connector.
      1. *1: for 2GR-FKS
      2. *2: for A25A-FKS
    2. Measure the voltage according to the value(s) in the table below.

      Standard Voltage

      FOR 2GR-FKS

      Tester Connection Condition Specified Condition
      A25-45 (IMO) - Body ground Engine switch turned on (IG) using registered electrical key transmitter sub-assembly Terminal IMO stuck low (2.4 V or less)
      Terminal IMO stuck high (12 V) or abnormal waveform
      FOR A25A-FKS

      Tester Connection Condition Specified Condition
      A28-25 (IMO) - Body ground Engine switch turned on (IG) using registered electrical key transmitter sub-assembly Terminal IMO stuck low (2.4 V or less)
      Terminal IMO stuck high (12 V) or abnormal waveform

      Result

      Result Proceed to
      Terminal IMO stuck low (2.4 V or less) A
      Terminal IMO stuck high (12 V) or abnormal waveform B

    Result: 

    REPLACE ECM 

    for 2GR-FKS: Refer to REMOVAL [10/2019 - 08/2021] , or refer to REMOVAL [08/2021 - 09/2022] , or refer to REMOVAL [09/2022 - ]

    for A25A-FKS: Refer to REMOVAL [08/2020 - 08/2021] , or refer to REMOVAL [08/2021 - 09/2022] , or refer to REMOVAL [09/2022 - ]

    Result: 

    See step  7

  7. CHECK HARNESS AND CONNECTOR (ID CODE BOX (IMMOBILISER CODE ECU) - ECM) 
    1. Disconnect the G52 ID code box (immobiliser code ECU) connector.
    2. Measure the resistance according to the value(s) in the table below.

      Standard Resistance

      FOR 2GR-FKS

      Tester Connection Condition Specified Condition
      G52-3 (EFII) - A25-45 (IMO) Always Below 1 Ω
      G52-3 (EFII) or A25-45 (IMO) - Other terminals and body ground Always 10 kΩ or higher
      FOR A25A-FKS

      Tester Connection Condition Specified Condition
      G52-3 (EFII) - A28-25 (IMO) Always Below 1 Ω
      G52-3 (EFII) or A28-25 (IMO) - Other terminals and body ground Always 10 kΩ or higher

      Result

      Proceed to
      OK
      NG

    Result: 

    OK 

    REPLACE ID CODE BOX (IMMOBILISER CODE ECU). Refer to  REMOVAL [06/2018 - 08/2021]  , or refer to  REMOVAL [08/2021 - 09/2022]  , or refer to  REMOVAL [09/2022 - ] 

    Result: 

    NG 

    REPAIR OR REPLACE HARNESS OR CONNECTOR