LEMON Manuals: Even more car manuals for everyone: 1960-2025
Home >> Lexus >> 2024 >> ES 250 Ultra Luxury >> Repair and Diagnosis (Single Page) >> Body & Frame >> Door Locks >> Smart Access System (For Entry) (Except Hybrid) - Diagnostic Codes & Symptom Tests >> SMART ACCESS SYSTEM WITH PUSH-BUTTON START (for Entry Function, Gasoline Model) >> Rear Door RH Entry Unlock Function does not Operate [06/2018 - ] >> Procedure
April 5, 2026: LEMON Manuals is launched! Read the announcement.

Rear Door RH Entry Unlock Function does not Operate [06/2018 - ]: Procedure

  1. CHECK POWER DOOR LOCK CONTROL SYSTEM 
    1. When the door control switch on the multiplex network master switch assembly is operated, check that the doors unlock and lock according to the switch operation.

      Refer to OPERATION CHECK [06/2018 - ]

      OK

      Door locks operate normally.

      Result

      Proceed to
      OK
      NG

    Result: 

    NG 

    GO TO POWER DOOR LOCK CONTROL SYSTEM. Refer to  HOW TO PROCEED WITH TROUBLESHOOTING [06/2018 - ] 

    Result: 

    OK 

    See step  2

  2. READ VALUE USING TECHSTREAM (RR-DOOR LOCK POS SW) 
    1. Connect the Techstream to the DLC3.
    2. Turn the engine switch on (IG).
    3. Turn the Techstream on.
    4. Enter the following menus: Body Electrical / Main Body / Data List.
    5. Read the Data List according to the display on the Techstream.

      Body Electrical > Main Body > Data List 

      Tester Display Measurement Item Range Normal Condition Diagnostic Note
      RR-Door Lock Pos SW Rear door RH unlock detection switch signal ON or OFF ON: Rear door RH unlocked
      OFF: Rear door RH locked
      -

      Body Electrical > Main Body > Data List 

      Tester Display
      RR-Door Lock Pos SW

      OK

      The Techstream display changes correctly in response to the lock/unlock operation of the rear door RH.

      Result

      Proceed to
      OK
      NG

    Result: 

    NG 

    GO TO LIGHTING SYSTEM (Proceed to Door Unlock Detection Switch Circuit). Refer to  Door Unlock Detection Switch Circuit [06/2018 - ] 

    Result: 

    OK 

    See step  3

  3. READ VALUE USING TECHSTREAM (PR-DOOR TOUCH SENSOR) 
    1. Turn the engine switch off.
    2. Open and close the rear door RH.
    3. With the electrical key transmitter sub-assembly outside of the vehicle, press the lock switch of the electrical key transmitter sub-assembly to lock all of the doors.
    4. Hold the electrical key transmitter sub-assembly at the same height as the door outside handle assembly and approximately 0.3 m (0.984 ft.) from the rear door RH.
    5. Check that the LED of the electrical key transmitter sub-assembly blinks.
    6. Read the Data List according to the display on the Techstream.
    7. Touch the unlock sensor on the backside of the rear door outside handle assembly (for rear door RH).

      HINT: 

      When checking the operation of the unlock sensor again, make sure to perform the procedure from step (a).

      Body Electrical > Smart Access > Data List 

      Tester Display Measurement Item Range Normal Condition Diagnostic Note
      Pr-Door Touch Sensor Rear door RH touch sensor (unlock sensor) ON or OFF ON: Rear door RH touch sensor (unlock sensor) touched
      OFF: Rear door RH touch sensor (unlock sensor) not touched
      • Displays whether the unlock sensor is on or off (even if the sensor is touched and contact is maintained, "ON" is displayed only momentarily).
      • Use this Data List item to help determine if there is an unlock sensor malfunction when the entry unlock function does not operate.

      Body Electrical > Smart Access > Data List 

      Tester Display
      Pr-Door Touch Sensor

      OK

      The Techstream display changes correctly in response to the operation of the rear door outside handle assembly RH.

      GTY834174Courtesy of © TOYOTA, LICENSE AGREEMENT TMS1002
      *a Unlock Sensor (Backside)

      Result

      Proceed to
      OK
      NG

    Result: 

    OK 

    REPLACE CERTIFICATION ECU (SMART KEY ECU ASSEMBLY). Refer to  REMOVAL [06/2018 - 08/2021]  , or refer to  REMOVAL [08/2021 - 09/2022]  , or refer to  REMOVAL [09/2022 - ] 

    Result: 

    NG 

    See step  4

  4. CHECK HARNESS AND CONNECTOR (CERTIFICATION ECU (SMART KEY ECU ASSEMBLY) - REAR DOOR OUTSIDE HANDLE ASSEMBLY RH) 
    1. Disconnect the N9 certification ECU (smart key ECU assembly) connector.
    2. Disconnect the L5 rear door outside handle assembly RH connector.
    3. Measure the resistance according to the value(s) in the table below.

      Standard Resistance

      Tester Connection Condition Specified Condition
      N9-9 (CLG4) - L5-4 (ANT1) Always Below 1 Ω
      N9-8 (CG4B) - L5-5 (ANT2) Always Below 1 Ω
      N9-9 (CLG4) or L5-4 (ANT1) - Body ground Always 10 kΩ or higher
      N9-8 (CG4B) or L5-5 (ANT2) - Body ground Always 10 kΩ or higher
    4. Reconnect the L5 rear door outside handle assembly RH connector.
    5. Reconnect the N9 certification ECU (smart key ECU assembly) connector.

      Result

      Proceed to
      OK
      NG

    Result: 

    NG 

    REPAIR OR REPLACE HARNESS OR CONNECTOR 

    Result: 

    OK 

    See step  5

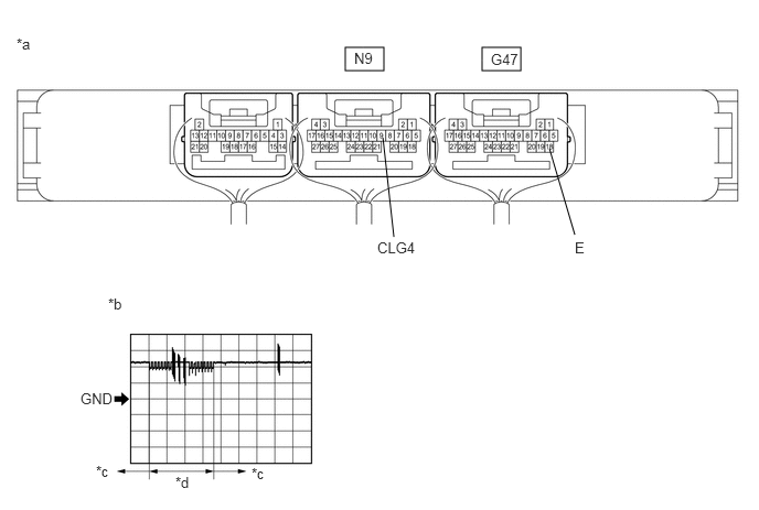
  5. CHECK REAR DOOR OUTSIDE HANDLE ASSEMBLY RH (INPUT TO CERTIFICATION ECU (SMART KEY ECU ASSEMBLY)) 
    GTY777802Courtesy of © TOYOTA, LICENSE AGREEMENT TMS1002
    *a Component with harness connected
    (Certification ECU (Smart Key ECU Assembly))
    *b Waveform 1
    *c Unlock sensor not touched *d Unlock sensor touched
    1. Using an oscilloscope, check the waveform.

      OK

      Tester Connection Condition Tool Setting Specified Condition
      N9-9 (CLG4) - G47-18 (E) Procedure:
      1. Engine switch off
      2. Electrical key transmitter sub-assembly brought outside vehicle
      3. All doors locked
      4. Electrical key transmitter sub-assembly not near the vehicle
      5. Rear door RH unlock sensor touched
      5 V/DIV., 50 ms/DIV. Pulse generation
      (See waveform 1)

      Result

      Proceed to
      OK
      NG

    Result: 

    OK 

    REPLACE CERTIFICATION ECU (SMART KEY ECU ASSEMBLY). Refer to  REMOVAL [06/2018 - 08/2021]  , or refer to  REMOVAL [08/2021 - 09/2022]  , or refer to  REMOVAL [09/2022 - ] 

    Result: 

    NG 

    REPLACE REAR DOOR OUTSIDE HANDLE ASSEMBLY RH. Refer to  DISASSEMBLY [06/2018 - 08/2020]  , or refer to  DISASSEMBLY [08/2020 - 08/2021]  , or refer to  DISASSEMBLY [08/2021 - 09/2022]  , or refer to  DISASSEMBLY [09/2022 - ]