LEMON Manuals: Even more car manuals for everyone: 1960-2025
Home >> Lexus >> 2024 >> NX 350h >> Repair and Diagnosis >> External Pages >> Different car >> Section 12 (Smart Access System (For Start) - Diagnostics - Introduction) >> SMART ACCESS SYSTEM WITH PUSH-BUTTON START (for Start Function, Gasoline Model) >> Terminals Of Ecu [11/2021 - 03/2023] >> Terminals Of Ecu [11/2021 - 03/2023]
April 5, 2026: LEMON Manuals is launched! Read the announcement.

Terminals Of Ecu [11/2021 - 03/2023]

WARNING: This page does not describe the selected car, but rather 8 other vehicles, including the 2025 Lexus NX 350, 2025 Lexus NX 250, 2024 Lexus NX 350, 2024 Lexus NX 250, and 2023 Lexus NX 350. However, it is still accessible from the selected car via links, so may be relevant.
NOTE:
  • When performing an inspection, make sure that "ACC Customize" is set to "ON" using the multi-display.

    Refer to CUSTOMIZE PARAMETERS [11/2021 - ] 

  • When "ACC Customize" is set to "ON" (ACC supply power enabled), the certification ECU (smart key ECU assembly) controls the ACC relay on and off. When "ACC Customize" is set to "OFF" (ACC supply power disabled), the certification ECU (smart key ECU assembly) and radio and display receiver assembly control the ACC relay on and off.

    Therefore, inspection conditions and results may differ depending on whether "ACC customize" is set to ON or OFF when inspecting ACC related terminals.

  1. CHECK CERTIFICATION ECU (SMART KEY ECU ASSEMBLY) 
    GTY1081041Courtesy of © TOYOTA, LICENSE AGREEMENT TMS1002
    1. Disconnect the A10 and D58 certification ECU (smart key ECU assembly) connectors.
    2. Measure the resistance and voltage according to the value(s) in the table below.

      HINT: 

      Measure the values on the wire harness side with the connector disconnected.

      Terminal No. (Symbol) Terminal Description Condition Specified Condition Related Data List Item/DTC
      A10-15 (NE) - Body ground Engine speed signal Always 10 kΩ or higher Power Source Control 
      1. Engine Condition
      A10-21 (STP1) - Body ground Stop light switch signal Brake pedal depressed → Brake pedal released 9 V or higher → 1 V or less Power Source Control 
      1. Stop Light Switch
      D58-6 (+B) - D58-29 (E) Power source Ignition switch off 11 to 14 V -
      D58-14 (P) - D58-29 (E) P position signal Always 30 kΩ or higher Power Source Control 
      1. Shift P Signal Condition (Line)
      A10-22 (CUTB) - Body ground Dark current cut pin* Ignition switch off 11 to 14 V -
      D58-29 (E) - Body ground GND Always Below 1 Ω -
      D58-23 (SSW3) - Body ground SSW3 contact signal Engine switch pushed → Engine switch not pushed Below 15 Ω → 10 kΩ or higher Power Source Control 
      1. Push Start Switch 3
      D58-27 (SSW2) - Body ground SSW2 contact signal Engine switch pushed → Engine switch not pushed Below 15 Ω → 10 kΩ or higher Power Source Control 
      1. Push Start Switch 2
      D58-19 (SSW1) - Body ground SSW1 contact signal Engine switch pushed → Engine switch not pushed Below 15 Ω → 10 kΩ or higher Power Source Control 
      1. Push Start Switch 1
      1. *: In order to prevent the vehicle auxiliary battery from being depleted when the vehicle is shipped long distances, a fuse that cuts unnecessary electrical load while the vehicle is being shipped is installed in the circuit. If the fuse is removed, the circuit becomes open. If the fuse that is between the vehicle auxiliary battery and terminal CUTB is removed and the circuit is open, the certification ECU (smart key ECU assembly) changes to a certain control mode (example: the transmission of radio waves every 0.25 seconds, which form the detection area, stops).
    3. Connect the A10 and D58 certification ECU (smart key ECU assembly) connectors.
    4. Measure the voltage and resistance, and check for pulses according to the value(s) in the table below.
      Terminal No. (Symbol) Terminal Description Condition Specified Condition Related Data List Item/DTC
      A10-3 (STA) - D58-29 (E) When starting the engine, this monitors the voltage sent from terminal STAR to the starter relay to judge whether the engine is "being started". Engine switch pressed and held with brake pedal depressed (starter on) → Approximately 1 second after engine switch released (starter off) 6 V or higher*1 → 1.0 V or less -
      A10-10 (STAR) - D58-29 (E) Outputs voltage to the starter relay 
      • Outputs voltage (12 V) to the starter relay when starting the engine. (Max. 30 sec. Turns off when an engine speed of 1000 rpm.)

      HINT: 
      When Hi is selected, a start request signal (STAR) will not be output even though a start request signal (STSW) is input.
      Engine switch pressed and held with brake pedal depressed (starter on) → Approximately 1 second after engine switch released (starter off) 6 V or higher*1 → 1.0 V or less -
      A10-15 (NE) - Body ground Engine speed signal Idling (engine warmed up) Pulse generation
      (See waveform 1)
      Power Source Control 
      1. Engine Condition
      D58-11 (SLP) - D58-29 (E) Steering lock position signal Steering locked → Steering unlocked 11 to 14 V → 1.5 V or less Power Source Control 
      1. Steering Unlock Switch
      D58-24 (SLR+) - D58-29 (E) Steering lock motor operation command signal
      (Steering lock motor operation permission signal sent from the certification ECU (smart key ECU assembly))
      When a door is opened, the steering lock motor will be operated if all of the following conditions are met:
      • The steering is unlocked.
      • The ignition switch is off.
      • The shift position is in P.
      Pulse generation
      (See waveform 2)
      -
      D58-8 (LIN) - D58-29 (E) LIN communication line Ignition switch ON Pulse generation Smart Access 
      1. Steering Lock Start Condition
      D58-14 (P) - D58-29 (E) P position signal Ignition switch ON and Shift position in P Pulse generation (24 to 25 Hz or 30 to 31 Hz, High voltage: 9 V or more, Low voltage: below 1 V, duty ratio: 25 %) Power Source Control 
      1. Shift P Signal Condition (Line)
      Ignition switch ON and Shift position in N Pulse generation (24 to 25 Hz or 30 to 31 Hz, High voltage: 9 V or more, Low voltage: below 1 V, duty ratio: 55 %)
      Ignition switch ON and Shift position in other then P or N Pulse generation (24 to 25 Hz or 30 to 31 Hz, High voltage: 9 V or more, Low voltage: below 1 V, duty ratio: 40 %)
      D58-23 (SSW3) - D58-29 (E) SSW3 contact signal Engine switch not pushed → Engine switch pushed 9 V or higher → 1 V or less Power Source Control 
      1. Push Start Switch 3
      D58-27 (SSW2) - D58-29 (E) SSW2 contact signal Engine switch not pushed → Engine switch pushed 9 V or higher → 1 V or less Power Source Control 
      1. Push Start Switch 2
      D58-19 (SSW1) - D58-29 (E) SSW1 contact signal Engine switch not pushed → Engine switch pushed 9 V or higher → 1 V or less Power Source Control 
      1. Push Start Switch 1
      D58-21 (ACCD) - D58-29 (E) ACC signal Ignition switch off → Ignition switch ACC 1 V or less → 8.5 V or higher Power Source Control 
      1. ACC Relay Monitor
      A10-11 (IGRD) - D58-29 (E) IG signal Ignition switch off → Ignition switch ON 1 V or less → 9 V or higher Power Source Control 
      1. IGR Relay Circuit (Outside) Monitor
      A10-24 (IGPD) - D58-29 (E) IG signal Ignition switch off → Ignition switch ON 1 V or less → 9 V or higher Power Source Control 
      1. IGP Relay Circuit (Outside) Monitor
      A10-13 (SPD) - D58-29 (E) Vehicle speed signal Vehicle being driven at approx. 5 km/h (3 mph) Pulse generation
      (See waveform 3)
      Power Source Control 
      1. Vehicle Running Condition (Line)
      D58-4 (CLG5) - D58-29 (E) Output to No. 1 indoor electrical key antenna assembly (front floor) Procedure:
      1. Ignition switch off
      2. Electrical key transmitter sub-assembly not inside vehicle
      3. Within 30 seconds of closing any door
      Pulse generation
      (See waveform 4)
      -
      D58-5 (CG5B) - D58-29 (E) Output to No. 1 indoor electrical key antenna assembly (front floor) (terminal on opposite side of component from CLG5 output terminal) Procedure:
      1. Ignition switch off
      2. Electrical key transmitter sub-assembly not inside vehicle
      3. Within 30 seconds of closing any door
      Pulse generation
      (See waveform 4)
      -
      G12-1 (CLG6) - D58-29 (E) Output to No. 2 indoor electrical key antenna assembly (rear floor) Procedure:
      1. Ignition switch off
      2. Electrical key transmitter sub-assembly not inside vehicle
      3. Within 30 seconds of closing any door
      Pulse generation
      (See waveform 5)
      -
      G12-2 (CG6B) - D58-29 (E) Output to No. 2 indoor electrical key antenna assembly (rear floor) (terminal on opposite side of component from CLG6 output terminal) Procedure:
      1. Ignition switch off
      2. Electrical key transmitter sub-assembly not inside vehicle
      3. Within 30 seconds of closing any door
      Pulse generation
      (See waveform 4)
      -
      G12-10 (CLG7) - D58-29 (E) Output to No. 2 indoor electrical key antenna assembly (inside luggage compartment) Procedure:
      1. Ignition switch off
      2. Electrical key transmitter sub-assembly not inside vehicle
      3. Within 30 seconds of closing any door
      Pulse generation
      (See waveform 4)
      -
      G12-9 (CG7B) - D58-29 (E) Output to No. 2 indoor electrical key antenna assembly (inside luggage compartment) (terminal on opposite side of component from CLG7 output terminal) Procedure:
      1. Ignition switch off
      2. Electrical key transmitter sub-assembly not inside vehicle
      3. Within 30 seconds of closing any door
      Pulse generation
      (See waveform 4)
      -
      D58-30 (AGND) - Body ground Transponder key amplifier ground Always Below 1 Ω -
      D58-12 (ANT1) - D58-30 (AGND) Signal input / output from transponder key coil (transponder key coil built into engine switch) Ignition switch off, electrical key transmitter sub-assembly not in cabin, within 30 seconds of engine switch pressed Pulse generation
      (See waveform 6)
      Smart Access 
      1. Encrypt Code Difference
      D58-13 (ANT2) - D58-30 (AGND) Signal input / output from transponder key coil (transponder key coil built into engine switch) Ignition switch off, electrical key transmitter sub-assembly not in cabin, within 30 seconds of engine switch pressed Pulse generation
      (See waveform 7)
      D58-25 (IND) - D58-29 (E) Security indicator output Ignition switch off → ON Pulse generation → Below 2 V -
      G12-20 (WCSW) - D58-29 (E)*2 Wireless charger system stop signal Procedure:
      1. Ignition switch off
      2. Electrical key transmitter sub-assembly inside vehicle
      3. Ignition switch off → ACC or ON
      Below 1 V → 4.5 to 6 V
      (For 1 second after ignition switch to ACC or ON)
      -
      1. *1: While the engine is cranking, the auxiliary battery voltage may drop to approximately 6 V.
      2. *2: w/ Wireless Charger System

      HINT: 

      • The waveform of the steering lock actuator motor stopped can be checked without performing any particular operation.
      • The waveform of the steering lock actuator motor operating can be checked if either of the following operations is performed:
        • To unlock the steering, bring the electrical key transmitter sub-assembly into the cabin and turn the ignition switch to ACC or ON.
        • To lock the steering, open a door with the ignition switch off and the shift position in P.
    5. Using an oscilloscope, check the waveform of the ECU.
      NOTE:

      The oscilloscope waveform shown in the illustration is an example for reference only. Noise, chattering, etc. are not shown.

      1. Waveform 1
        GTY1046082Courtesy of © TOYOTA, LICENSE AGREEMENT TMS1002
        MEASUREMENT CONDITION

        Item Content
        Tester Connection A10-15 (NE) - Body ground
        Tool Setting 2 V/DIV., 2 ms./DIV.
        Condition Idling (engine warmed up)

        HINT: 

        The wavelength becomes shorter as the engine speed increases.

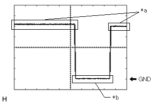
      2. Waveform 2
        GTY1018531Courtesy of © TOYOTA, LICENSE AGREEMENT TMS1002
        *a Steering lock motor not operating
        *b Steering lock motor operating
        MEASUREMENT CONDITION

        Item Content
        Tester Connection D58-24 (SLR+) - D58-29 (E)
        Tool Setting 2 V/DIV., 200 ms./DIV.
        Condition When a door is opened, the steering lock motor will be operated if all of the following conditions are met:
        • The steering is unlocked.
        • The ignition switch is off.
        • The shift position is in P.
      3. Waveform 3
        GTY762053Courtesy of © TOYOTA, LICENSE AGREEMENT TMS1002
        MEASUREMENT CONDITION

        Item Content
        Tester Connection A10-13 (SPD) - D58-29 (E)
        Tool Setting 5 V/DIV., 20 ms./DIV.
        Condition Vehicle being driven at approx. 5 km/h (3 mph)

        HINT: 

        The wavelength becomes shorter as the vehicle speed increases.

      4. Waveform 4
        GTY1043551Courtesy of © TOYOTA, LICENSE AGREEMENT TMS1002
        *a For 30 seconds after any door closed
        *b After 30 seconds or more have elapsed since any door closed
        MEASUREMENT CONDITION

        Item Content
        Tester Connection D58-4 (CLG5) - D58-29 (E)
        D58-5 (CG5B) - D58-29 (E)
        G12-2 (CG6B) - D58-29 (E)
        G12-10 (CLG7) - D58-29 (E)
        G12-9 (CG7B) - D58-29 (E)
        Tool Setting 5 V/DIV., 500 ms./DIV.
        Condition Procedure:
        1. Ignition switch off
        2. Electrical key transmitter sub-assembly not inside vehicle
        3. Within 30 seconds of closing any door
      5. Waveform 5
        GTY1082671Courtesy of © TOYOTA, LICENSE AGREEMENT TMS1002
        *a For 30 seconds after any door closed
        *b After 30 seconds or more have elapsed since any door closed
        MEASUREMENT CONDITION

        Item Content
        Tester Connection G12-1 (CLG6) - D58-29 (E)
        Tool Setting 5 V/DIV., 500 ms./DIV.
        Condition Procedure:
        1. Ignition switch off
        2. Electrical key transmitter sub-assembly not inside vehicle
        3. Within 30 seconds of closing any door
      6. Waveform 6
        GTY1081534Courtesy of © TOYOTA, LICENSE AGREEMENT TMS1002
        MEASUREMENT CONDITION

        Item Content
        Tester Connection D58-12 (ANT1) - D58-30 (AGND)
        Tool Setting 5 V/DIV., 200 ms/DIV.
        Condition Ignition switch off, electrical key transmitter sub-assembly not in cabin, within 30 seconds of engine switch pressed
      7. Waveform 7
        GTY1082013Courtesy of © TOYOTA, LICENSE AGREEMENT TMS1002
        MEASUREMENT CONDITION

        Item Content
        Tester Connection D58-13 (ANT2) - D58-30 (AGND)
        Tool Setting 20 V/DIV., 200 ms./DIV.
        Condition Ignition switch off, electrical key transmitter sub-assembly not in cabin, within 30 seconds of engine switch pressed
  2. CHECK STEERING LOCK ECU (STEERING LOCK ACTUATOR WITH ECU ASSEMBLY) 
    GTY1059744Courtesy of © TOYOTA, LICENSE AGREEMENT TMS1002
    1. Disconnect the D61 steering steering lock ECU (steering lock actuator with ECU assembly) connector.
    2. Measure the voltage and resistance according to the value(s) in the table below.

      HINT: 

      Measure the values on the wire harness side with the connector disconnected.

      Terminal No. (Symbol) Terminal Description Condition Specified Condition Related Data List Item/DTC
      D61-1 (GND) - Body ground Ground Always Below 1 Ω -
      D61-7 (B) - Body ground Constant power supply Ignition switch off 11 to 14 V -
    3. Connect the D61 steering lock ECU (steering lock actuator with ECU assembly) connector.
    4. Measure the voltage, and check for pulses according to the value(s) in the table below.
      Terminal No. (Symbol) Terminal Description Condition Specified Condition Related Data List Item/DTC
      D61-3 (IGE) - D61-1 (GND) Steering lock motor operation permission signal (motor operation permission signal supplied by certification ECU (smart key ECU assembly)) Steering lock motor operating when all conditions met, and then door opened:
      • Shift position in P
      • Steering unlocked
      • Ignition switch turned off
      Pulse generation
      (See waveform 1)
      Smart Access 
      • Power Supply Short History
      • Unlock Request Receive
      • Steering Lock Request Receive
      D61-4 (SLP1) - D61-1 (GND) Steering lock bar position signal (signal output from steering unlock sensor) Steering locked → unlocked 11 to 14 V → Below 1.5 V Smart Access 
      1. Sensor Malfunction History
      D61-5 (LIN) - D61-1 (GND) LIN communication line Ignition switch ON Pulse generation Smart Access 
      1. Steering Lock Start Condition
      D61-6 (IG2) - D61-1 (GND) Steering lock motor operation permission signal (motor operation permission signal supplied by certification ECU (smart key ECU assembly)) Ignition switch off → ON Below 1 V → 11 to 14 V -

      HINT: 

      • There is 1 motor and 2 sensors built into the steering lock actuator with ECU assembly.
      • When taking measurements when the lock motor is stopped, it is not necessary to perform any operations.
      • In order to take measurements when the lock motor is operating, perform either of the following operations:
        • To unlock the steering, carry the key and turn the ignition switch to ACC or ON.
        • To lock the steering, turn the ignition switch off with the shift position in P, and then open a door.
    5. Using an oscilloscope, check the waveform of the ECU.
      NOTE:

      The oscilloscope waveform shown in the illustration is an example for reference only. Noise, chattering, etc. are not shown.

      Waveform 1

      GTY1018529Courtesy of © TOYOTA, LICENSE AGREEMENT TMS1002
      *a Steering lock motor not operating
      *b Steering lock motor operating
      MEASUREMENT CONDITION

      Item Content
      Tester Connection D61-3 (IGE) - D61-1 (GND)
      Tool Setting 2 V/DIV., 200 ms./DIV.
      Condition Steering lock motor operating when all conditions met, and then door opened:
      • Shift position in P
      • Steering unlocked
      • Ignition switch turned off
  3. CHECK ID CODE BOX (IMMOBILISER CODE ECU) 
    GTY1080966Courtesy of © TOYOTA, LICENSE AGREEMENT TMS1002
    1. Disconnect the D62 ID code box (immobiliser code ECU) connector.
    2. Measure the voltage and resistance according to the value(s) in the table below.

      HINT: 

      Measure the values on the wire harness side with the connector disconnected.

      Terminal No. (Symbol) Terminal Description Condition Specified Condition Related Data List Item
      D62-1 (+B) - Body ground Power source Ignition switch off 11 to 14 V -
      D62-5 (GND) - Body ground Ground Always Below 1 Ω
    3. Connect the D62 ID code box (immobiliser code ECU) connector.
    4. Measure the voltage and check for pulses according to the value(s) in the table below.
      Terminal No. (Symbol) Terminal Description Condition Specified Condition Related Data List Item
      D62-3 (EFII) - D62-5 (GND) EFI communication input
      (Signal input from ECM to ID code box (immobiliser code ECU))
      Ignition switch off 11 to 14 V Smart Access
      • EFI Code Receive
      • Start Request
      D62-3 (EFII) - D62-5 (GND) EFI communication input
      (Signal input from ECM to ID code box (immobiliser code ECU))
      Within 3 seconds of engine start or within 3 seconds of ignition switch turned to ON after cable disconnected and reconnected to auxiliary battery Pulse generation
      (See waveform 1)
      D62-4 (EFIO) - D62-5 (GND) EFI communication output
      (Signal output from ID code box (immobiliser code ECU) to ECM)
      Ignition switch off Below 1 V
      D62-4 (EFIO) - D62-5 (GND) EFI communication output
      (Signal output from ID code box (immobiliser code ECU) to ECM)
      Within 3 seconds of engine start or within 3 seconds of ignition switch turned to ON after cable disconnected and reconnected to auxiliary battery Pulse generation
      (See waveform 2)
      D62-2 (LIN1) - D62-5 (GND) LIN communication line Ignition switch ON Pulse generation Smart Access
      • Steering Lock Start Cond
    5. Using an oscilloscope, check the waveform.
      NOTE:

      The waveform shown in the illustration is an example for reference only. Noise, chattering, etc. are not shown.

      1. Waveform 1
        GTY367336Courtesy of © TOYOTA, LICENSE AGREEMENT TMS1002
        *a Approximately 160 ms. *b Approximately 270 ms.
        Item Content
        Tester Connection D62-3 (EFII) - D62-5 (GND)
        Tool Setting 2 V/DIV., 500 ms./DIV.
        Condition Within 3 seconds of engine start or within 3 seconds of ignition switch turned to ON after cable disconnected and reconnected to auxiliary battery
      2. Waveform 2
        GTY384373Courtesy of © TOYOTA, LICENSE AGREEMENT TMS1002
        *a Approximately 160 ms. *b Approximately 270 ms.
        Item Content
        Tester Connection D62-4 (EFIO) - D62-5 (GND)
        Tool Setting 2 V/DIV., 500 ms./DIV.
        Condition Within 3 seconds of engine start or within 3 seconds of ignition switch turned to ON after cable disconnected and reconnected to auxiliary battery
  4. CHECK ECM (for A25A-FKS) 
    GTY1081203Courtesy of © TOYOTA, LICENSE AGREEMENT TMS1002
    1. Measure the voltage and resistance, and check for pulses according to the value(s) in the table below.
      Terminal No. (Symbol) Terminal Description Condition Specified Condition Related Data List Item/DTC
      A20-1 (BATT) - A20-10 (E1) +B power supply Always 11 to 14 V -
      A20-10 (E1) - Body ground Ground Always Below 1 Ω -
      A20-25 (IMO) - A20-10 (E1) EFI communication input
      (Signal input from ECM to ID code box (immobiliser code ECU))
      Ignition switch off 11 to 14 V Smart Access 
      • EFI Code Receive
      • Engine Start Request
      A20-25 (IMO) - A20-10 (E1) EFI communication input
      (Signal input from ECM to ID code box (immobiliser code ECU))
      Within 3 seconds of engine start or within 3 seconds of ignition switch turned to ON after cable disconnected and reconnected to auxiliary battery Pulse generation
      (See waveform 1)
      A20-26 (IMI) - A20-10 (E1) EFI communication input
      (Signal output from ID code box (immobiliser code ECU) to ECM)
      Ignition switch off 1 V or less
      A20-26 (IMI) - A20-10 (E1) EFI communication input
      (Signal output from ID code box (immobiliser code ECU) to ECM)
      Within 3 seconds of engine start or within 3 seconds of ignition switch turned to ON after cable disconnected and reconnected to auxiliary battery Pulse generation
      (See waveform 2)
      A20-16 (NEO) - A20-10 (E1) Engine speed signal Idling (engine warmed up) Pulse generation
      (See waveform 3)
      Power Source Control 
      1. Engine Condition
      A20-30 (STA) - A20-10 (E1) When starting the engine, this monitors the voltage sent from terminal STAR to the starter relay to judge whether the engine is "being started". Engine is cranking 6 V or higher -
    2. Using an oscilloscope, check the waveform.
      NOTE:

      The waveform shown in the illustration is an example for reference only. Noise, chattering, etc. are not shown.

      1. Waveform 1 (Reference)
        GTY749966Courtesy of © TOYOTA, LICENSE AGREEMENT TMS1002
        *a Approximately 160 ms. *b Approximately 270 ms.
        MEASUREMENT CONDITION

        Item Content
        Tester Connection A20-25 (IMO) - A20-10 (E1)
        Tool Setting 2 V/DIV., 500 ms./DIV.
        Condition Within 3 seconds of engine start or within 3 seconds of ignition switch turned to ON after cable disconnected and reconnected to auxiliary battery
      2. Waveform 2 (Reference)
        GTY384373Courtesy of © TOYOTA, LICENSE AGREEMENT TMS1002
        *a Approximately 160 ms. *b Approximately 270 ms.
        MEASUREMENT CONDITION

        Item Content
        Tester Connection A20-26 (IMI) - A20-10 (E1)
        Tool Setting 2 V/DIV., 500 ms./DIV.
        Condition Within 3 seconds of engine start or within 3 seconds of ignition switch turned to ON after cable disconnected and reconnected to auxiliary battery
      3. Waveform 3
        GTY1046082Courtesy of © TOYOTA, LICENSE AGREEMENT TMS1002
        MEASUREMENT CONDITION

        Item Content
        Tester Connection A20-16 (NEO) - A20-10 (E1)
        Tool Setting 2 V/DI., 2 ms./DIV.
        Condition Idling (engine warmed up)

        HINT: 

        The wavelength becomes shorter as the engine speed increases.

  5. CHECK ECM (for T24A-FTS) 
    GTY1081188Courtesy of © TOYOTA, LICENSE AGREEMENT TMS1002
    1. Measure the voltage and resistance, and check for pulses according to the value(s) in the table below.
      Terminal No. (Symbol) Terminal Description Condition Specified Condition Related Data List Item/DTC
      B51-1 (BATT) - A19-9 (E1) +B power supply Always 11 to 14 V -
      A19-9 (E1) - Body ground Ground Always Below 1 Ω -
      A19-37 (IMO) - A19-9 (E1) EFI communication input
      (Signal input from ECM to ID code box (immobiliser code ECU))
      Ignition switch off 11 to 14 V Smart Access 
      • EFI Code Receive
      • Engine Start Request
      A19-37 (IMO) - A19-9 (E1) EFI communication input
      (Signal input from ECM to ID code box (immobiliser code ECU))
      Within 3 seconds of engine start or within 3 seconds of ignition switch turned to ON after cable disconnected and reconnected to auxiliary battery Pulse generation
      (See waveform 1)
      A19-38 (IMI) - A19-9 (E1) EFI communication input
      (Signal output from ID code box (immobiliser code ECU) to ECM)
      Ignition switch off 1 V or less
      A19-38 (IMI) - A19-9 (E1) EFI communication input
      (Signal output from ID code box (immobiliser code ECU) to ECM)
      Within 3 seconds of engine start or within 3 seconds of ignition switch turned to ON after cable disconnected and reconnected to auxiliary battery Pulse generation
      (See waveform 2)
      A19-19 (NEO) - A19-9 (E1) Engine speed signal Idling (engine warmed up) Pulse generation
      (See waveform 3)
      Power Source Control 
      1. Engine Condition
      A19-16 (STA) - A19-9 (E1) When starting the engine, this monitors the voltage sent from terminal STAR to the starter relay to judge whether the engine is "being started". Engine is cranking 6 V or higher -
    2. Using an oscilloscope, check the waveform.
      NOTE:

      The waveform shown in the illustration is an example for reference only. Noise, chattering, etc. are not shown.

      1. Waveform 1 (Reference)
        GTY749966Courtesy of © TOYOTA, LICENSE AGREEMENT TMS1002
        *a Approximately 160 ms. *b Approximately 270 ms.
        MEASUREMENT CONDITION

        Item Content
        Tester Connection A19-37 (IMO) - A19-9 (E1)
        Tool Setting 2 V/DIV., 500 ms./DIV.
        Condition Within 3 seconds of engine start or within 3 seconds of ignition switch turned to ON after cable disconnected and reconnected to auxiliary battery
      2. Waveform 2 (Reference)
        GTY384373Courtesy of © TOYOTA, LICENSE AGREEMENT TMS1002
        *a Approximately 160 ms. *b Approximately 270 ms.
        MEASUREMENT CONDITION

        Item Content
        Tester Connection A19-38 (IMI) - A19-9 (E1)
        Tool Setting 2 V/DIV., 500 ms./DIV.
        Condition Within 3 seconds of engine start or within 3 seconds of ignition switch turned to ON after cable disconnected and reconnected to auxiliary battery
      3. Waveform 3
        GTY1046082Courtesy of © TOYOTA, LICENSE AGREEMENT TMS1002
        MEASUREMENT CONDITION

        Item Content
        Tester Connection A19-16 (NEO) - A19-9 (E1)
        Tool Setting 2 V/DI., 2 ms./DIV.
        Condition Idling (engine warmed up)

        HINT: 

        The wavelength becomes shorter as the engine speed increases.

  6. CHECK ENGINE SWITCH 
    GTY1080593Courtesy of © TOYOTA, LICENSE AGREEMENT TMS1002
    1. Disconnect the D59 engine switch connector.
    2. Measure the resistance according to the value(s) in the table below.
      Terminal No. (Symbol) Terminal Description Condition Specified Condition Related Data List Item/DTC
      D59-3 (AGND) - Body ground Transponder key amplifier ground Always Below 1 Ω -
    3. Connect the D59 engine switch connector.
    4. Measure the voltage and check for pulses according to the value(s) in the table below.
      Terminal No. (Symbol) Terminal Description Condition Specified Condition Related Data List Item/DTC
      D59-1 (ANT1) - D59-3 (AGND) Signal input / output from transponder key coil (transponder key coil built into engine switch) Ignition switch off, electrical key transmitter sub-assembly not in cabin, within 30 seconds of engine switch pressed Pulse generation
      (See waveform 1)
      Smart Access 
      1. Encrypt Code Difference

        HINT: 

        If immobiliser key code verification communication is not performed correctly, the malfunction may be indicated by one or more of the Data List items listed above

      D59-7 (ANT2) - D59-3 (AGND) Signal input / output from transponder key coil (transponder key coil built into engine switch) Ignition switch off, electrical key transmitter sub-assembly not in cabin, within 30 seconds of engine switch pressed Pulse generation
      (See waveform 2)
      D59-11 (SS3) - D59-3 (AGND) SS3 contact signal
      HINT: 
      Backup for SS1. Behaves the same way as SS1.
      Engine switch not pushed → Engine switch pushed 9 V or higher → Below 1 V Power Source Control 
      1. Start Switch 3
      D59-6 (SS2) - D59-3 (AGND) SS2 contact signal
      HINT: 
      Backup for SS1. Behaves the same way as SS1.
      Engine switch not pushed → Engine switch pushed 9 V or higher → Below 1 V Power Source Control 
      1. Start Switch 2
      D59-12 (SS1) - D59-3 (AGND) SS1 contact signal Engine switch not pushed → Engine switch pushed 9 V or higher → Below 1 V Power Source Control 
      1. Start Switch 1
    5. Using an oscilloscope, check the waveform.
      NOTE:

      The waveform shown in the illustration is an example for reference only. Noise, chattering, etc. are not shown.

      1. Waveform 1 (Reference)
        GTY1043363Courtesy of © TOYOTA, LICENSE AGREEMENT TMS1002
        MEASUREMENT CONDITION

        Item Content
        Tester Connection D59-1 (ANT1) - D59-3 (AGND)
        Tool Setting 5 V/DIV., 200 ms/DIV.
        Condition Ignition switch off, electrical key transmitter sub-assembly not in cabin, within 30 seconds of engine switch pressed
      2. Waveform 2 (Reference)
        GTY1044475Courtesy of © TOYOTA, LICENSE AGREEMENT TMS1002
        MEASUREMENT CONDITION

        Item Content
        Tester Connection D59-7 (ANT2) - D59-3 (AGND)
        Tool Setting 20 V/DIV., 200 ms./DIV.
        Condition Ignition switch off, electrical key transmitter sub-assembly not in cabin, within 30 seconds of engine switch pressed
  7. SMART ACCESS SYSTEM WITH PUSH-BUTTON START (for Entry Function) 

    Refer to TERMINALS OF ECU [11/2021 - ]