LEMON Manuals: Even more car manuals for everyone: 1960-2025
Home >> Lexus >> 2024 >> TX 350 Base, FWD >> Repair and Diagnosis >> External Pages >> Different variant/trim >> Section 2 (Transfer Case System - Service Information) >> Transfer Assembly >> Disassembly [09/2023 - ] >> Procedure
April 5, 2026: LEMON Manuals is launched! Read the announcement.

Disassembly [09/2023 - ]: Procedure

WARNING: This page is about a different variant/trim than selected.
  1. REMOVE TRANSFER AND TRANSAXLE SETTING STUD BOLT 
    1. GTY1062245Courtesy of © TOYOTA, LICENSE AGREEMENT TMS1002
      1. Using 2 nuts, remove the 4 transfer and transaxle setting stud bolts.
  2. SECURE TRANSFER ASSEMBLY 
    1. GTY1033255Courtesy of © TOYOTA, LICENSE AGREEMENT TMS1002
  3. REMOVE TRANSFER CASE STRAIGHT PIN 
    1. GTY1033256Courtesy of © TOYOTA, LICENSE AGREEMENT TMS1002
  4. REMOVE NO. 1 TRANSFER CASE PLUG 
    1. GTY1033258Courtesy of © TOYOTA, LICENSE AGREEMENT TMS1002
  5. REMOVE TRANSFER DRAIN PLUG 
    1. GTY1062680Courtesy of © TOYOTA, LICENSE AGREEMENT TMS1002
      1. Using a 10 mm hexagon socket wrench, remove the transfer drain plug and gasket.
  6. REMOVE TRANSFER FILLER PLUG 
    1. GTY1063066Courtesy of © TOYOTA, LICENSE AGREEMENT TMS1002
      1. Using a 10 mm hexagon socket wrench, remove the transfer filler plug and gasket.
  7. REMOVE TRANSFER CASE BREATHER PLUG 
    1. GTY1062330Courtesy of © TOYOTA, LICENSE AGREEMENT TMS1002
      1. Using a chisel and hammer, slightly pry out the transfer case breather plug.
      2. Using a screwdriver, lightly pry up and remove the transfer case breather plug.
  8. REMOVE TRANSFER CASE OIL SEAL 

    See step  3

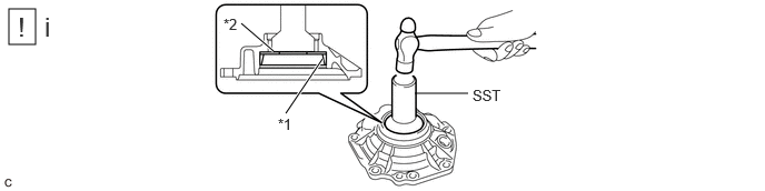
  9. REMOVE TRANSFER CASE OIL SEAL RH 
    1. GTY1062831Courtesy of © TOYOTA, LICENSE AGREEMENT TMS1002
      *1 Transfer Case Oil Seal RH - -
      1. Using SST, remove the transfer case oil seal RH from the No. 1 transfer case cover.
        • SST: 09308-00010 
        NOTE:

        Do not scratch the press-fitting surface of the transfer case oil seal RH.

  10. INSPECT TOTAL PRELOAD 
    1. GTY1063016Courtesy of © TOYOTA, LICENSE AGREEMENT TMS1002
      *a Torque Wrench Fulcrum Length *b Double Nut
      1. Install the double nut to the rear transfer output shaft sub-assembly stud bolt and set a torque wrench into place.

        HINT: 

        Adjust the double nut until the torque wrench is straight.

      2. Using the torque wrench, check the total preload (starting torque) with the teeth of the drive pinion and ring gear in contact.

        Total preload (starting torque) 

        Torque: 0.87 N*m (2.85 N*m (9 kgf*cm, 29 kgf*cm, 8 in.*lbf) 25 in.*lbf) 

        HINT: 

        • When using a torque wrench after changing its effective length, determine the reading of the torque wrench.
          FORMULA T'=T X L2/(L1+L2)

          T' Reading of torque wrench (N*m (kgf*cm, ft.*lbf))
          T Driven pinion preload (N*m (kgf*cm, ft.*lbf))
          L1 Distance from center of rear transfer output shaft sub-assembly to center of stud bolt (cm (in.))
          L2 Length of torque wrench (cm (in.))
          GTY883823Courtesy of © TOYOTA, LICENSE AGREEMENT TMS1002
        • Distance from center of rear transfer output shaft sub-assembly to center of stud bolt (effective length of 38.9 mm (1.53 in.)) when using a torque wrench (effective length of 160 mm (6.30 in.)):

          0.70 to 2.29 N*m (8 to 23 kgf*cm, 7 to 20 in.*lbf)

  11. INSPECT RING GEAR BACKLASH 
    1. GTY1061818Courtesy of © TOYOTA, LICENSE AGREEMENT TMS1002
      1. Insert a dial indicator through the transfer filler plug hole, and set it perpendicular to the edge of a ring gear tooth.

        If the backlash is not within the specified range, adjust the backlash or repair as necessary.

      2. While securing the rear transfer output shaft sub-assembly by hand, rotate the transfer ring gear mounting case forward and backward by hand and measure the backlash of the ring gear and driven pinion.

        Standard Backlash

        0.10 to 0.20 mm (0.00394 to 0.00787 in.)

        NOTE:

        Measure the ring gear at 3 or more locations.

  12. REMOVE NO. 1 TRANSFER CASE COVER 
    1. GTY1059577Courtesy of © TOYOTA, LICENSE AGREEMENT TMS1002
    2. GTY1063073Courtesy of © TOYOTA, LICENSE AGREEMENT TMS1002
      1. Using a brass bar and hammer, remove the No. 1 transfer case cover from the transfer case.
        NOTE:
        • Put the brass bar against the rib of the No. 1 transfer case cover.
        • When removing the No. 1 transfer case cover, be careful not to scratch the installation surface.

        HINT: 

        To prevent the No. 1 transfer case cover from falling, leave 2 of the bolts screwed in by 5 or 6 threads.

  13. REMOVE TRANSFER RING GEAR 
    1. GTY1033510Courtesy of © TOYOTA, LICENSE AGREEMENT TMS1002
  14. REMOVE TRANSFER CASE STRAIGHT PIN 
    1. GTY1033250Courtesy of © TOYOTA, LICENSE AGREEMENT TMS1002
  15. INSPECT DRIVEN PINION PRELOAD 
    1. GTY1062882Courtesy of © TOYOTA, LICENSE AGREEMENT TMS1002
      *a Torque Wrench Fulcrum Length *b Double Nut
      1. Install the double nut to the rear transfer output shaft sub-assembly stud bolt and set a torque wrench into place.

        HINT: 

        Adjust the double nut until the torque wrench is straight.

      2. Using the torque wrench, check the driven pinion preload (starting torque) with the teeth of the drive pinion and ring gear in contact.

        Driven pinion preload (starting torque) 

        Torque: 0.39 N*m (2.21 N*m (4 kgf*cm, 22 kgf*cm, 4 in.*lbf) 19 in.*lbf) 

        HINT: 

        • When using a torque wrench after changing its effective length, determine the reading of the torque wrench.
          FORMULA T'=T X L2/(L1+L2)

          T' Reading of torque wrench (N*m (kgf*cm, ft.*lbf))
          T Driven pinion preload (N*m (kgf*cm, ft.*lbf))
          L1 Distance from center of rear transfer output shaft sub-assembly to center of stud bolt (cm (in.))
          L2 Length of torque wrench (cm (in.))
          GTY883823Courtesy of © TOYOTA, LICENSE AGREEMENT TMS1002
        • Distance from center of rear transfer output shaft sub-assembly to center of stud bolt (effective length of 38.9 mm (1.53 in.)) when using a torque wrench (effective length of 160 mm (6.30 in.)):

          0.32 to 1.77 N*m (4 to 18 kgf*cm, 3 to 15 in.*lbf)

  16. REMOVE REAR TRANSFER OUTPUT SHAFT SUB-ASSEMBLY 
    1. GTY1033251Courtesy of © TOYOTA, LICENSE AGREEMENT TMS1002
  17. REMOVE TRANSFER DRIVEN PINION 
    1. GTY1063127Courtesy of © TOYOTA, LICENSE AGREEMENT TMS1002
      1. Mount the rear transfer output shaft sub-assembly in a vise between aluminum plates.
        NOTE:

        Do not overtighten the vise.

      2. Using SST and a hammer, unstake the transfer gear nut.
        • SST: 09930-00010 
        NOTE:
        • Be sure to use SST with the tapered surface facing the shaft.
        • Do not grind the tip of SST with a grinder or other device.
        • Completely loosen the staked part of the transfer gear nut when removing it.
        • Do not damage the threads of the rear transfer output shaft sub-assembly.
      3. Using a 30 mm socket wrench, remove the transfer gear nut.
    2. GTY1061917Courtesy of © TOYOTA, LICENSE AGREEMENT TMS1002
      1. Using SST and a press, remove the transfer driven pinion from the rear transfer output shaft sub-assembly.
        • SST: 09950-00020 
        • SST: 09950-60011 
          1. 09951-00240
        • SST: 09950-70010 
          1. 09951-07100
        NOTE:

        Support the front transfer driven pinion bearing as shown in the illustration to avoid placing stress on the outer race.

  18. REMOVE REAR TRANSFER OUTPUT SHAFT DUST DEFLECTOR 
    1. GTY1062769Courtesy of © TOYOTA, LICENSE AGREEMENT TMS1002
      1. Using SST and a press, remove the rear transfer output shaft dust deflector from the rear transfer output shaft sub-assembly.
        • SST: 09950-00020 
  19. REMOVE FRONT TRANSFER DRIVEN PINION BEARING 
    1. GTY1062081Courtesy of © TOYOTA, LICENSE AGREEMENT TMS1002
      1. Using SST and a press, remove the front transfer driven pinion bearing from the transfer driven pinion.
        • SST: 09950-00020 
        • SST: 09950-60011 
          1. 09951-00410
        • SST: 09950-70010 
          1. 09951-07100
        NOTE:

        Support the front transfer driven pinion bearing as shown in the illustration to avoid placing stress on the outer race.

    2. GTY1060252Courtesy of © TOYOTA, LICENSE AGREEMENT TMS1002
  20. REMOVE TRANSFER OUTPUT SHAFT WASHER 
    1. GTY1033507Courtesy of © TOYOTA, LICENSE AGREEMENT TMS1002
  21. REMOVE RING GEAR MOUNTING CASE BEARING RH 
    1. GTY1061955Courtesy of © TOYOTA, LICENSE AGREEMENT TMS1002
      *a Turn *b Hold
      1. Using SST, remove the ring gear mounting case bearing RH (inner race) from the transfer ring gear mounting case.
        • SST: 09950-40011 
          1. 09951-04010
          2. 09952-04010
          3. 09953-04030
          4. 09954-04010
          5. 09955-04061
          6. 09957-04010
          7. 09958-04011
        • SST: 09950-60011 
          1. 09951-00540
        NOTE:
        • Apply a lubricant to the threads and end of SST.
        • Do not deform the cage of the ring gear mounting case bearing RH (inner race) (when reusing the bearing).
        • Place identification marks on the left and right ring gear mounting case bearings to distinguish them (backside, teeth side). Then store them separately (when reusing the bearings).
    2. GTY1063096Courtesy of © TOYOTA, LICENSE AGREEMENT TMS1002
      *1 Ring Gear Mounting Case Bearing RH (Outer Race) *2 No. 2 Transfer Ring Gear Mounting Case Washer
      1. Using SST and a hammer, remove the No. 2 transfer ring gear mounting case washer and ring gear mounting case bearing RH (outer race) from the No. 1 transfer case cover.
        • SST: 09310-35010 
  22. REMOVE RING GEAR MOUNTING CASE BEARING LH 
    1. GTY1062253Courtesy of © TOYOTA, LICENSE AGREEMENT TMS1002
      *a Turn *b Hold
      1. Using SST, remove the ring gear mounting case bearing LH (inner race) from the transfer ring gear mounting case.
        • SST: 09950-00020 
        • SST: 09950-00030 
        NOTE:
        • Apply a lubricant to the threads and end of SST.
        • Do not deform the cage of the ring gear mounting case bearing LH (inner race) (when reusing the bearing).
        • Place identification marks on the left and right ring gear mounting case bearings to distinguish them (backside, teeth side). Then store them separately (when reusing the bearings).
    2. GTY1062719Courtesy of © TOYOTA, LICENSE AGREEMENT TMS1002
      *1 Ring Gear Mounting Case Bearing LH (Outer Race) *2 No. 1 Ring Gear Mounting Case Washer
      1. Using SST and a hammer, remove the No. 1 ring gear mounting case washer and ring gear mounting case bearing LH (outer race) from the transfer case.
        • SST: 09636-20010 
  23. REMOVE SHAFT SNAP RING 
    1. GTY1062493Courtesy of © TOYOTA, LICENSE AGREEMENT TMS1002
      1. Using a snap ring expander, remove the shaft snap ring.
  24. REMOVE TRANSFER RING GEAR MOUNTING CASE 
    1. GTY1061713Courtesy of © TOYOTA, LICENSE AGREEMENT TMS1002
      1. Using SST and a press, remove the transfer ring gear mounting case from the transfer ring gear.
        • SST: 09950-60011 
          1. 09951-00400
  25. REMOVE BREATHER OIL DEFLECTOR 
    1. GTY1033218Courtesy of © TOYOTA, LICENSE AGREEMENT TMS1002