LEMON Manuals: Even more car manuals for everyone: 1960-2025
Home >> Lexus >> 2024 >> TX 350 Base, FWD >> Repair and Diagnosis >> External Pages >> Different variant/trim >> Section 2 (Transfer Case System - Service Information) >> Transfer Assembly >> Reassembly [09/2023 - ] >> Procedure
April 5, 2026: LEMON Manuals is launched! Read the announcement.

Reassembly [09/2023 - ]: Procedure

WARNING: This page is about a different variant/trim than selected.
  1. INSTALL BREATHER OIL DEFLECTOR 
    1. GTY1033218Courtesy of © TOYOTA, LICENSE AGREEMENT TMS1002

      Torque: 6.5 N*m (66 kgf*cm, 58 in.*lbf) 

  2. INSTALL TRANSFER RING GEAR MOUNTING CASE 
    1. GTY1061928Courtesy of © TOYOTA, LICENSE AGREEMENT TMS1002
      1. Using SST and a press, press the transfer ring gear mounting case into the transfer ring gear.
        • SST: 09316-12010 
        • SST: 09950-60011 
          1. 09951-00560
        NOTE:

        Do not put stress on the teeth of the transfer ring gear.

  3. INSTALL SHAFT SNAP RING 
    1. GTY1062493Courtesy of © TOYOTA, LICENSE AGREEMENT TMS1002
      1. Using a snap ring expander, install a new shaft snap ring.
  4. INSTALL RING GEAR MOUNTING CASE BEARING RH 
    1. GTY1238529Courtesy of © TOYOTA, LICENSE AGREEMENT TMS1002
      *1 No. 2 Transfer Ring Gear Mounting Case Washer *2 Ring Gear Mounting Case Bearing RH (Outer Race)
      1. Install a new No. 2 transfer ring gear mounting case washer to the No. 1 transfer case cover.

        HINT: 

        Install a No. 2 transfer ring gear mounting case washer with the same thickness as the one before the disassembly.

      2. Using SST and a press, press the ring gear mounting case bearing RH (outer race) into the No. 1 transfer case cover.
        • SST: 09950-60021 
          1. 09951-00750
          2. 09952-06010
        • SST: 09950-70010 
          1. 09951-07150
        • SST: 09951-00850 
        NOTE:
        • Press in the ring gear mounting case bearing RH (outer race) and No. 2 transfer ring gear mounting case washer until they fit to the edge.
        • Do not put stress on the rolling contact surface of the ring gear mounting case bearing RH (outer race).
    2. GTY1063049Courtesy of © TOYOTA, LICENSE AGREEMENT TMS1002
      1. Using SST and a press, press the ring gear mounting case bearing RH (inner race) into the transfer ring gear mounting case.
        • SST: 09950-60011 
          1. 09951-00440
          2. 09951-00650
        NOTE:

        Do not deform the ring gear mounting case bearing RH (inner race) cage.

        HINT: 

        When reusing the ring gear mounting case bearing RH, coat the ring gear mounting case bearing RH with Toyota genuine differential gear oil LT 75W-85 or equivalent.

  5. INSTALL RING GEAR MOUNTING CASE BEARING LH 
    1. GTY1061712Courtesy of © TOYOTA, LICENSE AGREEMENT TMS1002
      *1 No. 1 Ring Gear Mounting Case Washer *2 Ring Gear Mounting Case Bearing LH (Outer Race)
      1. Install a new No. 1 ring gear mounting case washer to the transfer case.

        HINT: 

        Install a No. 1 ring gear mounting case washer with the same thickness as the one before the disassembly.

      2. Using SST and a press, press the ring gear mounting case bearing LH (outer race) into the transfer case.
        • SST: 09950-60011 
          1. 09951-00570
          2. 09951-00650
          3. 09952-06010
        • SST: 09950-70010 
          1. 09951-07150
        NOTE:
        • Press in the ring gear mounting case bearing LH (outer race) and No. 1 ring gear mounting case washer until they fit to the edge.
        • Do not put stress on the rolling contact surface of the ring gear mounting case bearing LH (outer race).
    2. GTY1062714Courtesy of © TOYOTA, LICENSE AGREEMENT TMS1002
      1. Using SST and a press, press the ring gear mounting case bearing LH (inner race) into the transfer ring gear mounting case.
        • SST: 09336-16010 
        • SST: 09950-60011 
          1. 09951-00560
        NOTE:

        Do not deform the ring gear mounting case bearing LH (inner race) cage.

        HINT: 

        When reusing the ring gear mounting case bearing LH, coat the ring gear mounting case bearing LH with Toyota genuine differential gear oil LT 75W-85 or equivalent.

  6. INSTALL TRANSFER OUTPUT SHAFT WASHER 
    1. GTY1033507Courtesy of © TOYOTA, LICENSE AGREEMENT TMS1002
  7. INSTALL FRONT TRANSFER DRIVEN PINION BEARING 
    1. GTY1062052Courtesy of © TOYOTA, LICENSE AGREEMENT TMS1002
      1. Using SST and a press, press the front transfer driven pinion bearing into the transfer driven pinion.
        • SST: 09950-60011 
          1. 09951-00440
        • SST: 09950-60021 
          1. 09951-00750
        • SST: 09950-70010 
          1. 09951-07150
        NOTE:

        Do not apply stress to any parts of the front transfer driven pinion bearing inner race or transfer driven pinion other than the flat surfaces.

  8. INSTALL REAR TRANSFER OUTPUT SHAFT DUST DEFLECTOR 
    1. GTY1062888Courtesy of © TOYOTA, LICENSE AGREEMENT TMS1002
      1. Using SST and a press, press a new rear transfer output shaft dust deflector into the rear transfer output shaft sub-assembly.
        • SST: 09316-12010 
        • SST: 09950-60021 
          1. 09951-00680
        NOTE:

        The rear transfer output shaft dust deflector should be installed completely.

  9. INSTALL TRANSFER DRIVEN PINION 
    1. GTY1063061Courtesy of © TOYOTA, LICENSE AGREEMENT TMS1002
      1. Using SST and a press, press the rear transfer output shaft sub-assembly into the transfer driven pinion.
        • SST: 09506-30012 
        • SST: 09950-60021 
          1. 09951-00680
        NOTE:

        Do not apply stress to any parts of the rear transfer output shaft sub-assembly flange or transfer driven pinion other than the flat surfaces.

    2. GTY1061798Courtesy of © TOYOTA, LICENSE AGREEMENT TMS1002
      1. Secure the rear transfer output shaft sub-assembly in a vise between aluminum plates.
        NOTE:

        Do not overtighten the vise.

      2. Using a 30 mm socket wrench, install a new transfer gear nut to the rear transfer output shaft sub-assembly.

        Torque: 360 N*m (3671 kgf*cm, 266 ft.*lbf) 

  10. INSTALL REAR TRANSFER OUTPUT SHAFT SUB-ASSEMBLY 
    1. GTY1062365Courtesy of © TOYOTA, LICENSE AGREEMENT TMS1002
      *1 O-ring - -
      1. Install a new O-ring to the front transfer driven pinion bearing.
        NOTE:
        • Do not damage, deform or crack the O-ring.
        • Firmly install the O-ring into the groove of the front transfer driven pinion bearing.
    2. GTY1061680Courtesy of © TOYOTA, LICENSE AGREEMENT TMS1002
      1. Install the rear transfer output shaft sub-assembly to the transfer case with the 5 bolts.

        Torque: 38 N*m (387 kgf*cm, 28 ft.*lbf) 

        NOTE:

        Do not damage, deform or crack the O-ring.

  11. INSPECT DRIVEN PINION PRELOAD 
    1. GTY1062886Courtesy of © TOYOTA, LICENSE AGREEMENT TMS1002
      *a Torque Wrench Fulcrum Length *b Double Nut
      1. Install the double nut to the rear transfer output shaft sub-assembly stud bolt and set a torque wrench into place.

        HINT: 

        Adjust the double nut until the torque wrench is straight.

      2. Using the torque wrench, check the driven pinion preload (starting torque) with the teeth of the drive pinion and ring gear in contact.

        Driven Pinion Preload (at Starting)

        Item Driven Pinion Preload
        New bearing
        (with anti-rust oil)
        0.39 to 2.21 N*m (4 to 22 kgf*cm, 4 to 19 in.*lbf)
        Reused bearing
        (when coated with gear oil)
        0.39 to 2.21 N*m (4 to 22 kgf*cm, 4 to 19 in.*lbf)
        NOTE:

        Measure the preload after rotating the bearing several times in the forward and backward directions to make sure the bearing is operating correctly.

        HINT: 

        • When using a torque wrench after changing its effective length, determine the reading of the torque wrench.
          FORMULA T'=T X L2/(L1+L2)

          T' Reading of torque wrench (N*m (kgf*cm, ft.*lbf))
          T Driven pinion preload (N*m (kgf*cm, ft.*lbf))
          L1 Distance from center of rear transfer output shaft sub-assembly to center of stud bolt (cm (in.))
          L2 Length of torque wrench (cm (in.))
          GTY883823Courtesy of © TOYOTA, LICENSE AGREEMENT TMS1002
        • Distance from center of rear transfer output shaft sub-assembly to center of stud bolt (effective length of 38.9 mm (1.53 in.)) when using a torque wrench (effective length of 160 mm (6.30 in.)):

          0.32 to 1.77 N*m (4 to 18 kgf*cm, 3 to 15 in.*lbf)

  12. INSTALL TRANSFER RING GEAR 
    1. GTY1062668Courtesy of © TOYOTA, LICENSE AGREEMENT TMS1002
      1. Uniformly apply a light coat of Prussian Blue on both sides of the transfer ring gear teeth.
    2. GTY1033510Courtesy of © TOYOTA, LICENSE AGREEMENT TMS1002
  13. INSTALL NO. 1 TRANSFER CASE COVER 
    1. GTY1059577Courtesy of © TOYOTA, LICENSE AGREEMENT TMS1002

      Torque: 47 N*m (479 kgf*cm, 35 ft.*lbf) 

  14. ADJUST RING GEAR BACKLASH 
    1. GTY1062970Courtesy of © TOYOTA, LICENSE AGREEMENT TMS1002
      1. Insert a dial indicator into the transfer filler plug hole, and place it perpendicular to the edge of a transfer ring gear tooth.
      2. While securing the rear transfer output shaft sub-assembly by hand, rotate the transfer ring gear mounting case forward and backward by hand and measure the backlash of the transfer ring gear and transfer driven pinion.

        Standard Backlash

        0.10 to 0.20 mm (0.00394 to 0.00787 in.)

        NOTE:

        Measure the ring gear at 3 or more locations.

      3. If the result is not within the specified range, select a No. 1 ring gear mounting case washer (for backlash adjustment) and a No. 2 transfer ring gear mounting case washer (for preload adjustment) from the table below and reinstall them to bring the result within the specified range.

        HINT: 

          Insufficient Backlash Excessive Backlash
        No. 1 ring gear mounting case washer
        (for backlash adjustment)
        Increase thickness Decrease thickness
        No. 2 transfer ring gear mounting case washer
        (for preload adjustment)
        Decrease thickness Increase thickness

        No. 1 Ring Gear Mounting Case Washer (for Backlash Adjustment)

        Part No. Thickness Identifying Mark Part No. Thickness Identifying Mark
        36265-42010 1.97 mm (0.0776 in.) A0 36265-42210 2.37 mm (0.0933 in.) C0
        36265-42020 1.99 mm (0.0783 in.) A1 36265-42220 2.39 mm (0.0941 in.) C1
        36265-42030 2.01 mm (0.0791 in.) A2 36265-42230 2.41 mm (0.0949 in.) C2
        36265-42040 2.03 mm (0.0799 in.) A3 36265-42240 2.43 mm (0.0957 in.) C3
        36265-42050 2.05 mm (0.0807 in.) A4 36265-42250 2.45 mm (0.0965 in.) C4
        36265-42060 2.07 mm (0.0815 in.) A5 36265-42260 2.47 mm (0.0972 in.) C5
        36265-42070 2.09 mm (0.0823 in.) A6 36265-42270 2.49 mm (0.0980 in.) C6
        36265-42080 2.11 mm (0.0831 in.) A7 36265-42280 2.51 mm (0.0988 in.) C7
        36265-42090 2.13 mm (0.0839 in.) A8 36265-42290 2.53 mm (0.0996 in.) C8
        36265-42100 2.15 mm (0.0846 in.) A9 36265-42300 2.55 mm (0.1004 in.) C9
        36265-42110 2.17 mm (0.0854 in.) B0 36265-42310 2.57 mm (0.1012 in.) D0
        36265-42120 2.19 mm (0.0862 in.) B1 36265-42320 2.59 mm (0.1020 in.) D1
        36265-42130 2.21 mm (0.0870 in.) B2 36265-42330 2.61 mm (0.1028 in.) D2
        36265-42140 2.23 mm (0.0878 in.) B3 36265-42340 2.63 mm (0.1035 in.) D3
        36265-42150 2.25 mm (0.0886 in.) B4 36265-42350 2.65 mm (0.1043 in.) D4
        36265-42160 2.27 mm (0.0894 in.) B5 36265-42360 2.67 mm (0.1051 in.) D5
        36265-42170 2.29 mm (0.0902 in.) B6 36265-42370 2.69 mm (0.1059 in.) D6
        36265-42180 2.31 mm (0.0909 in.) B7 36265-42380 2.71 mm (0.1067 in.) D7
        36265-42190 2.33 mm (0.0917 in.) B8 36265-42390 2.73 mm (0.1075 in.) D8
        36265-42200 2.35 mm (0.0925 in.) B9 36265-42400 2.75 mm (0.1083 in.) D9

        No. 2 Transfer Ring Gear Mounting Case Washer (for Preload Adjustment)

        Part No. Thickness Identifying Mark Part No. Thickness Identifying Mark
        36266-52010 1.18 mm (0.0465 in.) A0 36266-52230 1.62 mm (0.0638 in.) C2
        36266-52020 1.20 mm (0.0472 in.) A1 36266-52240 1.64 mm (0.0646 in.) C3
        36266-52030 1.22 mm (0.0480 in.) A2 36266-52250 1.66 mm (0.0654 in.) C4
        36266-52040 1.24 mm (0.0488 in.) A3 36266-52260 1.68 mm (0.0661 in.) C5
        36266-52050 1.26 mm (0.0496 in.) A4 36266-52270 1.70 mm (0.0669 in.) C6
        36266-52060 1.28 mm (0.0504 in.) A5 36266-52280 1.72 mm (0.0677 in.) C7
        36266-52070 1.30 mm (0.0512 in.) A6 36266-52290 1.74 mm (0.0685 in.) C8
        36266-52080 1.32 mm (0.0520 in.) A7 36266-52300 1.76 mm (0.0693 in.) C9
        36266-52090 1.34 mm (0.0528 in.) A8 36266-52310 1.78 mm (0.0701 in.) D0
        36266-52100 1.36 mm (0.0535 in.) A9 36266-52320 1.80 mm (0.0709 in.) D1
        36266-52110 1.38 mm (0.0543 in.) B0 36266-52330 1.82 mm (0.0717 in.) D2
        36266-52120 1.40 mm (0.0551 in.) B1 36266-52340 1.84 mm (0.0724 in.) D3
        36266-52130 1.42 mm (0.0559 in.) B2 36266-52350 1.86 mm (0.0732 in.) D4
        36266-52140 1.44 mm (0.0567 in.) B3 36266-52360 1.88 mm (0.0740 in.) D5
        36266-52150 1.46 mm (0.0575 in.) B4 36266-52370 1.90 mm (0.0748 in.) D6
        36266-52160 1.48 mm (0.0583 in.) B5 36266-52380 1.92 mm (0.0756 in.) D7
        36266-52170 1.50 mm (0.0591 in.) B6 36266-52390 1.94 mm (0.0764 in.) D8
        36266-52180 1.52 mm (0.0598 in.) B7 36266-52400 1.96 mm (0.0772 in.) D9
        36266-52190 1.54 mm (0.0606 in.) B8 36266-52410 1.98 mm (0.0780 in.) E0
        36266-52200 1.56 mm (0.0614 in.) B9 36266-52420 2.00 mm (0.0787 in.) E1
        36266-52210 1.58 mm (0.0622 in.) C0 36266-52430 2.02 mm (0.0795 in.) E2
        36266-52220 1.60 mm (0.0630 in.) C1 - - -
  15. ADJUST TOTAL PRELOAD 
    1. GTY1062051Courtesy of © TOYOTA, LICENSE AGREEMENT TMS1002
      *a Torque Wrench Fulcrum Length *b Double Nut
      1. Install the double nut to the rear transfer output shaft sub-assembly stud bolt and set a torque wrench into place.

        HINT: 

        Adjust the double nut until the torque wrench is straight.

      2. Using the torque wrench, check the total preload (starting torque) with the teeth of the drive pinion and ring gear in contact.

        Total Preload (Starting Torque)

        Item Specified Condition
        New bearing (with anti-rust oil) Driven pinion preload + 0.31 to 0.81 N*m (4 to 8 kgf*cm, 3 to 7 in.*lbf)
        Reused bearing (when coated with gear oil) Driven pinion preload + 0.48 to 0.64 N*m (4.9 to 6.5 kgf*cm, 4.3 to 5.6 in.*lbf)
        NOTE:

        Measure the preload after rotating the bearing several times in the forward and backward directions to make sure the bearing is operating correctly.

        HINT: 

        • When using a torque wrench after changing its effective length, determine the reading of the torque wrench.
          FORMULA T'=T X L2/(L1+L2)

          T' Reading of torque wrench (N*m (kgf*cm, ft.*lbf))
          T Driven pinion preload (N*m (kgf*cm, ft.*lbf))
          L1 Distance from center of rear transfer output shaft sub-assembly to center of stud bolt (cm (in.))
          L2 Length of torque wrench (cm (in.))
          GTY883823Courtesy of © TOYOTA, LICENSE AGREEMENT TMS1002
        • New bearing (with anti-rust oil):

          Distance from center of rear transfer output shaft sub-assembly to center of stud bolt (effective length of 38.9 mm (1.53 in.)) when using a torque wrench (effective length of 160 mm (6.30 in.)):

          Driven pinion preload + 0.25 to 0.65 N*m (3 to 6 kgf*cm, 3 to 5 in.*lbf)

        • Reused bearing (when coated with gear oil):

          Distance from center of rear transfer output shaft sub-assembly to center of stud bolt (effective length of 38.9 mm (1.53 in.)) when using a torque wrench (effective length of 160 mm (6.30 in.)):

          Driven pinion preload + 0.39 to 0.51 N*m (4.0 to 5.2 kgf*cm, 3.5 to 4.5 in.*lbf)

      3. If the result is not within the specified range, select a No. 2 transfer ring gear mounting case washer (for preload adjustment) from the table below and reinstall it to bring the result within the specified range.

        HINT: 

          Insufficient Preload Excessive Preload
        No. 2 transfer ring gear mounting case washer
        (for preload adjustment)
        Increase thickness Decrease thickness

        No. 2 Transfer Ring Gear Mounting Case Washer (for Preload Adjustment)

        Part No. Thickness Identifying Mark Part No. Thickness Identifying Mark
        36266-52010 1.18 mm (0.0465 in.) A0 36266-52230 1.62 mm (0.0638 in.) C2
        36266-52020 1.20 mm (0.0472 in.) A1 36266-52240 1.64 mm (0.0646 in.) C3
        36266-52030 1.22 mm (0.0480 in.) A2 36266-52250 1.66 mm (0.0654 in.) C4
        36266-52040 1.24 mm (0.0488 in.) A3 36266-52260 1.68 mm (0.0661 in.) C5
        36266-52050 1.26 mm (0.0496 in.) A4 36266-52270 1.70 mm (0.0669 in.) C6
        36266-52060 1.28 mm (0.0504 in.) A5 36266-52280 1.72 mm (0.0677 in.) C7
        36266-52070 1.30 mm (0.0512 in.) A6 36266-52290 1.74 mm (0.0685 in.) C8
        36266-52080 1.32 mm (0.0520 in.) A7 36266-52300 1.76 mm (0.0693 in.) C9
        36266-52090 1.34 mm (0.0528 in.) A8 36266-52310 1.78 mm (0.0701 in.) D0
        36266-52100 1.36 mm (0.0535 in.) A9 36266-52320 1.80 mm (0.0709 in.) D1
        36266-52110 1.38 mm (0.0543 in.) B0 36266-52330 1.82 mm (0.0717 in.) D2
        36266-52120 1.40 mm (0.0551 in.) B1 36266-52340 1.84 mm (0.0724 in.) D3
        36266-52130 1.42 mm (0.0559 in.) B2 36266-52350 1.86 mm (0.0732 in.) D4
        36266-52140 1.44 mm (0.0567 in.) B3 36266-52360 1.88 mm (0.0740 in.) D5
        36266-52150 1.46 mm (0.0575 in.) B4 36266-52370 1.90 mm (0.0748 in.) D6
        36266-52160 1.48 mm (0.0583 in.) B5 36266-52380 1.92 mm (0.0756 in.) D7
        36266-52170 1.50 mm (0.0591 in.) B6 36266-52390 1.94 mm (0.0764 in.) D8
        36266-52180 1.52 mm (0.0598 in.) B7 36266-52400 1.96 mm (0.0772 in.) D9
        36266-52190 1.54 mm (0.0606 in.) B8 36266-52410 1.98 mm (0.0780 in.) E0
        36266-52200 1.56 mm (0.0614 in.) B9 36266-52420 2.00 mm (0.0787 in.) E1
        36266-52210 1.58 mm (0.0622 in.) C0 36266-52430 2.02 mm (0.0795 in.) E2
        36266-52220 1.60 mm (0.0630 in.) C1 - - -
  16. ADJUST TOOTH CONTACT BETWEEN RING GEAR AND DRIVE PINION 
    1. GTY1061771Courtesy of © TOYOTA, LICENSE AGREEMENT TMS1002
      *a Proper Contact *b Heel Contact
      *c Face Contact *d Select an adjusting washer that will shift the drive pinion closer to the ring gear (*b, *c)
      *e Toe Contact *f Flank Contact
      *g Select an adjusting washer that will shift the drive pinion away from the ring gear (*e, *f) - -
      1. Rotate the rear transfer output shaft sub-assembly several times in the forward and backward directions.
      2. Remove the transfer ring gear and check the tooth contact.
        NOTE:
        • Check the tooth contact at 4 or more locations on the transfer ring gear.
        • When replacing washers (adjusting the backlash, preload or tooth contact pattern), reapply a coat of Prussian Blue.

        HINT: 

        The Prussian Blue pattern indicates the tooth contact points.

      3. In instances of face contact or flank contact, perform the following procedure.

        1. Move and adjust the transfer ring gear using the No. 2 transfer ring gear mounting case washer (for preload adjustment) and the No. 1 ring gear mounting case washer (for backlash adjustment).

      4. In instances of heel contact or toe contact, perform the following procedure.

        1. Select a transfer output shaft washer (for tooth contact adjustment) from the table below, and move and adjust the transfer driven pinion.

        Transfer Output Shaft Washer (for Tooth Contact Adjustment)

        Part No. Thickness Identifying Mark Part No. Thickness Identifying Mark
        36275-52010 1.02 mm (0.0402 in.) 01 36275-52150 1.30 mm (0.0512 in.) 15
        36275-52020 1.04 mm (0.0409 in.) 02 36275-52160 1.32 mm (0.0520 in.) 16
        36275-52030 1.06 mm (0.0417 in.) 03 36275-52170 1.34 mm (0.0528 in.) 17
        36275-52040 1.08 mm (0.0425 in.) 04 36275-52180 1.36 mm (0.0535 in.) 18
        36275-52050 1.10 mm (0.0433 in.) 05 36275-52190 1.38 mm (0.0543 in.) 19
        36275-52060 1.12 mm (0.0441 in.) 06 36275-52200 1.40 mm (0.0551 in.) 20
        36275-52070 1.14 mm (0.0449 in.) 07 36275-52210 1.42 mm (0.0559 in.) 21
        36275-52080 1.16 mm (0.0457 in.) 08 36275-52220 1.44 mm (0.0567 in.) 22
        36275-52090 1.18 mm (0.0465 in.) 09 36275-52230 1.46 mm (0.0575 in.) 23
        36275-52100 1.20 mm (0.0472 in.) 10 36275-52240 1.48 mm (0.0583 in.) 24
        36275-52110 1.22 mm (0.0480 in.) 11 36275-52250 1.50 mm (0.0591 in.) 25
        36275-52120 1.24 mm (0.0488 in.) 12 36275-52260 1.52 mm (0.0598 in.) 26
        36275-52130 1.26 mm (0.0496 in.) 13 36275-52270 1.54 mm (0.0606 in.) 27
        36275-52140 1.28 mm (0.0504 in.) 14 36275-52280 1.56 mm (0.0614 in.) 28

        HINT: 

        If the tooth contact has been adjusted, recheck the backlash, preload and tooth contact pattern.

  17. REMOVE NO. 1 TRANSFER CASE COVER 
    1. GTY1059577Courtesy of © TOYOTA, LICENSE AGREEMENT TMS1002
  18. REMOVE TRANSFER RING GEAR 
    1. GTY1033510Courtesy of © TOYOTA, LICENSE AGREEMENT TMS1002
  19. REMOVE REAR TRANSFER OUTPUT SHAFT SUB-ASSEMBLY 
    1. GTY1033251Courtesy of © TOYOTA, LICENSE AGREEMENT TMS1002
  20. INSTALL TRANSFER CASE STRAIGHT PIN 
    1. GTY1061900Courtesy of © TOYOTA, LICENSE AGREEMENT TMS1002
      1. Using a plastic-faced hammer, install the 4 transfer case straight pins to the locations shown in the illustration.

        Drive in Depth (A)

        10.8 to 11.8 mm (0.425 to 0.465 in.)

        Drive in Depth (B)

        6.5 to 7.5 mm (0.256 to 0.295 in.)

  21. INSTALL REAR TRANSFER OUTPUT SHAFT SUB-ASSEMBLY 
    1. GTY1062826Courtesy of © TOYOTA, LICENSE AGREEMENT TMS1002
      1. Secure the rear transfer output shaft sub-assembly in a vise between aluminum plates.
        NOTE:

        Do not overtighten the vise.

      2. Using a chisel and hammer, stake the transfer gear nut.
        NOTE:

        Fully stake the transfer gear nut along the entire groove.

    2. GTY1061680Courtesy of © TOYOTA, LICENSE AGREEMENT TMS1002
      1. Install the rear transfer output shaft sub-assembly to the transfer case with the 5 bolts.

        Torque: 38 N*m (387 kgf*cm, 28 ft.*lbf) 

        NOTE:

        Do not scratch, twist or break the O-ring.

  22. INSTALL TRANSFER RING GEAR 
    1. GTY1033510Courtesy of © TOYOTA, LICENSE AGREEMENT TMS1002
  23. INSTALL NO. 1 TRANSFER CASE COVER 
    NOTE:
    • Clean and degrease the installation surfaces of the transfer case and No. 1 transfer case cover.
    • Do not damage the installation surface.
    1. GTY1061983Courtesy of © TOYOTA, LICENSE AGREEMENT TMS1002
      *a Seal Packing *b 30°
      *c Seal Width 2.5 to 3.5 mm (0.0984 to 0.138 in.) *d Seal Width 3.0 to 4.0 mm (0.118 to 0.157 in.)
      *e Seal Width 2.0 to 3.0 mm (0.0787 to 0.118 in.) - -
      1. Apply seal packing to the transfer case in a continuous bead at the position shown in the illustration.

        Seal Packing

        Toyota Genuine Seal Packing 1281, Three Bond 1281E or equivalent

        NOTE:
        • After applying seal packing, install the part within 3 minutes and tighten it within 10 minutes.
        • Overlap the seal packing application start and end positions by 10 mm (0.394 in.) or more.
        • Place the seal packing application start position within the range (A).
        • Apply seal packing in a continuous line.
    2. GTY1059577Courtesy of © TOYOTA, LICENSE AGREEMENT TMS1002

      Torque: 47 N*m (479 kgf*cm, 35 ft.*lbf) 

  24. INSTALL TRANSFER CASE OIL SEAL 

    See step  4

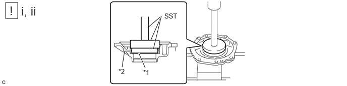
  25. INSTALL TRANSFER CASE OIL SEAL RH 
    1. GTY1062594Courtesy of © TOYOTA, LICENSE AGREEMENT TMS1002
      *1 Transfer Case Oil Seal RH - -
      *a Depth - -
      1. Coat the lip of a new transfer case oil seal RH with MP grease.
      2. Using SST and a hammer, tap in the transfer case oil seal RH as shown in the illustration.
        • SST: 09631-32020 
        • SST: 09223-46011 

        Drive in Depth

        7.5 to 8.5 mm (0.295 to 0.335 in.)

        NOTE:
        • Tap the transfer case oil seal RH uniformly so that the transfer case oil seal RH is straight.
        • Do not tap the transfer case oil seal RH in too far.
  26. INSTALL TRANSFER CASE BREATHER PLUG 
    1. GTY1062351Courtesy of © TOYOTA, LICENSE AGREEMENT TMS1002
      1. Using SST, tap in a new transfer case breather plug until it meets the transfer case.
        • SST: 09612-10093 
          1. 09612-10061
  27. INSTALL TRANSFER FILLER PLUG 
    1. GTY1063066Courtesy of © TOYOTA, LICENSE AGREEMENT TMS1002
      1. Using a 10 mm hexagon socket wrench, install a new gasket and the transfer filler plug.

        Torque: 39 N*m (398 kgf*cm, 29 ft.*lbf) 

  28. INSTALL TRANSFER DRAIN PLUG 
    1. GTY1062680Courtesy of © TOYOTA, LICENSE AGREEMENT TMS1002
      1. Using a 10 mm hexagon socket wrench, install a new gasket and the transfer drain plug.

        Torque: 39 N*m (398 kgf*cm, 29 ft.*lbf) 

  29. INSTALL NO. 1 TRANSFER CASE PLUG 
    1. GTY1033258Courtesy of © TOYOTA, LICENSE AGREEMENT TMS1002

      Torque: 49 N*m (500 kgf*cm, 36 ft.*lbf) 

  30. REMOVE TRANSFER ASSEMBLY 
    1. GTY1033255Courtesy of © TOYOTA, LICENSE AGREEMENT TMS1002
  31. INSTALL TRANSFER AND TRANSAXLE SETTING STUD BOLT 
    1. GTY1062775Courtesy of © TOYOTA, LICENSE AGREEMENT TMS1002
      *a Adhesive 1324 *b 64 mm (2.52 in.)
      1. Using 2 nuts, install 4 new transfer and transaxle setting stud bolts in the locations shown in the illustration.

        Torque: 39.2 N*m (400 kgf*cm, 29 ft.*lbf) 

        NOTE:

        Install the shorter threaded part of each stud bolt to the transfer side.