LEMON Manuals: Even more car manuals for everyone: 1960-2025
Home >> Mazda >> 1985 >> RX-7 GSL, Standard >> Repair and Diagnosis >> Engine Performance >> System >> Auxiliary Control Device >> Component Testing >> Control Unit
April 5, 2026: LEMON Manuals is launched! Read the announcement.

Control Unit

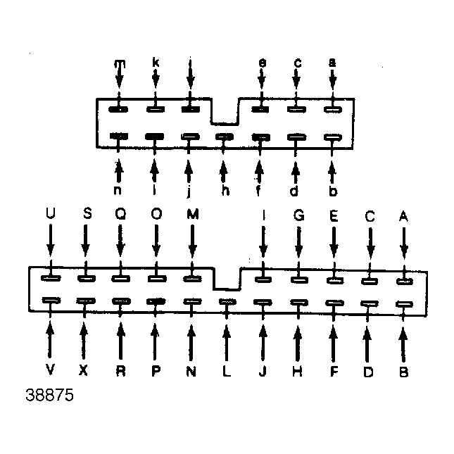
  1. Engine must be at normal operating temperature and transmission in Neutral (Park on A/T models). Check the control unit according to Control Unit Testing chart.
  2. When more than 1 Checking Condition is listed, all conditions must be checked. Connect the negative probe of voltmeter to terminal "P" and positive probe to other terminals as described.
  3. If a problem exists, check circuit to which terminal is connected. If circuit is normal, replace control unit.
Fig 1: Terminal Locations of Control Unit Unit is located under left side of dashboard.
G38875