LEMON Manuals: Even more car manuals for everyone: 1960-2025
Home >> Mazda >> 1991 >> 323 Base, Standard >> Repair and Diagnosis (Single Page) >> Accessories & Equipment >> Wiper/Washer Systems >> Component Testing >> Testing Rear Wiper Switch >> Notes
April 5, 2026: LEMON Manuals is launched! Read the announcement.

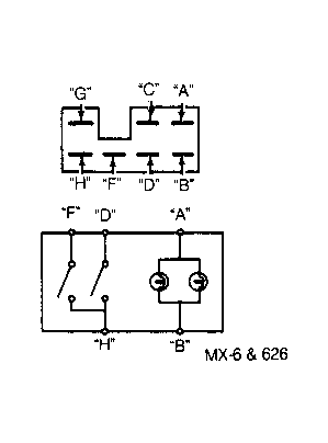
Testing Rear Wiper Switch: Notes

NOTE: Refer to Figure -Figure when conducting the following tests.