LEMON Manuals: Even more car manuals for everyone: 1960-2025
Home >> Mazda >> 2003 >> B2300 Base, Automatic >> Repair and Diagnosis >> External Pages >> Different car >> Section 236 (Security System And Locks System) >> Hood Switch Removal/Installation
April 5, 2026: LEMON Manuals is launched! Read the announcement.

Hood Switch Removal/Installation

WARNING: This page is about a different car, the 2004 Mazda MPV. However, it is still accessible from the selected car via links, so may be relevant.
  1. Disconnect the negative battery cable.
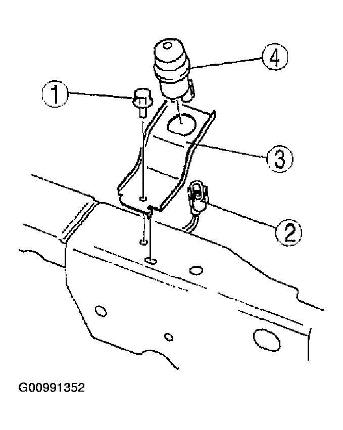
  2. Remove in the order indicated in the figures.
    Fig 1: Continuity Table Hood Switch
    G00991351Courtesy of MAZDA MOTORS CORP.
    Fig 2: Removing/Installing Hood Switch
    G00991352Courtesy of MAZDA MOTORS CORP.
  3. Install in the reverse order of removal.