LEMON Manuals: Even more car manuals for everyone: 1960-2025
Home >> Mazda >> 2003 >> MPV ES >> Repair and Diagnosis >> Engine Performance >> System >> Engine Controls [System & Component Testing] >> Air Induction Systems >> Variable Tumble Control System - MAZDA6 (2.3L) >> Variable Tumble Control System (VTCS) Solenoid Valve Inspection
April 5, 2026: LEMON Manuals is launched! Read the announcement.

Variable Tumble Control System (VTCS) Solenoid Valve Inspection

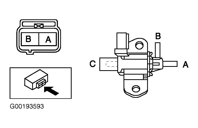
  1. Airflow Inspection

    Disconnect negative battery cable. Remove VTCS solenoid valve. Apply air pressure to port "B". See Figure. Air should flow from port "C". Using fused jumper wires, apply battery voltage to VTCS solenoid valve terminals. Apply air pressure to port "B". Air should flow from port "A". If airflow is as specified, check for open or short circuit. Go to next step. If airflow is not as specified, replace VTCS solenoid valve.
  2. Open Circuit Inspection

    Disconnect PCM and VTCS solenoid valve harness connectors. Using DVOM, check continuity between following terminals:
    • VTCS solenoid valve harness connector terminal "B" and PCM 30-pin harness connector terminal No. 4T (Blue/Orange wire).
    • VTCS solenoid valve terminal "A" and main relay 4-pin harness connector terminal "C" (White wire).

    If continuity is present, go to next step. If continuity is not present, repair open circuit in suspect wire or replace wire harness. See appropriate WIRING DIAGRAM under ENGINE PERFORMANCE in SYSTEM WIRING DIAGRAMS.

  3. Short Circuit Inspection

    Check for continuity between following:
    • VTCS solenoid valve harness connector terminal "B" (Blue/Orange wire) and body GND.
    • VTCS solenoid valve harness connector terminal "A" (White wire) and power supply.

    If continuity is present, repair short circuit in suspect wire or replace wire harness.