LEMON Manuals: Even more car manuals for everyone: 1960-2025
Home >> Mazda >> 2004 >> 3 L4-2.3L >> Repair and Diagnosis >> Specifications >> Mechanical Specifications >> Engine >> Oil Pan, Engine
April 5, 2026: LEMON Manuals is launched! Read the announcement.

Oil Pan, Engine

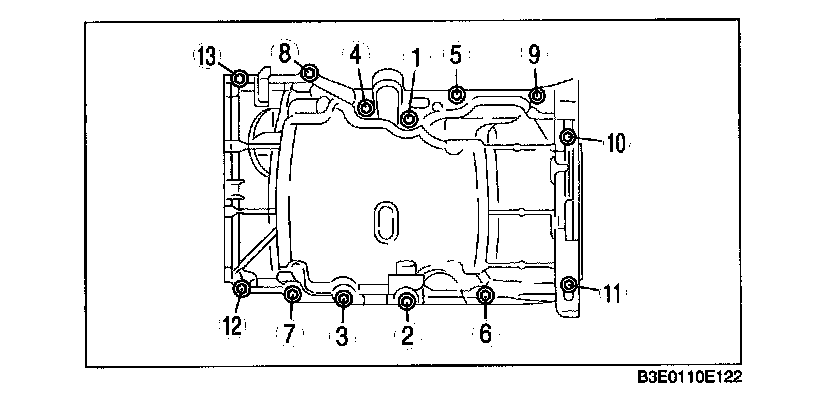
Oil Pan





Tighten the rear oil pan bolts in the order as shown in the figure.
Tightening torque 17-23 N-m (1.8-2.3 kgf-m, 12.6-16.9 ft-lbf)