LEMON Manuals: Even more car manuals for everyone: 1960-2025
Home >> Mazda >> 2004 >> MPV ES >> Repair and Diagnosis >> Body & Frame >> Windows >> Glass/Windows/Mirrors >> Power Outside Mirror Switch Inspection
April 5, 2026: LEMON Manuals is launched! Read the announcement.

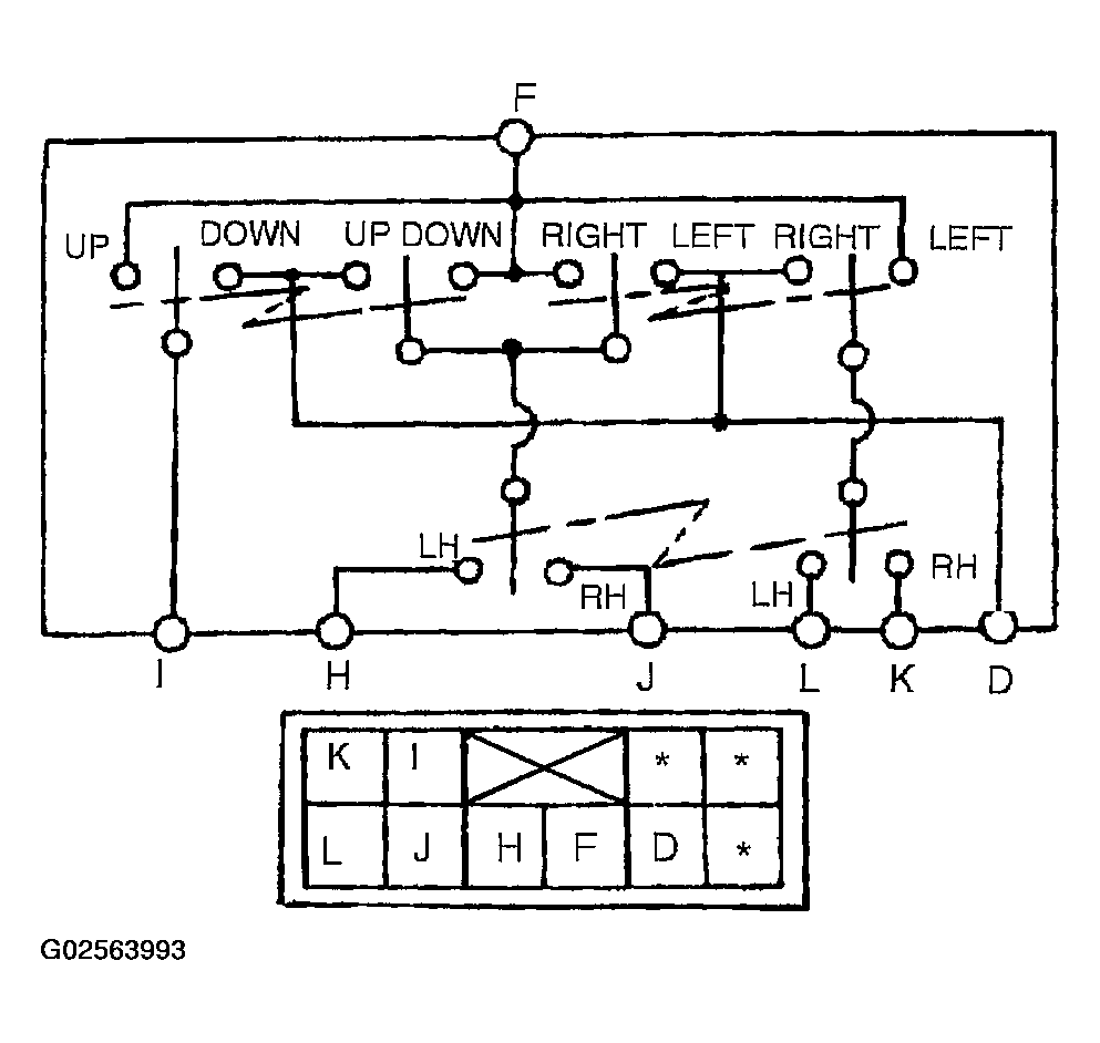
Power Outside Mirror Switch Inspection

  1. Remove the power outside mirror switch. (See POWER OUTSIDE MIRROR SWITCH REMOVAL/INSTALLATION .)
  2. Inspect for continuity between the power outside mirror switch terminals using an ohmmeter.
    • If not as specified, replace the power outside mirror switch.
    Fig 1: Power Outside Mirror Switch Terminals Continuity Specifications
    G02563992Courtesy of MAZDA MOTORS CORP.
    Fig 2: Identifying Power Outside Mirror Switch Circuits, Terminals & Connector View
    G02563993Courtesy of MAZDA MOTORS CORP.