LEMON Manuals: Even more car manuals for everyone: 1960-2025
Home >> Mazda >> 2005 >> 3 i, Standard >> Repair and Diagnosis >> Engine Performance >> System >> On-Board Diagnostic [Engine Control System] >> Control System Wiring Diagram >> California Emission Regulation Applicable Model
April 5, 2026: LEMON Manuals is launched! Read the announcement.

California Emission Regulation Applicable Model

Fig 1: Control System Wiring Diagram - California (1 Of 2)
G03635617Courtesy of MAZDA MOTORS CORP.
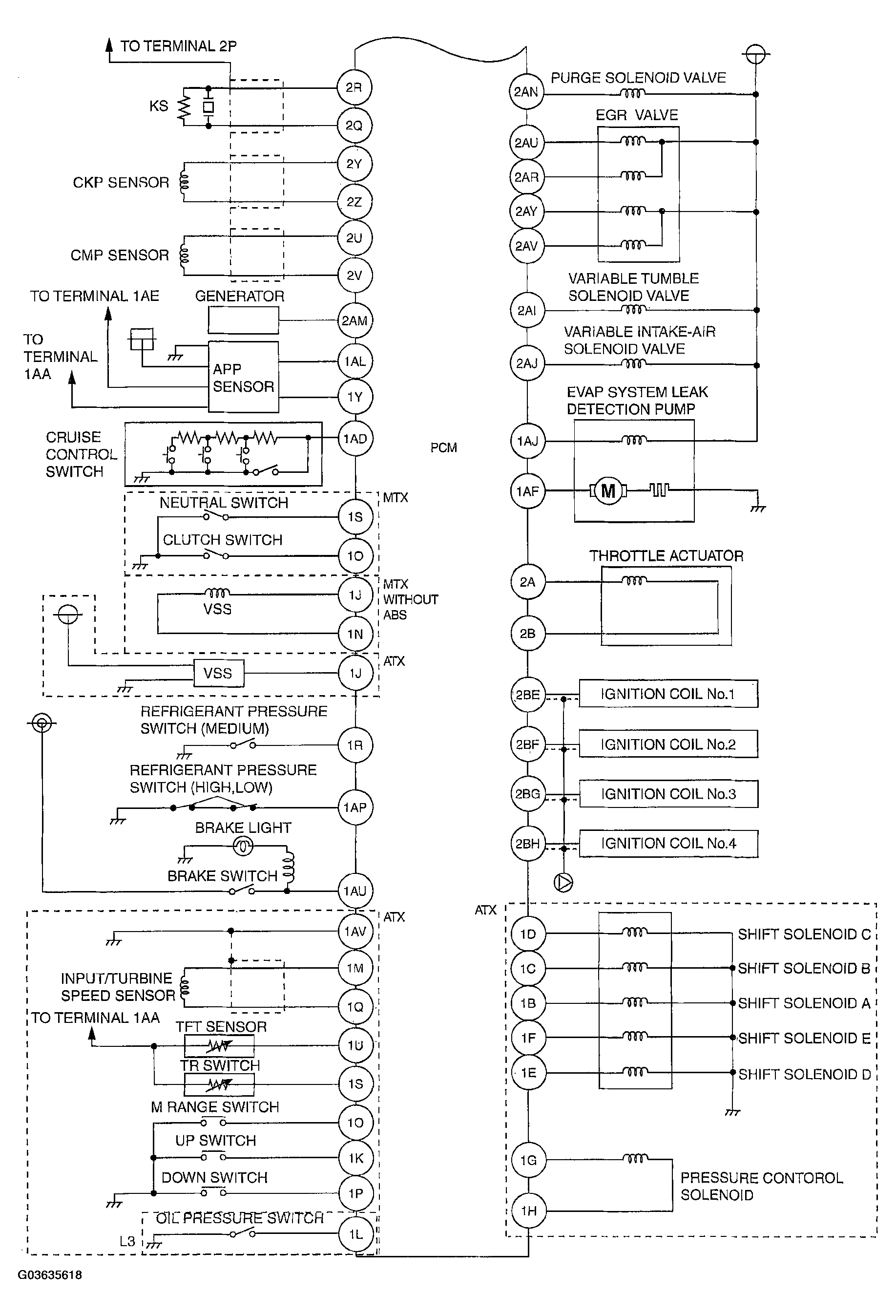
Fig 2: Control System Wiring Diagram - California (2 Of 2)
G03635618Courtesy of MAZDA MOTORS CORP.