LEMON Manuals: Even more car manuals for everyone: 1960-2025
Home >> Mazda >> 2005 >> 3 i, Standard >> Repair and Diagnosis >> Engine Performance >> System >> On-Board Diagnostic [Engine Control System] >> OBD-II Drive Mode >> PCM Adaptive Memory Production, EGR, HO2S heater, HO2S, TWC, and EVAP System Repair Verification Drive Mode
April 5, 2026: LEMON Manuals is launched! Read the announcement.

PCM Adaptive Memory Production, EGR, HO2S heater, HO2S, TWC, and EVAP System Repair Verification Drive Mode

  1. Start the engine and warm it up completely.
  2. Clear the DTC from the PCM memory using the WDS or equivalent.
  3. Verify the following conditions and correct if necessary:
    • All accessory loads (A/C, headlights, blower fan, rear window defroster) are off.
  4. Verify that all of the following PIDs are within the following specifications. All PIDs must be within specifications from Step 5 to Step 6.
    • BARO: more than 72.3 kPa {542 mmHg, 21.3 inHg} 
    • IAT: 5-35 °C {41-95 °F} 
    • FTL: 15-85% 
    • B+: above 10.9 V 
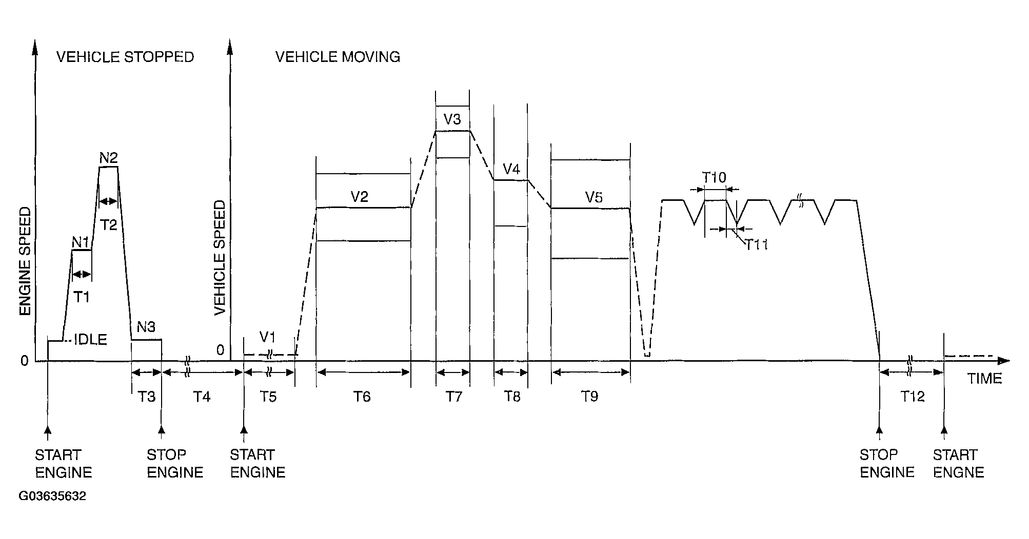
  5. With the vehicle stopped, race the engine at the engine speed indicated, and then drive the vehicle as shown in the graph. The driving conditions before driving at constant speed are not specified. If possible, monitor RPM PID for engine speed during this procedure.
    Fig 1: PCM Adaptive Memory Production, EGR, HO2S Heater, HO2S, TWC, & EVAP System Repair Verification Drive Mode Graph
    G03635632Courtesy of MAZDA MOTORS CORP.
    Step Time Engine speed (rpm) Vehicle speed (km/h {mph}) Vehicle condition
    1 T1: More than 15 s N1: 2,500-3,500   0 {0} -
    2 T2: More than 15 s N3: 4,300-4,700 [LF]
    4,600-5,000 [L3]
      0 {0} -
    3 T3: More than 60 s N3: Idle   0 {0} Idle the engine after the cooling fan has stopped
    4 T4: More than 5 h 0   0 {0} Keep the ignition switch off
    5 T5: More than 15 min Idle V1: 0 {0} -
    6 T6: 5 min - V2: 65-80(40-50} -
    7 T7: 1 min - V3: 79-91 {49-57} MTX: 5TH
    ATX: D range
    8 T8: 1 min - V4: Above 80 {50} MTX: 4TH
    ATX: D range
    Above 89 {55} MTX: 5TH
    ATX: D range
    9 T9: 3 min - V5: 72-89 {45-55} MTX: 5TH
    ATX: D range
    10 T10: Approx. 10 s   Above 2,500 - -
    11 T11: Approx. 10 s - - Decelerate by engine braking only (10 times)
    12 T12: More than 10 min   0   0 {0} Keep the ignition switch off
  6. Turn the ignition switch off.
  7. Access the ON BOARD SYSTEM READINESS to verify the OBD monitoring status.
    • If completed, all of the OBD monitoring status items change from non-completed to completed.
    • If not completed, turn the ignition switch off, then perform the applicable specific drive mode for any monitoring item that was not in the detection condition.
  8. Access the DIAGNOSTIC MONITORING TEST RESULTS to verify the monitor results.
    • If detected values are not within specification, repair has not been completed.