LEMON Manuals: Even more car manuals for everyone: 1960-2025
Home >> Mazda >> 2006 >> 3 L4-2.0L >> Repair and Diagnosis >> Specifications >> Mechanical Specifications >> Engine >> System Specifications >> Tightening Torques
April 5, 2026: LEMON Manuals is launched! Read the announcement.

Tightening Torques

Cylinder Head





Measure the length of each cylinder head bolt.
Replace any that exceeds maximum length.
Cylinder Head Bolt Length L 145.2 - 145.8 mm (5.717 - 5.740 in)
Cylinder Head Bolt Maximum 146.5 mm (5.767 in)





Tighten the cylinder head bolts in the order shown with the following 5 steps using the SST (49 D032 316).
Tightening torque
(1) 3 - 11 Nm (30.6 - 112 kgf-cm, 26.6 - 97.3 in-lbf)
(2) 13 - 17 Nm (1.4 - 1.7 kgf-m, 9.59 - 12.5 ft-lbf)
(3) 43 - 47 Nm (4.4 - 4.7 kgf-m, 31.8 - 34.6 ft-lbf)
(4) 88° - 92°
(5) 88° - 92°


Camshaft Bearing





Tighten the camshaft cap bolts in the order shown with the following two steps.
Tighten torque
(1) 5.0 - 8.0 Nm (51.0 - 81.5 kgf-cm, 44.3 - 70.8 in-lbf)
(2) 14 - 17 Nm (1.5 - 1.7 kgf-m, 10.4 - 12.5 ft-lbf)


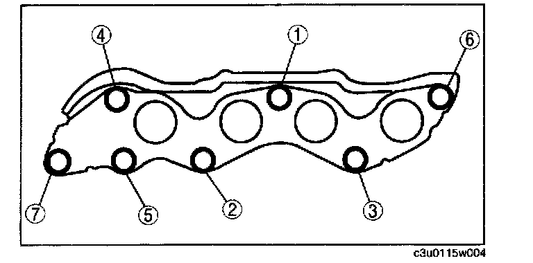
Exhaust Manifold
Tighten the exhaust manifold installation nuts in the order shown in the figure.





Tightening torque 43 - 64 Nm (4.4 - 6.5 kgf-m, 32 - 47 ft-lbf)


Water Pump