LEMON Manuals: Even more car manuals for everyone: 1960-2025
Home >> Mazda >> 2007 >> 6 Mazdaspeed >> Repair and Diagnosis (Single Page) >> Accessories & Equipment >> Anti-Theft Systems >> Security System And Locks System >> Immobilizer System Component Replacement/Key Addition And Clearing [With Advanced Keyless System] >> No. 5 Resetting Procedure for the Immobilizer System when Replacing the PCM, Keyless Control Module, or Steering Lock Unit >> Procedure
April 5, 2026: LEMON Manuals is launched! Read the announcement.

No. 5 Resetting Procedure for the Immobilizer System when Replacing the PCM, Keyless Control Module, or Steering Lock Unit: Procedure

Fig 1: Replacement Key
G04327379Courtesy of MAZDA MOTORS CORP.
  1. Prepare two or more keys to be programmed after the key ID number is cleared.
  2. Connect the M-MDS to the DLC-2. (See M-MDS Connecting Procedure ).
  3. Using key 1, turn the ignition switch to the ON position.
    NOTE:
    • Although the security light flashes and DTC 15 or 21 is displayed, this does not indicate an improper procedure. Continue to perform the procedure as indicated.
  4. Verify that the keyless warning light illuminates for approx. 3 s  and then goes out.
  5. Select "BODY/SECURITY/PATS (immobilizer) function" from the M-MDS screen menu.
  6. Select "Ignition key ID number clearing" from the M-MDS screen menu and perform the procedure according to the M-MDS screen.
  7. Perform the security access according to the directions on the M-MDS screen. (See SECURITY ACCESS PROCEDURE ).
    CAUTION:
    • The M-MDS displays "At least two or more keys must be programmed", however, do not perform the key programming and proceed to Step  8 or  9. If the procedure is not followed, the engine may not be started.

      The key programming procedure is performed at Step  12-- 15.

  8. Perform the card key programming, (when the keyless control module is replaced) (See CARD KEY ID CODE REGISTRATION [WITH ADVANCED KEYLESS SYSTEM] ).
  9. Perform the steering lock unit programming, (when either the keyless control module or steering lock unit is replaced) (See STEERING LOCK UNIT ID CODE REGISTRATION [WITH ADVANCED KEYLESS SYSTEM] ).
  10. After verifying that the PATS function menu is displayed again on the M-MDS screen, select "Finish (this menu)" to finish the M-MDS procedure.
  11. After Step 11, wait 5 s or more  and then turn the ignition switch to the LOCK position.
  12. Using key 1, turn the ignition switch to the ON position.
  13. After verifying that the security light and keyless warning light illuminate for 3 s or more, turn the ignition switch to the LOCK position and remove key 1.
    NOTE:
    • Although the security light flashes and DTC 21 is displayed, this does not indicate an improper procedure. Continue to perform the procedure as indicated.
  14. Using key 2, turn the ignition switch to the ON position.
  15. Verify that the security light and keyless warning light illuminate for approx. 3 s,  and then goes out.
  16. After verifying that the security light goes out, turn the ignition switch to the LOCK position using key 2, and then remove key 2.
  17. If additional keys need to be programmed, repeat Steps  15-17 with the additional key to be programmed being key 3. If the ignition switch is held in the ON position for 1 min or more,  additional key programming according to Steps  15--17 will not be possible. If this occurs, refer to " NO.1 ADDITIONAL KEY PROGRAMMING PROCEDURE (USING TWO VALID KEYS) " to program any additional keys.
  18. Start the engine with key 1.
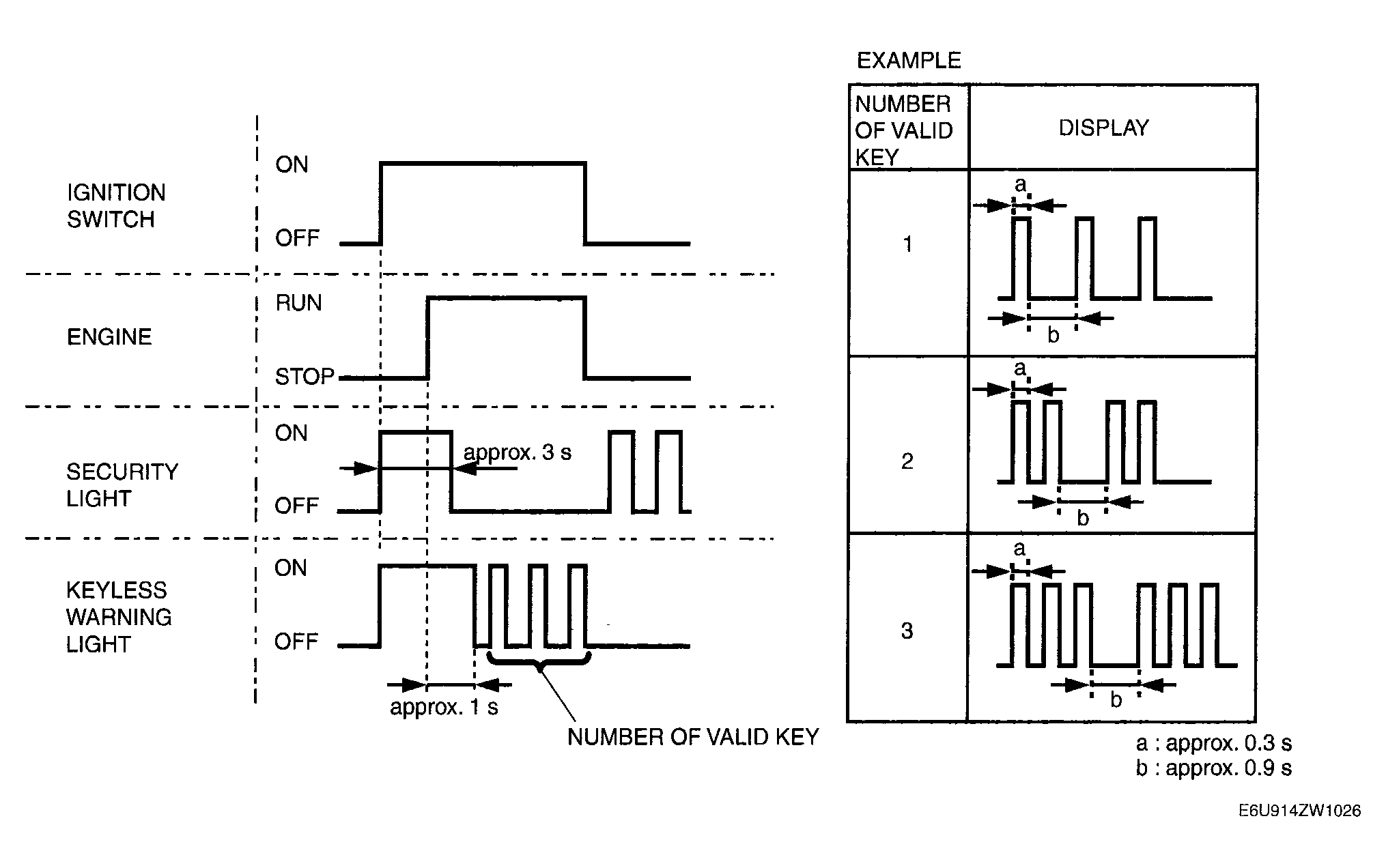
  19. Verify that the security light and keyless warning light operate as follows:
    • From the point when the ignition switch is turned to the ON position, the security light illuminates for approx. 3 s  , and goes out.
    • The keyless warning light illuminates when the ignition switch is turned to the ON position, and the light goes out after approx. 1 s  , and then displays the number of the programmed keys.
      Fig 2: Identifying Blinking Pattern
      G04327380Courtesy of MAZDA MOTORS CORP.
  20. After verifying that the keyless warning light goes out, turn the ignition switch to the LOCK position using key 1, and then remove the key.
  21. Repeat Steps  19--21 using key 2 instead of key 1.
    NOTE:
    • Perform Steps  19--21 as well when three or more keys are to be programmed.
  22. Start the engine using the card key.
    CAUTION:
    • Remove any key from the key cylinder.
  23. Verify that the security light and keyless warning light operate as follows:
    • From the point that ignition switch is turned to the ON position, the security light illuminates for approx. 3 s  , and goes out.
    • The keyless warning light illuminate when the ignition switch is turned to the ON position for approx. 1 min,  and goes out.
  24. After verifying that the keyless warning light goes out, turn the ignition switch to the LOCK position.