LEMON Manuals: Even more car manuals for everyone: 1960-2025
Home >> Mazda >> 2007 >> Mazdaspeed3 L4-2.3L Turbo >> Repair and Diagnosis >> Transmission and Drivetrain >> Manual Transmission/Transaxle >> Service and Repair >> Overhaul >> Overhaul Procedures A26M-R >> Secondary Shaft (No.1) Components Assembly >> 1ST Gear, 1ST Synchronizer Ring, 1ST/2ND Clutch Hub Component Assembly Note
April 5, 2026: LEMON Manuals is launched! Read the announcement.

1ST Gear, 1ST Synchronizer Ring, 1ST/2ND Clutch Hub Component Assembly Note

1st Gear, 1st Synchronizer Ring, 1st/2nd Clutch Hub Component Assembly Note





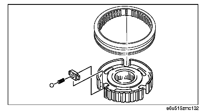
1. Place the 1st gear, 1st inner ring, 1st middle ring, 1st synchronizer ring, 1st/2nd clutch hub.

Caution: Align each clutch ring with the gear and clutch hub correctly.





2. Assemble the synchronizer key, spring, steel ball, and clutch hub sleeve as shown in the figure.





3. Press fit the 1st/2nd clutch hub component using the SST and a press.