LEMON Manuals: Even more car manuals for everyone: 1960-2025
Home >> Mazda >> 2010 >> 5 L4-2.3L >> Repair and Diagnosis >> Heating and Air Conditioning >> Control Assembly >> Service and Repair >> Climate Control Unit Disassembly/Assembly - Full-Auto Air Conditioner
April 5, 2026: LEMON Manuals is launched! Read the announcement.

Climate Control Unit Disassembly/Assembly - Full-Auto Air Conditioner




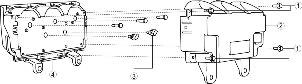
CLIMATE CONTROL UNIT DISASSEMBLY/ASSEMBLY [FULL-AUTO AIR CONDITIONER]

1. Disassemble in the order indicated in the table.
Without car-navigation unit










With car-navigation unit










2. Assemble in the reverse order of disassembly.