LEMON Manuals: Even more car manuals for everyone: 1960-2025
Home >> Mazda >> 2011 >> 6 i Touring Plus >> Repair and Diagnosis >> Engine Performance >> System >> On-Board Diagnostic [Engine Control System MZR 2.5] >> DTC P2017:00 >> Notes
April 5, 2026: LEMON Manuals is launched! Read the announcement.

DTC P2017:00: Notes

DTC DETECTING CONDITION REFERENCE CHART

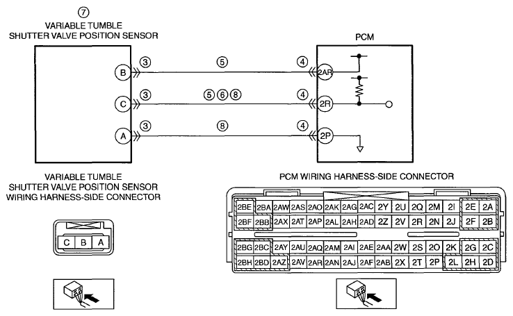
DTC P2017:00 Variable tumble shutter valve position sensor circuit high input
DETECTION CONDITION 
  • The PCM monitors input voltage from SCV position sensor. If input voltage is above 4.9 V for 4.9 s  , the PCM determines that the SCV position sensor circuit has a malfunction.

Diagnostic support note 

  • This is a continuous monitor (CCM).
  • The MIL illuminates if the PCM detects the above malfunction condition during the first drive cycle.
  • FREEZE FRAME DATA (Mode 2)/Snapshot data is available.
  • The DTC is stored in the PCM memory.
POSSIBLE CAUSE 
  • Variable tumble shutter valve position sensor connector or terminal malfunction
  • PCM connector or terminal malfunction
  • Short circuit in variable tumble shutter valve position sensor power supply circuit and signal circuit each other
  • Short to power supply in wiring harness between variable tumble shutter valve position sensor terminal C and PCM terminal 2R
  • Variable tumble shutter valve position sensor malfunction
  • Open circuit in wiring harness between variable tumble shutter valve position sensor terminal C and PCM terminal 2R
  • Open circuit in wiring harness between variable tumble shutter valve position sensor terminal A and PCM terminal 2P
  • PCM malfunction
G07625467Courtesy of MAZDA MOTORS CORP.