LEMON Manuals: Even more car manuals for everyone: 1960-2025
Home >> Mazda >> 2011 >> Tribute 2WD L4-2.5L >> Repair and Diagnosis >> Powertrain Management >> Computers and Control Systems >> Description and Operation >> Engine Control (EC) System >> Part 2
April 5, 2026: LEMON Manuals is launched! Read the announcement.

Part 2




ENGINE CONTROL (EC) SYSTEM

Multiplexing

The increased number of modules on the vehicle necessitates a more efficient method of communication. Multiplexing is a method of sending 2 or more signals simultaneously over a single circuit. In an automotive application, multiplexing is used to allow 2 or more electronic modules to communicate simultaneously over a single media. Typically this media is a twisted pair of wires. The information or messages that can be communicated on these wires consists of commands, status or data. The advantage of using multiplexing is to reduce the weight of the vehicle by reducing the number of redundant components and electrical wiring.

Multiplexing Implementation

Currently Mazda uses CAN communication language protocol to communicate with the PCM.

Permanent DTC

The software stores a permanent DTC in non-volatile random access memory (NVRAM) whenever a DTC is set and the malfunction indicator lamp (MIL) has been illuminated. Permanent DTCs can only be cleared by the module strategy itself. After a permanent DTC is stored, 3 consecutive test passed monitoring cycles must complete before the permanent DTC can be erased. The PCM clears the permanent DTCs after one monitoring cycle if a request to clear DTCs is sent by the scan tool and the test subsequently runs and passes. A permanent DTC cannot be erased by clearing the keep alive memory (KAM). The intended use of the permanent DTC is to prevent vehicles from passing an in-use inspection simply by disconnecting the battery or clearing the DTCs with a scan tool prior to the inspection. The presence of the permanent DTCs at an inspection without the MIL illuminated is an indication that a correct repair was not verified by the on-board monitoring system.

Evaporative Emission (EVAP) Systems

Overview

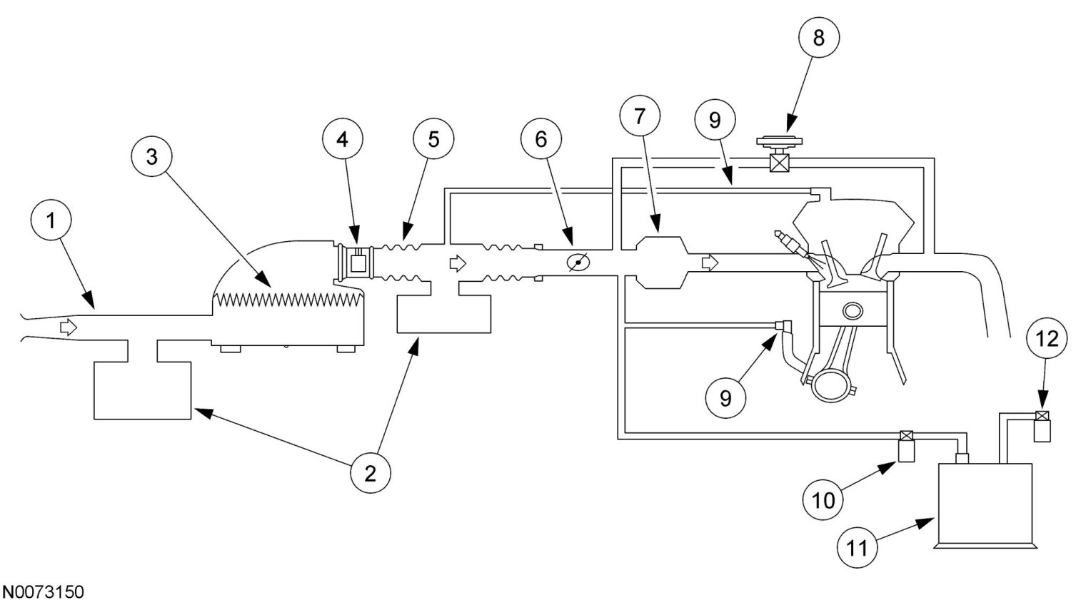
The EVAP system prevents fuel vapor build-up in the sealed fuel tank. Fuel vapors trapped in the sealed tank are vented through the vapor valve assembly on top of the tank. The vapors leave the valve assembly through a single vapor line and continue to the EVAP canister for storage until the vapors are purged to the engine for burning.
All applications required to meet on-board diagnostics (OBD) regulations use the enhanced EVAP system. Some applications also incorporate an on-board refueling vapor recovery (ORVR) system. See Description and Operation for specific information on the description and operation of the evaporative emissions system.

Enhanced Evaporative Emission (EVAP) System

The enhanced EVAP system consists of a fuel tank, fuel filler cap, fuel tank mounted or in-line fuel vapor control valve, fuel vapor vent valve, EVAP canister, fuel tank mounted or fuel pump mounted or in-line fuel tank pressure (FTP) sensor, EVAP canister purge valve or vapor management valve (VMV), intake manifold hose assembly, EVAP canister vent (CV) solenoid, PCM and connecting wires, and fuel vapor hoses. The enhanced EVAP system, including all the fuel vapor hoses, can be checked when a leak is detected by the PCM.






1. The enhanced EVAP system uses inputs from the cylinder head temperature (CHT) sensor, the intake air temperature (IAT) sensor, the mass air flow (MAF) sensor, the vehicle speed and the FTP sensor to provide information about engine operating conditions to the PCM. The fuel level input (FLI) and FTP sensor signals to the PCM are used by the PCM to determine activation of the EVAP leak check monitor based on the presence of vapor generation or fuel sloshing.

2. The PCM determines the desired amount of purge vapor flow to the intake manifold for a given engine condition. The PCM then outputs the required signal to the EVAP canister purge valve. The PCM uses the enhanced EVAP system inputs to evacuate the system using the EVAP canister purge valve, seals the enhanced EVAP system from the atmosphere using the CV solenoid, and uses the FTP sensor to observe total vacuum lost for a period of time.

3. The CV solenoid seals the enhanced EVAP system to atmosphere during the EVAP leak check monitor.

4. the PCM outputs a variable current between 0 and 1,000 mA to control the EVAP canister purge valve.

5. The FTP sensor monitors the fuel tank pressure during engine operation and continuously transmits an input signal to the PCM. During the EVAP monitor testing, the FTP sensor monitors the fuel tank pressure or vacuum bleed-up.

6. A valve inside the fuel tank-mounted fuel vapor tube assembly prevents liquid fuel from entering the EVAP canister and the EVAP canister purge valve under any vehicle altitude, handling, or rollover condition.

Exhaust Gas Recirculation (EGR) Systems

Overview

The EGR system controls the oxides of nitrogen (NOx) emissions. Small amounts of exhaust gases are recirculated back into the combustion chamber to mix with the air/fuel charge. The combustion chamber temperature is reduced, lowering NOx emissions.

Electric Exhaust Gas Recirculation (EEGR) System

Highlights of the EEGR System
- The EEGR valve is activated by an electric stepper motor.
- Engine coolant is routed through the assembly on some vehicle applications. Some vehicle applications are air cooled.

The EEGR system uses exhaust gas recirculation to control the oxides of nitrogen (NOx) emissions just like vacuum operated systems. The only difference is the way in which the exhaust gas is controlled.
The EEGR system consists of an electric motor/EGR valve integrated assembly, a PCM, and connecting wiring. Additionally a manifold absolute pressure (MAP) sensor is also required. Operation of the system is as follows:

Electric Exhaust Gas Recirculation (EEGR) System Overview





1. The EEGR system receives signals from the ECT or CHT sensor, TP sensor, MAF sensor, CKP sensor, and the MAP sensor to provide information on engine operating conditions to the PCM. The engine must be warm, stable, and running at a moderate load and RPM before the EEGR system is activated. The PCM deactivates the EEGR during idle, extended wide open throttle (WOT), or whenever a concern is detected in an EEGR component or EGR required input.

2. The PCM calculates the desired amount of EGR for a given set of engine operating conditions.

3. The PCM in turn outputs signals to the EEGR motor to move (advance or retract) a calibrated number of discrete steps. The electric stepper motor directly actuates the EEGR valve, independent of engine vacuum. The EEGR valve is commanded from 0 to 52 discrete steps to get the EGR valve from a fully closed to fully open position. The position of the EGR valve determines the EGR flow.

4. A MAP sensor is used to measure variations in manifold pressure as exhaust gas recirculation is introduced into the intake manifold. Variations in EGR being used correlate to the MAP signal (increasing EGR increases manifold pressure values).

Fuel Systems

Overview

The fuel system supplies the fuel injectors with clean fuel at a controlled pressure. The PCM controls the fuel pump and monitors the fuel pump circuit. The PCM controls the fuel injector on/off cycle duration and determines the correct timing and amount of fuel delivered. When a new fuel injector is installed it is necessary to reset the learned values contained in the keep alive memory (KAM) in the PCM. See RESETTING THE KEEP ALIVE MEMORY (KAM).

Mechanical Returnless Fuel System (MRFS) - Dual Speed

NOTE:The dual speed MRFS incorporates a fuel pump control module which is used to control the speed of the fuel pump.
The dual speed MRFS uses a fuel tank with reservoir, the fuel pump, the fuel pump control module, the fuel pressure regulator, the fuel filter, the fuel supply line, the fuel rail, fuel injectors, and a Schrader valve/pressure test point (if equipped).
Operation of the system is as follows:
1. The fuel delivery system is enabled during key ON, engine OFF for 1 second and during crank or running mode once the PCM receives a CKP sensor signal.

2. The fuel pump logic is defined in the fuel system control strategy and executed by the PCM.

3. For vehicles with an IFS switch, the switch is used to disable the voltage to the fuel pump control module in the event of a collision. The IFS switch is a safety device that should only be reset after a thorough inspection of the vehicle following a collision. For vehicles without an IFS switch, the fuel pump control module receives a signal from the restraints control module (RCM) to disable the fuel pump in the event of a collision. The signal is sent on a dedicated circuit between the fuel pump control module and RCM.

4. The PCM commands a duty cycle to the fuel pump control module. The fuel pump control module reports diagnostic information to the PCM.

5. The fuel pump control module controls the voltage to the fuel pump (FP) based on the duty cycle request from the PCM. Voltage for the fuel pump is supplied by the fuel pump control module relay. See Fuel Pump Control and Fuel Pump Monitor.

6. A pressure test point valve, the Schrader valve, is located on the fuel rail and is used to measure the fuel injector supply pressure for diagnostic procedures and repairs. On vehicles not equipped with a Schrader valve, use the Rotunda Fuel Pressure Test Kit 134-R0087 or equivalent.

7. The fuel injector is a solenoid-operated valve that meters the fuel flow to each combustion cylinder. The fuel injector is opened and closed a constant number of times per crankshaft revolution. The amount of fuel is controlled by the length of time the fuel injector is held open. The fuel injector is normally closed, and is operated by a 12-volt source from the fuel pump relay. The ground signal is controlled by the PCM.

8. There are 3-5 filtering or screening devices in the fuel delivery system. See Fuel Filters.

9. The FP module contains the fuel pump, the fuel pressure regulator, lifetime fuel filter (if equipped) and the fuel sender assembly. The fuel pressure regulator is attached to the FP module and regulates the pressure of the fuel supplied to the fuel injectors. The fuel pressure regulator controls the pressure of the clean fuel as the fuel returns from the fuel filter. The fuel pressure regulator is a diaphragm-operated relief valve. Fuel pressure is established by a spring preload applied to the diaphragm. The FP module is located in the fuel tank.





Fuel Pump Control - Dual Speed MRFS

The FP signal is a duty cycle command sent from the PCM to the fuel pump control module. The fuel pump control module uses the FP command to operate the fuel pump at the speed requested by the PCM or to turn the fuel pump off. A valid duty cycle to command the fuel pump on, is in the range of 15-47%. The fuel pump control module doubles the received duty cycle and provides this voltage to the fuel pump as a percent of the battery voltage. When the key is turned on, the fuel pump runs for about 1 second and is requested off by the PCM if engine rotation is not detected.Fuel Pump Duty Cycle Output From PCM





Fuel Pump Monitor (FPM) - Dual Speed MRFS

The fuel pump control module communicates diagnostic information to the PCM through the FPM circuit. This information is sent by the fuel pump control module as a duty cycle signal. The 4 duty cycle signals that may be sent are listed in the following table. Fuel Pump Driver Module Duty Cycle Signals





Fuel Filters

The system contains 3-5 filtering or screening devices. Refer to the individual component illustrations for locations.
1. The fuel intake filter or screen is a fine nylon mesh filter mounted on the intake side of the fuel pump. It is part of the assembly and cannot be repaired separately.

2. The filter/screen at the fuel rail port of the injectors is part of the fuel injector assembly and cannot be repaired separately.

3. The filter/screen at fuel inlet side of the fuel pressure regulator is part of the regulator assembly and cannot be repaired separately.

4. The fuel filter assembly is located between the fuel pump (tank) and the pressure test point (Schrader valve) or injectors. This filter may be a lifetime fuel filter located in the fuel pump module or an external 3-port in-line filter that allows clean fuel to return to the fuel tank. A new filter may be installed for the external filter.

5. The fuel filter sock is located on the fuel pump module between the reservoir and the fuel tank.

Pressure Test Point

On some applications there is a pressure test point with a Schrader fitting in the fuel rail that relieves the fuel pressure and measures the fuel injector supply pressure for repair and diagnostic procedures. Before repairing or diagnosing the fuel system, read any WARNING information. On vehicles not equipped with a Schrader valve, use the Mazda Fuel Pressure Test Set 49N0-13-1A0C or equivalent.

Ignition Systems

Overview

The ignition system is designed to ignite the compressed air/fuel mixture in an internal combustion engine by a high-voltage spark delivered from an ignition coil controlled by the PCM.

Integrated Electronic Ignition System

NOTE:Electronic ignition engine timing is entirely controlled by the PCM. Electronic ignition engine timing is not adjustable. Do not attempt to check base timing. You will receive false readings.
The integrated electronic ignition system consists of a crankshaft position (CKP) sensor, coil pack(s), connecting wiring, and a PCM. The COP integrated electronic ignition system eliminates the need for spark plug wires, but does require input from the camshaft position (CMP) sensor. Operation of the components are as follows:






1. The CKP sensor is used to indicate the crankshaft position and speed by sensing a missing tooth on a pulse wheel mounted to the crankshaft. The CMP sensor is used by the COP integrated electronic ignition system to identify the compression stroke of cylinder 1 and to synchronize the firing of the individual coils.

2. The PCM uses the CKP signal to calculate a spark target and then fires the coil pack(s) to that target shown. The PCM uses the CMP sensor to identify the compression stroke of cylinder 1, and to synchronize the firing of the individual coils.

3. The PCM controls the ignition coils after it calculates the spark target. The COP system fires only one spark plug per coil upon synchronization during the compression stroke. For the coil pack ignition system, each coil within a pack fires 2 spark plugs at the same time. The plugs are paired so that as one fires during the compression stroke the other fires during the exhaust stroke. The next time the coil is fired the situation is reversed.The current flow, or dwell, through the primary ignition coil is controlled by the PCM by providing a switched ground path through the ignition coil driver to ground. When the ignition coil driver is switched on, current rapidly builds up to a maximum value, determined by the coil inductance and resistance. When the current is switched off, the magnetic field collapses which induces a secondary high-voltage surge and the spark plug is fired. This high-voltage surge creates a flyback voltage which the PCM uses as a feedback during the ignition diagnostics. The PCM uses the charge current dwell time characteristics to carry out the ignition diagnostics.

4. The PCM processes the CKP signal and uses it to drive the tachometer as the clean tach output (CTO) signal.





Engine Crank/Engine Running

During engine crank the PCM fires 2 spark plugs simultaneously. Of the 2 plugs fired, one is under compression, the other is on the exhaust stroke. Both plugs fire until camshaft position is identified by a successful camshaft position (CMP) sensor signal. Once camshaft position is identified only the cylinder under compression is fired.

Camshaft Position (CMP) Failure Mode Effects Management (FMEM)

During CMP FMEM the COP ignition works the same as during engine crank. This allows the engine to operate without the PCM knowing if cylinder 1 is under compression or exhaust.

Intake Air Systems

Overview

The intake air system provides clean air to the engine, optimizes air flow, and reduces unwanted induction noise. The intake air system consists of an air cleaner assembly, resonator assemblies, and hoses. Some vehicles use a hydrocarbon filter trap to help reduce emissions by preventing fuel vapor from escaping into the atmosphere from the intake when the engine is off. It is typically located inside the intake air system. The mass air flow (MAF) sensor is attached to the air cleaner assembly and measures the volume of air delivered to the engine. The hydrocarbon trap is part of the EVAP system. For more information on the EVAP system, see RESETTING EVAPORATIVE EMISSION (EVAP) SYSTEMS.
The MAF sensor can be replaced as an individual component. The intake air system also contains a sensor that measures the intake air temperature (IAT), which is integrated with the MAF sensor.
Intake air components can be separate components or part of the intake air housing. The function of a resonator is to reduce induction noise. The intake air components are connected to each other and to the throttle body assembly with hoses.










Positive Crankcase Ventilation (PCV) System

Overview

The PCV system cycles crankcase gases back through the intake air system into the engine where they are burned. The PCV valve regulates the amount of ventilated air and blow-by gases to the intake manifold.

CAUTION:Do not remove the PCV system from the engine. Removal of the PCV system will adversely affect the fuel economy and engine ventilation and result in shorter engine life.





PCV systems that comply with OBD PCV monitoring requirements use a quarter-turn cam-lock thread design at one end to prevent accidental disconnection from the valve cover. For more information about the PCV monitor, see POSITIVE CRANKCASE VENTILATION (PCV) SYSTEM MONITOR.

Torque-Based Electronic Throttle Control (ETC)

Overview

The torque-based ETC is a hardware and software strategy that delivers an engine output torque (via throttle angle) based on driver demand (pedal position). It uses an electronic throttle body, the PCM, and an accelerator pedal assembly to control the throttle opening and engine torque.
Torque-based ETC enables aggressive automatic transmission shift schedules (earlier upshifts and later downshifts). This is possible by adjusting the throttle angle to achieve the same wheel torque during shifts, and by calculating this desired torque, the system prevents engine lugging (low RPM and low manifold vacuum) while still delivering the performance and torque requested by the driver. It also enables many fuel economy/emission improvement technologies such as variable camshaft timing (VCT), which delivers same torque during transitions.
Torque-based ETC also results in less intrusive vehicle and engine speed limiting, along with smoother traction control.
Other benefits of torque-based ETC are:

- eliminate cruise control actuators
- eliminate idle air control (IAC) valve
- better airflow range
- packaging (no cable)
- more responsive powertrain at altitude and improved shift quality

The ETC system illuminates a powertrain malfunction indicator (wrench) on the instrument cluster when a concern is present. Concerns are accompanied by DTCs and may also illuminate the malfunction indicator lamp (MIL).


Catalyst and Exhaust Systems

Overview

The catalytic converter and exhaust systems work together to control the release of harmful engine exhaust emissions into the atmosphere. The engine exhaust gas consists mainly of nitrogen (N), carbon dioxide (CO2) and water (H2O). However, it also contains carbon monoxide (CO), oxides of nitrogen (NOx), hydrogen (H), and various unburned hydrocarbons (HCs). CO, NOx, and HCs are major air pollutants, and their emission into the atmosphere must be controlled.
The exhaust system consists of an exhaust manifold, front exhaust pipe, upstream heated oxygen sensor (HO2S), rear exhaust pipe, downstream HO2S, a muffler and an exhaust tailpipe. The catalytic converter is installed between the front and rear exhaust pipes. Catalytic converter efficiency is monitored by the OBD II system.
For information on the OBD II catalyst monitor, see the description for the CATALYST EFFICIENCY MONITOR.
Only 2 HO2Ss are used in an exhaust stream. The front sensors (HO2S11/HO2S21) before the catalyst are used for primary fuel control while the sensors after the catalyst (HO2S12/HO2S22) are used to monitor catalyst efficiency.















Catalytic Converter

A catalyst is a material that remains unchanged when it initiates and increases the speed of a chemical reaction. A catalyst also enables a chemical reaction to occur at a lower temperature. The concentration of exhaust gas products released to the atmosphere must be controlled. The catalytic converter assists in this task. It contains a catalyst in the form of a specially treated ceramic honeycomb structure saturated with catalytically active precious metals. As the exhaust gases come in contact with the catalyst, they are changed into mostly harmless products. The catalyst initiates and speeds up heat producing chemical reactions of the exhaust gas components so they are used up as much as possible.

Light Off Catalyst

As the catalyst heats up, converter efficiency rises rapidly. The point at which conversion efficiency exceeds 50% is called catalyst light off. For most catalysts this point occurs at 246°C to 302°C (475°F to 575°F). A fast light catalyst is a 3-way catalyst (TWC) that is located as close to the exhaust manifold as possible. Because the light off catalyst is located close to the exhaust manifold it lights off faster and reduces emissions more quickly than the catalyst located under the body. Once the catalyst lights off, the catalyst quickly reaches the maximum conversion efficiency for that catalyst.

Three-Way Catalyst (TWC) Conversion Efficiency

A TWC requires a stoichiometric fuel ratio, 14.7 pounds of air to 1 pound of fuel (14.7:1), for high conversion efficiency. In order to achieve these high efficiencies, the air/fuel ratio must be tightly controlled with a narrow window of stoichiometry. Deviations outside of this window greatly decrease the conversion efficiency. For example a rich mixture decreases the HC and CO conversion efficiency while a lean mixture decreases the NOx conversion efficiency.






Exhaust System





The purpose of the exhaust system is to convey engine emissions from the exhaust manifold to the atmosphere. Engine exhaust emissions are directed from the engine exhaust manifold to the catalytic converter through the front exhaust pipe. A HO2S is mounted on the front exhaust pipe before the catalyst. The catalytic converter reduces the concentration of CO, unburned HCs, and NOx in the exhaust emissions to an acceptable level. The reduced exhaust emissions are directed from the catalytic converter past another HO2S mounted in the rear exhaust pipe and then on into the muffler. Finally, the exhaust emissions are directed to the atmosphere through an exhaust tailpipe.

Underbody Catalyst

The underbody catalyst is located after the light off catalyst. The underbody catalyst may be in line with the light off catalyst, or the underbody catalyst may be common to 2 light off catalysts, forming a Y pipe configuration. For a complete view of the catalyst and exhaust system, see - Service and Repair or - .

Three-Way Catalytic (TWC) Converter

The TWC contains either platinum (Pt) and rhodium (Rh) or palladium (Pd) and rhodium (Rh). The TWC catalyzes the oxidation reactions of unburned HCs and CO and the reduction reaction of NOx. The 3-way conversion can be best accomplished by always operating the engine air fuel/ratio at or close to stoichiometry.