LEMON Manuals: Even more car manuals for everyone: 1960-2025
Home >> Mazda >> 2012 >> 6 s Touring Plus >> Repair and Diagnosis (Single Page) >> Electrical >> Wiring Diagrams >> OEM Connector End Views (3.7L) >> Connector End Views >> Auto Light/Wiper Control Module Connector End View
April 5, 2026: LEMON Manuals is launched! Read the announcement.

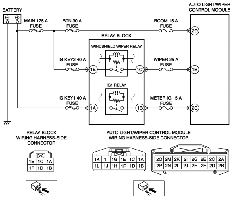
Auto Light/Wiper Control Module Connector End View

Fig 1: Auto Light/Wiper Control Module Connector End View
G08144001Courtesy of MAZDA MOTORS CORP.


Fig 1: Auto Light/Wiper Control Module Connector End View
G08144875Courtesy of MAZDA MOTORS CORP.