LEMON Manuals: Even more car manuals for everyone: 1960-2025
Home >> Mazda >> 2016 >> 6 Touring, Standard Trans >> Repair and Diagnosis >> Engine Performance >> System >> On-Board Diagnostic - Introduction >> OBD-II Drive Mode >> Mode 06 (EVAP System Repair Verification Drive Mode)
April 5, 2026: LEMON Manuals is launched! Read the announcement.

Mode 06 (EVAP System Repair Verification Drive Mode)

NOTE:
  1. Verify that all of the following PIDs are within the following specifications. All PIDs must be within specifications before the engine is started to initiate the evaporative system test.
    • IAT: 5-35 °C {41-95 °F} 
    • FLI: 15-85 % 
    • BARO: Above 72.2 kPa {0.736 kgf/cm 2  , 10.5 psi} 
  2. Start the engine and warm it up completely.
  3. Clear the DTCs from the PCM memory using the M-MDS. (See AFTER REPAIR PROCEDURE [SKYACTIV-G 2.5] .)
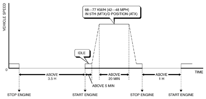
  4. Drive the vehicle as shown in the graph.
    Fig 1: EVAP System Repair Verification Vehicle Speed Graph (Mode 06)
    G10984866Courtesy of MAZDA MOTORS CORP.
  5. Access the ON BOARD SYSTEM READINESS to verify the OBD monitoring status.
    • If completed, the OBD monitoring status items change from non-completed to completed.
    • If not completed, switch the ignition off then go back to Step  1.
  6. Access the DIAGNOSTIC MONITORING TEST RESULTS to verify the monitor results.
    • If detected values are not within specification, repair has not been completed.
  7. Verify that no DTCs are displayed.