LEMON Manuals: Even more car manuals for everyone: 1960-2025
Home >> Mazda >> 2017 >> CX-9 Signature >> Repair and Diagnosis (Single Page) >> Accessories & Equipment >> Anti-Theft Systems >> Security And Locks >> Security And Locks Location Index >> Advanced Keyless Entry System/Push Button Start System/Immobilizer System
April 5, 2026: LEMON Manuals is launched! Read the announcement.

Advanced Keyless Entry System/Push Button Start System/Immobilizer System

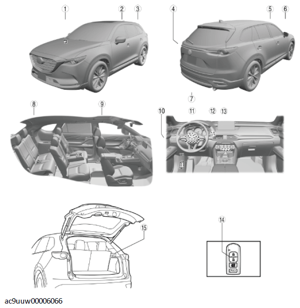
Fig 1: Advanced Keyless Entry System/Push Button Start System/Immobilizer System Components
G11432811Courtesy of MAZDA MOTORS CORP.
COMPONENT DESCRIPTION

1 Keyless beeper
(See KEYLESS BEEPER REMOVAL/INSTALLATION .)
(See KEYLESS BEEPER INSPECTION .)
2 Keyless antenna (exterior, LF))
(See KEYLESS ANTENNA REMOVAL/INSTALLATION .)
3 Request switch (LF)
(See REQUEST SWITCH REMOVAL/INSTALLATION .)
(See REQUEST SWITCH INSPECTION .)
4 Request switch (liftgate)
(See REQUEST SWITCH REMOVAL/INSTALLATION .)
(See REQUEST SWITCH INSPECTION .)
5 Request switch (RF)
(See REQUEST SWITCH REMOVAL/INSTALLATION .)
(See REQUEST SWITCH INSPECTION .)
6 Keyless antenna (exterior, RF)
(See KEYLESS ANTENNA REMOVAL/INSTALLATION .)
7 Keyless antenna (exterior, rear)
(See KEYLESS ANTENNA REMOVAL/INSTALLATION .)
8 Keyless antenna (interior, rear)
(See KEYLESS ANTENNA REMOVAL/INSTALLATION .)
9 Keyless antenna (interior, center)
(See KEYLESS ANTENNA REMOVAL/INSTALLATION .)
10 LF control unit
(See LF CONTROL UNIT REMOVAL/INSTALLATION .)
(See LF CONTROL UNIT INSPECTION .)
11 Start stop unit
(See START STOP UNIT REMOVAL/INSTALLATION .)
(See START STOP UNIT INSPECTION .)
(See START STOP UNIT CONFIGURATION (USING READ/WRITE FUNCTION) .)
(See START STOP UNIT CONFIGURATION (USING AS-BUILT DATA) .)
(See SECURITY AND LOCKS PERSONALIZATION FEATURES SETTING PROCEDURE .)
(See DOOR LOCK SYSTEM OPERATION RECORD .)
(See THEFT-DETERRENT SYSTEM OPERATION RECORD .)
12 Push button start
(See PUSH BUTTON START REMOVAL/INSTALLATION .)
(See PUSH BUTTON START INSPECTION .)
13 Keyless antenna (interior, front)
(See KEYLESS ANTENNA REMOVAL/INSTALLATION .)
14 Remote transmitter
(See REMOTE TRANSMITTER DISASSEMBLY/ASSEMBLY .)
(See REMOTE TRANSMITTER ID CODE REGISTRATION.)
(See CLEARING REMOTE TRANSMITTER .)
(See REMOTE TRANSMITTER BATTERY VOLTAGE INSPECTION .)
15 Keyless receiver
(See KEYLESS RECEIVER REMOVAL/INSTALLATION .)
(See KEYLESS RECEIVER INSPECTION .)