LEMON Manuals: Even more car manuals for everyone: 1960-2025
Home >> Mazda >> 2017 >> CX-9 Signature >> Repair and Diagnosis (Single Page) >> Accessories & Equipment >> Communication Devices >> On-Board Diagnostic - Connectivity Master Unit >> Diagnostic Assist Function [Connectivity Master Unit] >> Diagnostic Assist Code Input Procedure >> Diagnostic assist code input screen
April 5, 2026: LEMON Manuals is launched! Read the announcement.

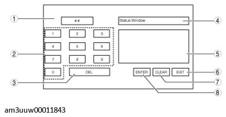
Diagnostic assist code input screen

Fig 1: Display Screen Diagnostic Assist Code Input Procedure
G11275570Courtesy of MAZDA MOTORS CORP.
No. Name Content/function
1 Diagnostic assist code display screen Displays the diagnostic assist code.
2 Diagnostic assist code input switch Inputs the diagnostic assist code.
3 DEL switch Clears the diagnostic assist code.
4 Diagnostic content display screen Displays the diagnostic content.
5 Diagnostic results display screen Displays the diagnostic results.
6 EXIT switch (1)/END switch (2) Cancels the diagnostic assist function./Stops the diagnostic assist function being performed.
7 CLEAR switch Clears the diagnostic result display.
8 ENTER switch Transfers to the diagnostic assist function.
(1) Displayed while the diagnostic assist function is not performed.
(2) Displayed while the diagnostic assist function is being performed.