LEMON Manuals: Even more car manuals for everyone: 1960-2025
Home >> Mazda >> 2024 >> CX-50 S Select >> Repair and Diagnosis >> Engine Performance >> Engine Control Systems >> Symptom Troubleshooting - I-Stop >> I-Stop Function Operates Under No Engine-Stop Conditions >> Notes
April 5, 2026: LEMON Manuals is launched! Read the announcement.

I-Stop Function Operates Under No Engine-Stop Conditions: Notes

I-STOP FUNCTION OPERATES UNDER NO ENGINE-STOP CONDITIONS (SKYACTIV-G VIN Y) DESCRIPTION AND POSSIBLE CAUSE

Troubleshooting item i-stop function operates under no engine-stop conditions
Description
  • i-stop function operates even though system is turned off by pressing i-stop OFF switch.
  • i-stop function operates even though vehicle conditions are for non-operation.
  • i-stop function operates frequently while parking vehicle.
Possible cause i-stop warning light (amber) false illumination 
  • i-stop warning light (amber) illumination circuit malfunction in instrument cluster
  • CAN communication line malfunction between instrument cluster and PCM

False detection of i-stop function operation conditions 
  • Falsely detects that i-stop OFF switch is switched off
    • i-stop OFF switch malfunction
    • Short or open circuit in i-stop OFF switch signal circuit
  • False detection of vehicle not being parked
    • False detection of steering wheel rotation speed
      • Steering angle sensor initialization malfunction
      • EPS control module malfunction
  • False detection of external vehicle temperature within operable range (-10 to 50°C {14 to 122°F})
    • Ambient temperature sensor malfunction (sensor specific malfunction)
    • Short or open circuit in ambient temperature sensor signal circuit
    • Open circuit in ambient temperature sensor ground circuit
  • Falsely detects that vehicle is under safety condition
    • False detection of low power brake unit load
      • Power brake unit vacuum sensor malfunction
      • Short or open circuit in power brake unit vacuum sensor power supply circuit, signal circuit, or ground circuit
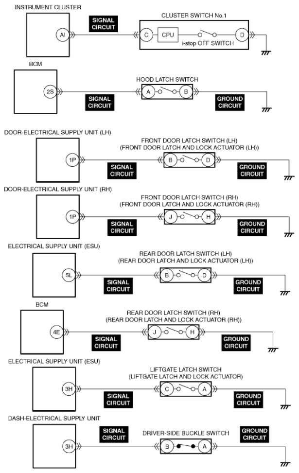
    • False detection of closed hood
      • Hood latch switch malfunction (stuck closed)
      • Short to ground in hood latch switch signal circuit
    • False detection of closed door, liftgate
      • Door latch switch malfunction
      • Liftgate latch switch malfunction
      • Short to ground in door latch switch signal circuit
      • Open circuit in liftgate latch switch signal circuit
    • False detection of fastened driver seat belt
      • Driver-side buckle switch malfunction
      • Open circuit in driver-side buckle switch signal circuit
    • False detection of inclination angle (false detection of 7% or less)
      • Low-G sensor (built-into SAS control module) malfunction (In this case, the SAS control module records DTCs C0061:29 and C0062:29.)
      • Low-G sensor (built-into SAS control module) initialization malfunction (In this case, the SAS control module records DTC U2100:00.)
  • Climate control unit falsely detects that internal vehicle temperature is within operation range.
    • Passenger compartment temperature sensor malfunction (sensor specific or motor malfunction)
    • Short or open circuit in passenger compartment temperature sensor signal circuit
    • Open circuit in passenger compartment temperature sensor ground circuit
  • Falsely detects that climate control unit detects that driver-side air mix door is not in MAX HOT or MAX COLD position even though driver-side air mix door is in MAX HOT or MAX COLD position.
    • Driver-side air mix actuator malfunction
    • Driver-side air mix actuator position sensor malfunction
    • Driver-side air mix door or linkage stuck
G15743758G15743759G15743760G15743761Courtesy of MAZDA MOTORS CORP.MAZDA MOTORS CORP.MAZDA MOTORS CORP.MAZDA MOTORS CORP.
G15743758G15743759G15743760G15743761Courtesy of MAZDA MOTORS CORP.MAZDA MOTORS CORP.MAZDA MOTORS CORP.MAZDA MOTORS CORP.
G15743758G15743759G15743760G15743761Courtesy of MAZDA MOTORS CORP.MAZDA MOTORS CORP.MAZDA MOTORS CORP.MAZDA MOTORS CORP.
G15743758G15743759G15743760G15743761Courtesy of MAZDA MOTORS CORP.MAZDA MOTORS CORP.MAZDA MOTORS CORP.MAZDA MOTORS CORP.