LEMON Manuals: Even more car manuals for everyone: 1960-2025
Home >> Mitsubishi >> 1987 >> Starion ESI-R >> Repair and Diagnosis >> External Pages >> Different car >> Section 2 (Mechanical - Lancer Evolution) >> Timing Chain >> Removal And Installation >> Installation Service Points >> D: Timing Chain Case Assembly Installation
April 5, 2026: LEMON Manuals is launched! Read the announcement.

D: Timing Chain Case Assembly Installation

WARNING: This page is about a different car, the 2008 Mitsubishi Lancer. However, it is still accessible from the selected car via links, so may be relevant.
CAUTION:
  • Be sure to remove the sealant remaining in the mounting hole, O-ring groove, and gap between parts.
  • Use the quick-drying degreasing agent (white gasoline) to degrease, then check that no grease is remaining on the sealant application area.
  • After degreasing with the quick-drying degreasing agent (white gasoline), never touch the degreased area with fingers.
  1. Remove all the traces of sealant adhering to the timing chain case assembly installation surfaces of timing chain case assembly, cylinder block, and cylinder head. Then, degrease the surfaces with the quick-drying degreasing agent (white gasoline).
  2. Remove all the sealant adhering to the gasket between the cylinder head and cylinder block (three-surface aligned part). Then, degrease the surfaces with the quick-drying degreasing agent (white gasoline).
  3. As for the three-surface aligned part that is indicated in Step  2 above, the engine oil oozes from the cylinder head gasket. Thus, quickly apply the sealant to it after degreasing.
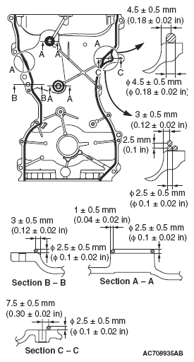
  4. To the timing chain case assembly mating surface, apply the sealant with a width of 2.5 ± 0.5 mm (0.1 ± 0.02 inch) and without a gap. However, with the "A" shown in the figure, apply the sealant with overlapping the diameter of 4.5 ± 0.5 mm (0.18 ± 0.02 inch) or 2.5 ± 0.5 mm (0.1 ± 0.02 inch) as shown in the figure.

    Specified sealant: Three bond 1217G 

    Fig 1: Identifying Timing Chain Case Assembly Mating Surface
    G05392477Courtesy of MITSUBISHI MOTOR SALES OF AMERICA.
    CAUTION:
    • If the sealant contacts any other part during installation of the timing chain case assembly, apply sealant again before installing the timing chain case assembly.
    • Within two hours after the timing chain case assembly installation, do not apply oil or water to the sealant application area or start the engine.
  5. Within three minutes after the application of sealant, install the timing chain case assembly to the cylinder block and cylinder head so that the sealant does not contact other parts.
  6. To the installation positions shown in the figure, tighten the timing chain case assembly mounting bolts to the specified torque shown below.
    TIGHTENING TORQUE SPECIFICATION

    Bolt (symbol) Thread diameter x Length mm Tightening torque
    Flange bolt (A) M6 x 25 10 ± 2 N.m (89 ± 17 in-lb)
    Flange bolt (B) M8 x 28 24 ± 4 N.m (18 ± 2 ft-lb)
    Bolt (C) M6 x 25 10 ± 2 N.m (89 ± 17 in-lb)
    Fig 2: Identifying Timing Chain Case Assembly Mounting Bolts
    G05392478Courtesy of MITSUBISHI MOTOR SALES OF AMERICA.