LEMON Manuals: Even more car manuals for everyone: 1960-2025
Home >> Mitsubishi >> 1990 >> Precis Base, Automatic >> Repair and Diagnosis >> Engine Performance >> System >> Engine Controls - Tests W/Codes >> Test Charts - 1.6L >> Dr-14: Code 43 EGR Temperature Sensor Circuit
April 5, 2026: LEMON Manuals is launched! Read the announcement.

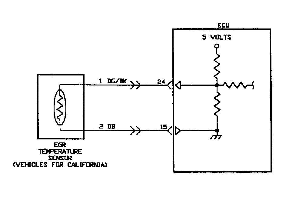
Dr-14: Code 43 EGR Temperature Sensor Circuit

Fig 1: Circuit Diagram DR-14 (1.6L)
G90E15416
Fig 2: Flow Chart DR-14 (1.6L) (1 of 2)
G90H19957
Fig 3: Flow Chart DR-14 (1.6L) (2 of 2)
G90I19958