LEMON Manuals: Even more car manuals for everyone: 1960-2025
Home >> Mitsubishi >> 1990 >> Precis Base, Automatic >> Repair and Diagnosis >> Engine Performance >> System >> Engine Controls - Tests W/Codes >> Test Charts - 1.6L >> Dr-6: Code 14 Throttle Position Sensor Circuit
April 5, 2026: LEMON Manuals is launched! Read the announcement.

Dr-6: Code 14 Throttle Position Sensor Circuit

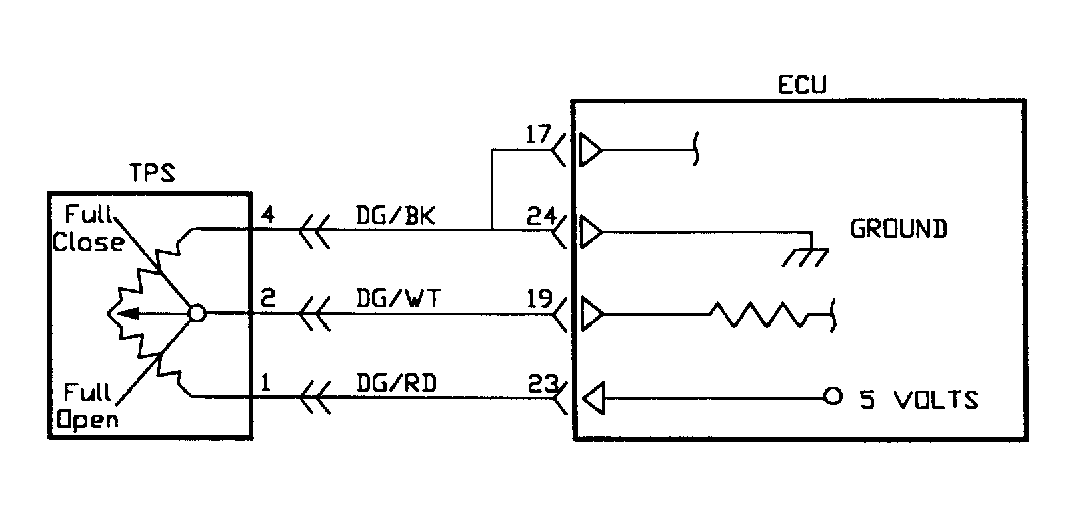
Fig 1: Circuit Diagram DR-6 (1.6L)
G90E15408
Fig 2: Flow Chart DR-6 (1.6L) (1 of 3)
G90D19938
Fig 3: Flow Chart DR-6 (1.6L) (2 of 3)
G90E19939
Fig 4: Flow Chart DR-6 (1.6L) (3 of 3)
G90H19940