LEMON Manuals: Even more car manuals for everyone: 1960-2025
Home >> Mitsubishi >> 1990 >> Precis Base, Automatic >> Repair and Diagnosis >> Engine Performance >> System >> Engine Controls - Tests W/Codes >> Test Charts - 1.6L >> NS-5: Testing Control Relay Circuit
April 5, 2026: LEMON Manuals is launched! Read the announcement.

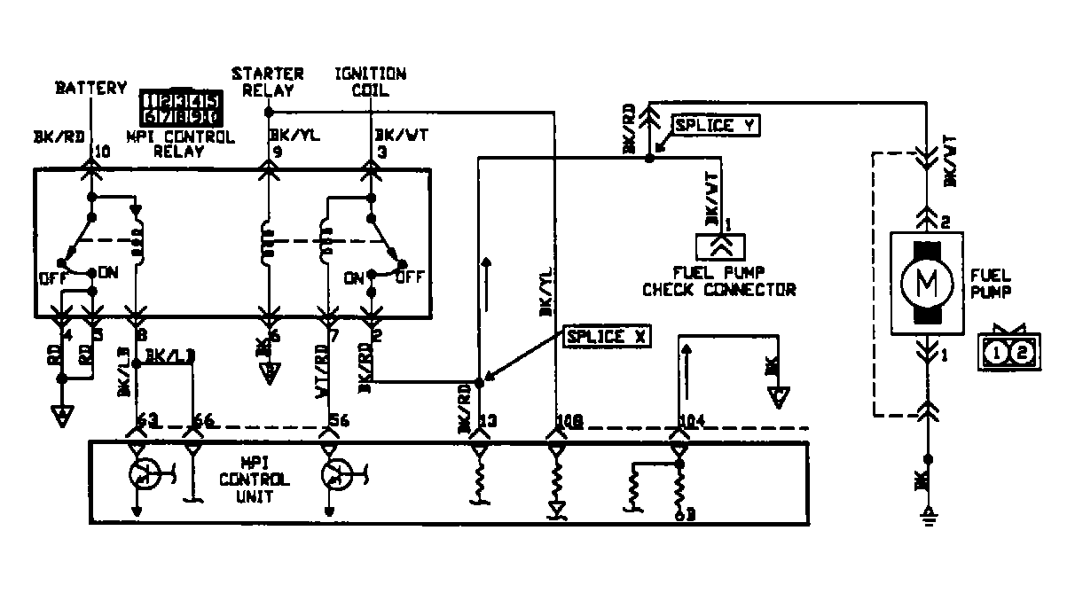
NS-5: Testing Control Relay Circuit

Fig 1: Circuit Diagram NS-5 (1.6L)
G90G15400
Fig 2: Flow Chart NS-5 (1.6L)
G90I19925