LEMON Manuals: Even more car manuals for everyone: 1960-2025
Home >> Mitsubishi >> 1990 >> Precis Base, Automatic >> Repair and Diagnosis >> Engine Performance >> System >> Engine Controls - Tests W/Codes >> Test Charts - 1.8L >> Dr-4: Code 13 Intake Air Temperature Sensor Circuit
April 5, 2026: LEMON Manuals is launched! Read the announcement.

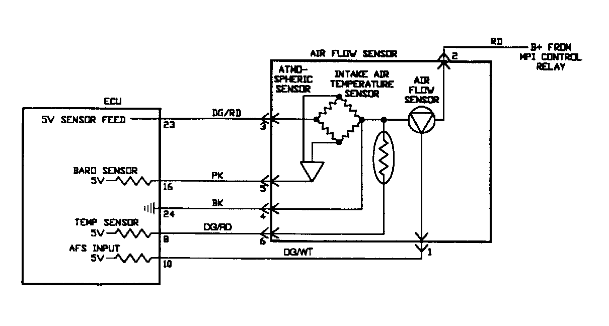
Dr-4: Code 13 Intake Air Temperature Sensor Circuit

Fig 1: Circuit Diagram DR-4 (1.8L)
G90G20145
Fig 2: Flow Chart DR-4 (1.8L)
G90J02094