LEMON Manuals
: Even more car manuals for everyone: 1960-2025
Home
>>
Mitsubishi
>>
1990
>>
Sigma
>>
Repair and Diagnosis
>>
Engine Performance
>>
System
>>
Engine Controls - Tests W/Codes
>>
Code Charts - 3.0L
>>
Dr-4: Code 13 Air Temperature Sensor Circuit
April 5, 2026:
LEMON Manuals is launched!
Read the announcement.
Dr-4: Code 13 Air Temperature Sensor Circuit
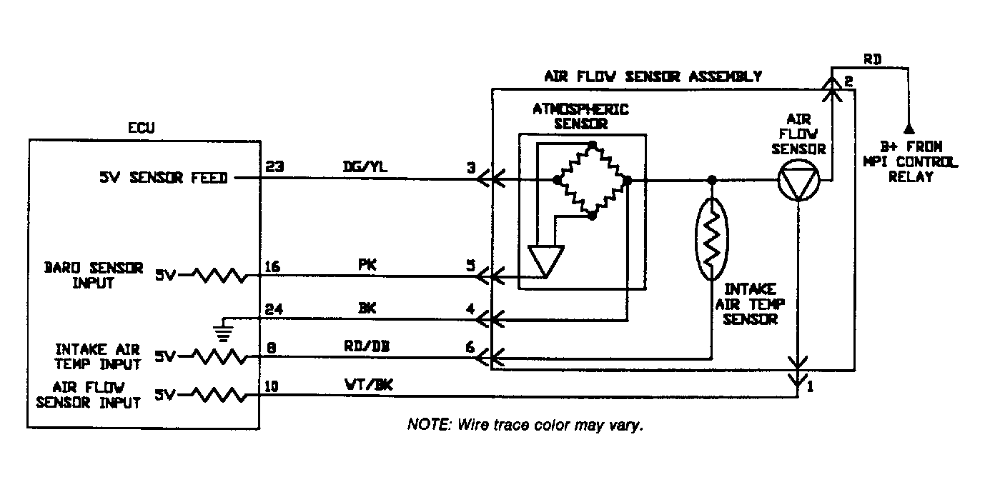
Fig 1: Circuit Diagram DR-4 (3.0L)
Fig 2: Flow Chart DR-4 (3.0L)