LEMON Manuals: Even more car manuals for everyone: 1960-2025
Home >> Mitsubishi >> 1990 >> Van LS >> Repair and Diagnosis >> Engine Performance >> System >> Engine Controls - Tests W/Codes >> Code Charts - 2.4L >> Dr-6: Code 14 Throttle Position Sensor Circuit
April 5, 2026: LEMON Manuals is launched! Read the announcement.

Dr-6: Code 14 Throttle Position Sensor Circuit

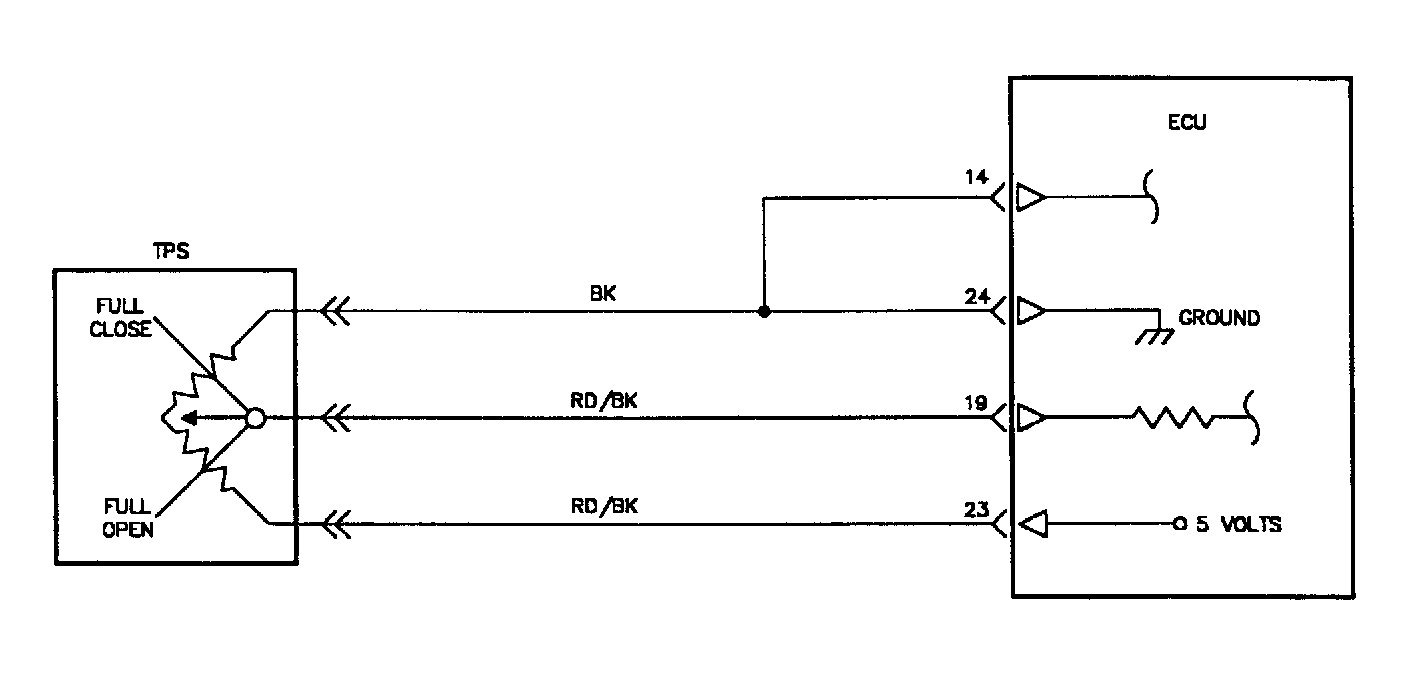
Fig 1: Circuit Diagram DR-6 (2.4L)
G90E20002
Fig 2: Flow Chart DR-6 (2.4L) (1 of 3)
G90F20029
Fig 3: Flow Chart DR-6 (2.4L) (2 of 3)
G90I20030
Fig 4: Flow Chart DR-6 (2.4L) (3 of 3)
G90J20031