LEMON Manuals: Even more car manuals for everyone: 1960-2025
Home >> Mitsubishi >> 1991 >> Eclipse Base, Automatic >> Repair and Diagnosis >> Engine Performance >> System >> Engine Controls - Tests W/Codes - 2.0L >> Code Charts >> Dr-10A: Testing Detonation Sensor
April 5, 2026: LEMON Manuals is launched! Read the announcement.

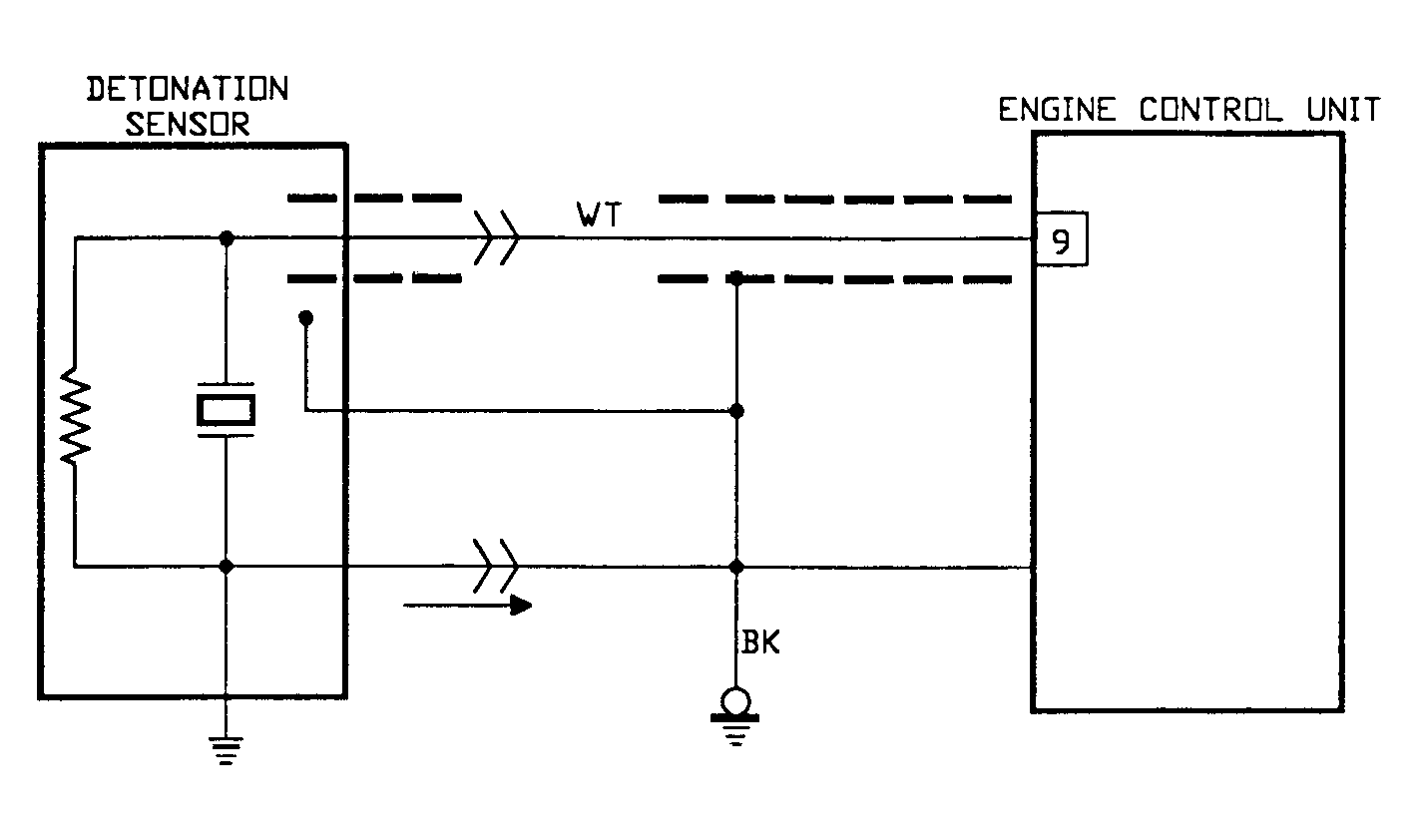
Dr-10A: Testing Detonation Sensor

Fig 1: Driveability Test DR-10A: Circuit Diagram
G91E10771
Fig 2: Driveability Test DR-10A: Diagnostic Flow Chart
G91J11121
Fig 3: Test DR-10A
GB0044648