LEMON Manuals: Even more car manuals for everyone: 1960-2025
Home >> Mitsubishi >> 1991 >> Eclipse Base, Automatic >> Repair and Diagnosis >> Engine Performance >> System >> Engine Controls - Tests W/Codes >> Test Charts - 1.6L >> Dr-8: Code 22 Crank Angle Sensor Circuit
April 5, 2026: LEMON Manuals is launched! Read the announcement.

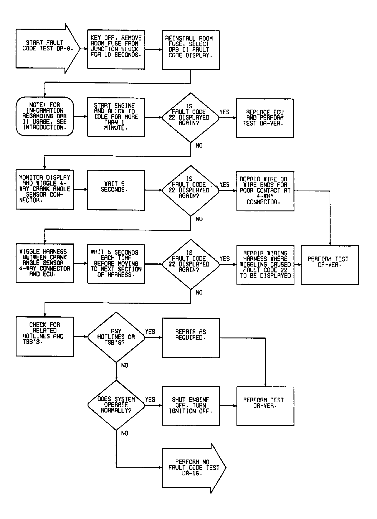
Dr-8: Code 22 Crank Angle Sensor Circuit

Fig 1: Circuit Diagram DR-8 (1.6L)
G90C15398
Fig 2: Flow Chart DR-8 (1.6L)
G90A19943