LEMON Manuals: Even more car manuals for everyone: 1960-2025
Home >> Mitsubishi >> 1991 >> Eclipse Base, Automatic >> Repair and Diagnosis >> Engine Performance >> System >> Engine Controls - Tests W/Codes >> Test Charts - 1.6L >> NS-3: Testing Fuel System
April 5, 2026: LEMON Manuals is launched! Read the announcement.

NS-3: Testing Fuel System

Fig 1: Circuit Diagram NS-3 (1.6L)
G90A15396
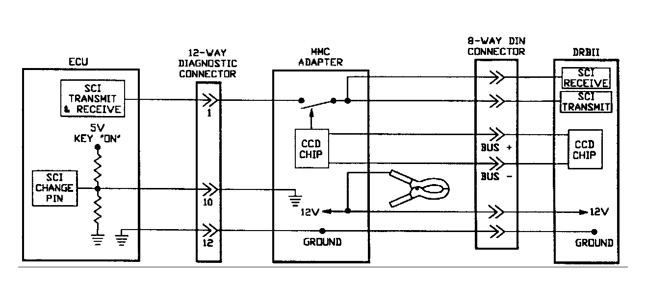
Fig 2: Circuit Diagram NS-3 (1.6L)
G90G15400
Fig 3: Flow Chart NS-3 (1.6L) (1 of 3)
G90D19920
Fig 4: Flow Chart NS-3 (1.6L) (2 of 3)
G90E19921
Fig 5: Flow Chart NS-3 (1.6L) (3 of 3)
G90F19922