LEMON Manuals: Even more car manuals for everyone: 1960-2025
Home >> Mitsubishi >> 1991 >> Eclipse Base, Standard >> Repair and Diagnosis >> Brakes >> Traction Control >> Anti-Lock Brake System >> Component Testing >> Hydraulic Unit Relays Test >> Motor Relay
April 5, 2026: LEMON Manuals is launched! Read the announcement.

Motor Relay

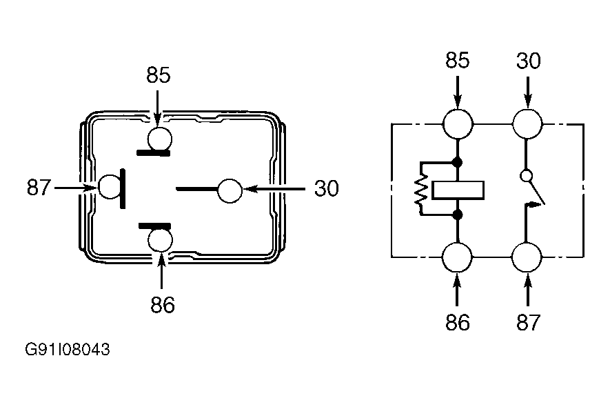
  1. Remove motor relay from hydraulic unit. Using an ohmmeter, measure resistance between relay terminals No. 85 and 86. See Fig 1 . Resistance should be 30-60 ohms. Check for continuity between relay terminals No. 30 and 87. Continuity should not exist.
  2. Apply battery voltage to relay terminal No. 85 and ground terminal No. 86. Check for continuity between terminals No. 30 and 87. Continuity should exist. If relay does not test as specified, replace relay.
Fig 1: Identifying Motor Relay Terminals
G91I08043Courtesy of CHRYSLER MOTORS.