LEMON Manuals: Even more car manuals for everyone: 1960-2025
Home >> Mitsubishi >> 1991 >> Eclipse Base, Standard >> Repair and Diagnosis >> Engine Performance >> System >> Engine Controls - Tests W/Codes - 1.8L >> Code Charts >> Dr-11A: Testing Injectors
April 5, 2026: LEMON Manuals is launched! Read the announcement.

Dr-11A: Testing Injectors

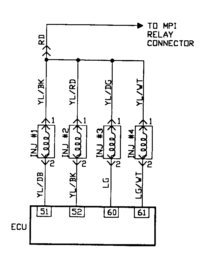
Fig 1: Driveability Test DR-11A: Circuit Diagram
G91C10704
Fig 2: Driveability Test DR-11A: Diagnostic Flow Chart (1 of 5)
G91D10739
Fig 3: Driveability Test DR-11A: Diagnostic Flow Chart (2 of 5)
G91G10740
Fig 4: Driveability Test DR-11A: Diagnostic Flow Chart (3 of 5)
G91H10741
Fig 5: Driveability Test DR-11A: Diagnostic Flow Chart (4 of 5)
G91I10742
Fig 6: Driveability Test DR-11A: Diagnostic Flow Chart (5 of 5)
G91J10743