LEMON Manuals: Even more car manuals for everyone: 1960-2025
Home >> Mitsubishi >> 1991 >> Eclipse Base, Standard >> Repair and Diagnosis >> Engine Performance >> System >> Engine Controls - Tests W/Codes >> Test Charts - 1.5L >> Dr-7: Code 21 Coolant Temperature Sensor Circuit
April 5, 2026: LEMON Manuals is launched! Read the announcement.

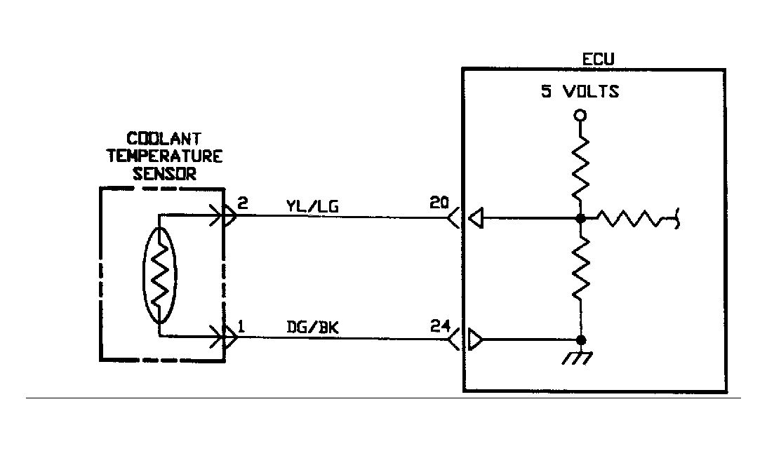
Dr-7: Code 21 Coolant Temperature Sensor Circuit

Fig 1: Circuit Diagram DR-7 (1.5L)
G90J15379
Fig 2: Flow Chart DR-7 (1.5L) (1 of 2)
G90B15447
Fig 3: Flow Chart DR-7 (1.5L) (2 of 2)
G90C15448