LEMON Manuals: Even more car manuals for everyone: 1960-2025
Home >> Mitsubishi >> 1991 >> Eclipse Base, Standard >> Repair and Diagnosis >> Engine Performance >> System >> Engine Controls - Tests W/Codes >> Test Charts - 1.8L >> NS-5: Code 22 Crank Angle Sensor
April 5, 2026: LEMON Manuals is launched! Read the announcement.

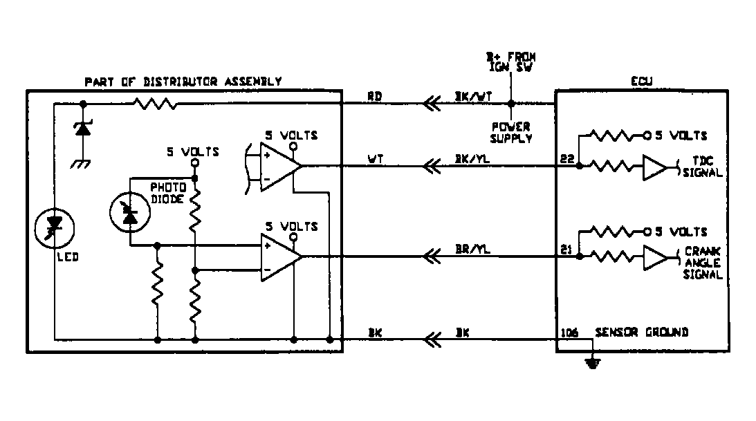
NS-5: Code 22 Crank Angle Sensor

Fig 1: Circuit Diagram NS-5 (1.8L)
G90C20141
Fig 2: Flow Chart NS-5 (1.8L) (1 of 2)
G90B02085
Fig 3: Flow Chart NS-5 (1.8L) (2 of 2)
G90D02086