LEMON Manuals: Even more car manuals for everyone: 1960-2025
Home >> Mitsubishi >> 1991 >> Precis RS, Automatic >> Repair and Diagnosis >> Engine Performance >> System >> Engine Controls - System/Component Tests >> Idle Control System >> ISC Servo Stepper Motor (3.0L)
April 5, 2026: LEMON Manuals is launched! Read the announcement.

ISC Servo Stepper Motor (3.0L)

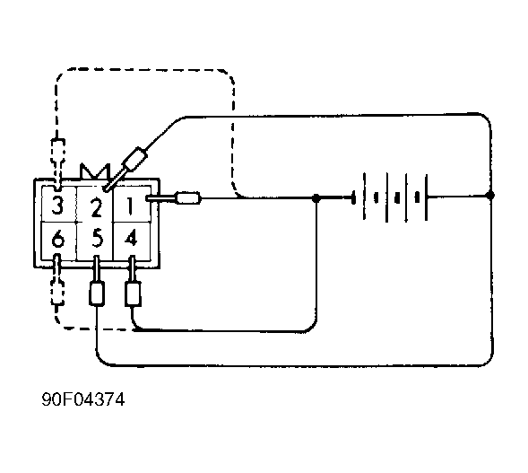
  1. Measure resistance between terminals No. 2 and 3, then No. 2 and 1. Measure resistance between terminals No. 5 and 4, then No. 5 and 6. Resistance should be 28-33 ohms. To check stepper motor operation, remove 6-terminal ISC stepper motor connector. See Fig 1 .
  2. Connect positive lead of 6 volt battery to ISC motor terminals No. 2 and 5. Connect negative lead to terminals No. 1 and 4, then No. 3 and 4, then No. 3 and 6, then No. 1 and 6, and finally No. 1 and 4. If stepper motor moves as voltage is applied to each of the 2 terminals, the stepper motor is operating correctly.
Fig 1: Testing ISC Servo (3.0L)
G90F04374Courtesy of HYUNDAI MOTOR CO.
NOTE: For basic ignition checks, see BASIC TESTING article in the ENGINE PERFORMANCE Section