LEMON Manuals: Even more car manuals for everyone: 1960-2025
Home >> Mitsubishi >> 1992 >> 3000GT Base, Automatic >> Repair and Diagnosis >> Engine Performance >> System >> Engine Controls - Tests W/Codes >> Code Charts - DOHC >> Dr-5: Code 14, Throttle Position Sensor Circuit
April 5, 2026: LEMON Manuals is launched! Read the announcement.

Dr-5: Code 14, Throttle Position Sensor Circuit

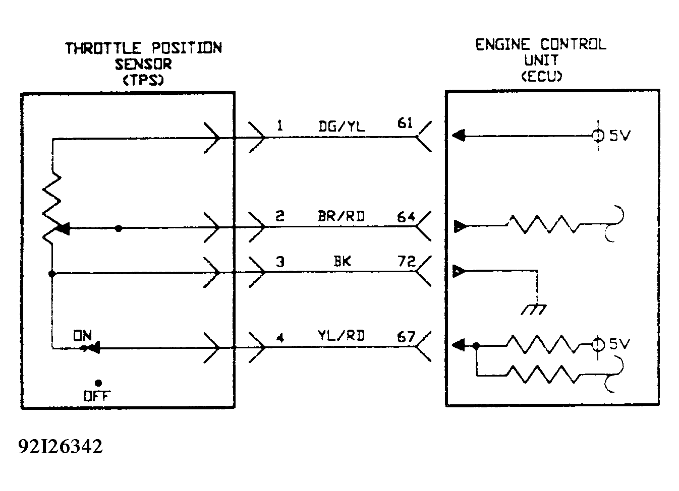
Fig 1: Test DR-5 Schematic - Code 14 - DOHC Throttle Position Sensor Circuit
G92I26342
Fig 2: Test DR-5 Flow Chart - Code 14 - DOHC (1 Of 5) Throttle Position Sensor Circuit
G92J26343
Fig 3: Test DR-5 Flow Chart - Code 14 - DOHC (2 Of 5) Throttle Position Sensor Circuit
G92A26344
Fig 4: Test DR-5 Flow Chart - Code 14 - DOHC (3 Of 5) Throttle Position Sensor Circuit
G92B26345
Fig 5: Test DR-5 Flow Chart - Code 14 - DOHC (4 Of 5) Throttle Position Sensor Circuit
G92C26346
Fig 6: Test DR-5 Flow Chart - Code 14 - DOHC (5 Of 5) Throttle Position Sensor Circuit
G92D26347