LEMON Manuals: Even more car manuals for everyone: 1960-2025
Home >> Mitsubishi >> 1992 >> 3000GT Base, Automatic >> Repair and Diagnosis >> Engine Performance >> System >> Engine Controls - Tests W/Codes >> Code Charts - SOHC >> Dr-5: Code 14, Throttle Position Sensor Circuit
April 5, 2026: LEMON Manuals is launched! Read the announcement.

Dr-5: Code 14, Throttle Position Sensor Circuit

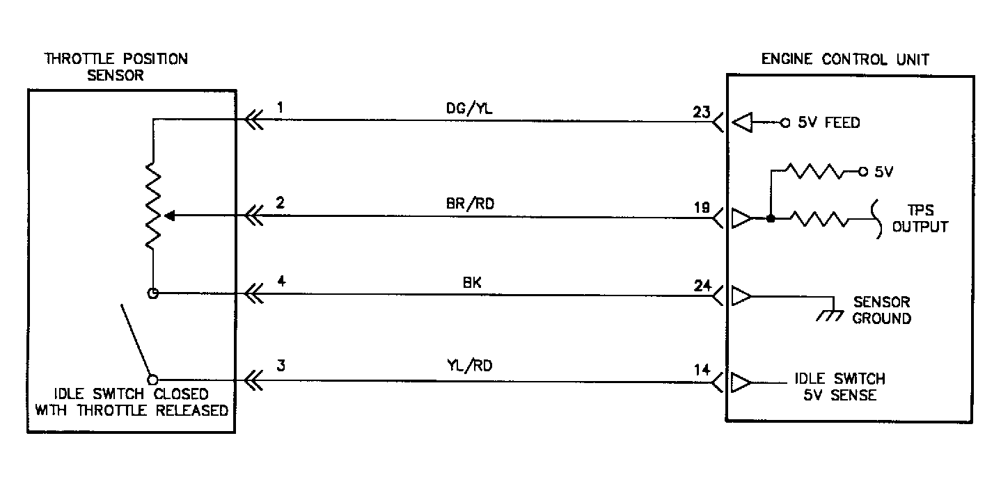
Fig 1: Test DR-5 Schematic - Code 14 - SOHC Throttle Position Sensor Circuit
G92C26064
Fig 2: Test DR-5 Flow Chart - Code 14 - SOHC (1 Of 2) Throttle Position Sensor Circuit
G92J26061
Fig 3: Test DR-5 Flow Chart - Code 14 - SOHC (2 Of 2) Throttle Position Sensor Circuit
G92B27160