LEMON Manuals: Even more car manuals for everyone: 1960-2025
Home >> Mitsubishi >> 1992 >> 3000GT Base, Standard >> Repair and Diagnosis >> Engine Performance >> System >> Engine Controls - Tests W/Codes >> Code Charts - DOHC >> Dr-15: Code 43, EGR Temperature Sensor Circuit
April 5, 2026: LEMON Manuals is launched! Read the announcement.

Dr-15: Code 43, EGR Temperature Sensor Circuit

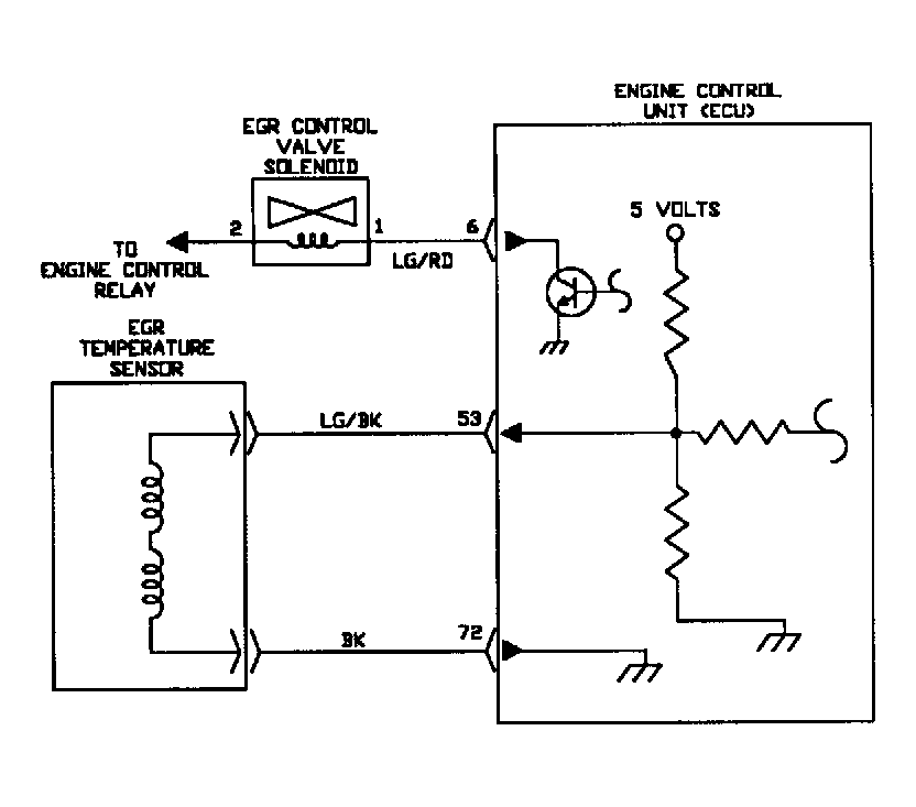
Fig 1: Test DR-15 Schematic - Code 43 - DOHC EGR Temperature Sensor Circuit
G92B26386
Fig 2: Test DR-15 Flow Chart - Code 43 - DOHC (1 Of 4) EGR Temperature Sensor Circuit
G92C26387
Fig 3: Test DR-15 Flow Chart - Code 43 - DOHC (2 Of 4) EGR Temperature Sensor Circuit
G92G26431
Fig 4: Test DR-15 Flow Chart - Code 43 - DOHC (3 Of 4) EGR Temperature Sensor Circuit
G92D26388
Fig 5: Test DR-15 Flow Chart - Code 43 - DOHC (4 Of 4) EGR Temperature Sensor Circuit
G92E26389