LEMON Manuals: Even more car manuals for everyone: 1960-2025
Home >> Mitsubishi >> 1992 >> 3000GT Base, Standard >> Repair and Diagnosis >> Engine Performance >> System >> Engine Controls - Tests W/Codes >> Code Charts - SOHC >> Dr-3: Code 12, Airflow Sensor Circuit
April 5, 2026: LEMON Manuals is launched! Read the announcement.

Dr-3: Code 12, Airflow Sensor Circuit

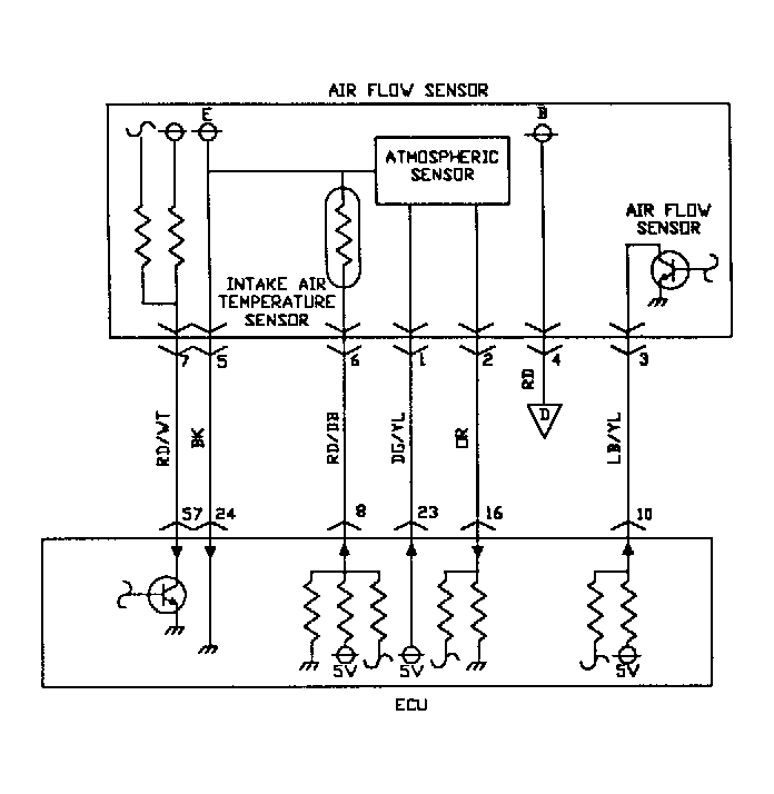
Fig 1: Test DR-3 Schematic - Code 12 - SOHC Airflow Sensor Circuit
G92C26056
Fig 2: Test DR-3 Flow Chart - Code 12 - SOHC (1 Of 3) Airflow Sensor Circuit
G92D26057
Fig 3: Test DR-3 Flow Chart - Code 12 - SOHC (2 Of 3) Airflow Sensor Circuit
G92E26058
Fig 4: Test DR-3 Flow Chart - Code 12 - SOHC (3 Of 3) Airflow Sensor Circuit
G92F26059