LEMON Manuals: Even more car manuals for everyone: 1960-2025
Home >> Mitsubishi >> 1992 >> 3000GT SL, Standard >> Repair and Diagnosis >> Engine Performance >> System >> Engine Controls - Tests W/Codes >> Code Charts - DOHC >> Dr-20: Code 62, Variable Induction Control System Test
April 5, 2026: LEMON Manuals is launched! Read the announcement.

Dr-20: Code 62, Variable Induction Control System Test

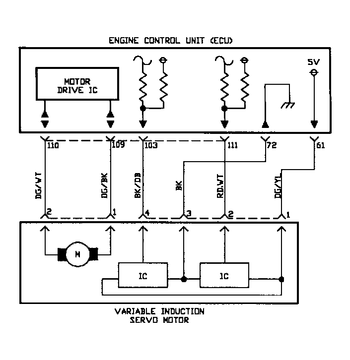
Fig 1: Test DR-20 Schematic - Code 62 - DOHC Variable Induction Control System Test
G92E26405
Fig 2: Test DR-20 Flow Chart - Code 62 - DOHC (1 Of 4) Variable Induction Control System Test
G92F26406
Fig 3: Test DR-20 Flow Chart - Code 62 - DOHC (2 Of 4) Variable Induction Control System Test
G92G26407
Fig 4: Test DR-20 Flow Chart - Code 62 - DOHC (3 Of 4) Variable Induction Control System Test
G92H26408
Fig 5: Test DR-20 Flow Chart - Code 62 - DOHC (4 Of 4) Variable Induction Control System Test
G92I26409