LEMON Manuals: Even more car manuals for everyone: 1960-2025
Home >> Mitsubishi >> 1992 >> Expo Base, Standard >> Repair and Diagnosis >> Engine Performance >> System >> Engine Controls - Tests W/Codes >> Code Charts >> Dr-8A: Code 23, Testing No. 1 Cylinder TDC Sensor
April 5, 2026: LEMON Manuals is launched! Read the announcement.

Dr-8A: Code 23, Testing No. 1 Cylinder TDC Sensor

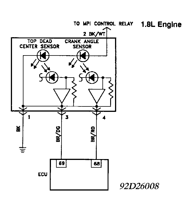
Fig 1: Test DR-8A Schematic - Code 23 Testing No. 1 Cylinder TDC Sensor
G92D26008
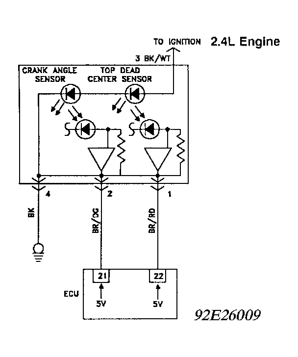
Fig 2: Test DR-8A Flow Chart - Code 23 (1 OF 2) Testing No. 1 Cylinder TDC Sensor
G92E26009
Fig 3: Test DR-8A Flow Chart - Code 23 (2 OF 2) Testing No. 1 Cylinder TDC Sensor
G92H26010